MX452 LED Strip Fixture
Instruction Manual
Installation Instructions
Read the Instruction manual carefully to ensure proper installation.
Please keep this instruction manual for future use!
WARNING
To avoid the risk of fire, or electric shock this product should be installed, inspected, and maintained by a qualified electrician only. Installation should be completed by an individual familiar with the construction and operation of the luminaire. Installation of luminaire must be in accordance with the national and local building and electrical codes.
Safety Warning:
To avoid electric shock:
Be certain electrical power is OFF before and during installation and maintenance. The luminaire must be supplied by a wiring system with an equipment grounding conductor.
To avoid burning hands:
Make sure the lens and housing are cool when performing maintenance.
To avoid product degradation:
Make sure the wire supply voltage is the same as the luminaire supply Use proper supply wiring as specified on the luminaire nameplate. Avoid use in environments containing sulfur, chlorine, or other halides, methyl acetate or ethyl acetate, cyanoacrylates, glycol ethers, formaldehyde, or butadiene.
Notes:
Instructions do not cover all details and all possible product configurations.
Do not restrict luminaire ventilation.
Ensure LED luminaire is not covered with material that will prevent convection or conduction cooling.
Ensure LED luminaire has the correct polarity before installation
Avoid exposing wiring to metal edges and sharp objects.
Maintenance:
Perform visual, electrical, and mechanical inspections on a regular basis. The environment and frequency of use should determine
this. However, it is recommended that checks be made at least once a year. Electrically check to make sure that all connections
are clean and tight. Mechanically check that all parts are properly assembled.
![]() | ![]() | ![]() |
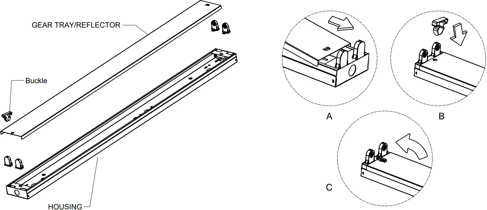
Exploded Views
Surface mounted
Suspended mounted






















