TCOSL1 Conical Single Lever Kitchen Mixer Tap
User Guide
TCOSL1 Conical Single Lever Kitchen Mixer Tap
PLEASE LEAVE THESE INSTRUCTIONS FOR YOUR CUSTOMER.
FOR REPLACEMENT PARTS & TECHNICAL ADVISE CALL 0870 789 5108
5 Year warranty Terms and Conditions:
In the unlikely event that you should experience any defect in the materials or workmanship of your new Rangemaster mixer within FIVE years of purchase, the purchaser’s sole remedy shall be the replacement (at the manufacturer’s discretion) of all or any part of the product that is defective. All working parts and valves are guaranteed for a period of FIVE years from purchase. Decorative surface finishes and O-rings are guaranteed for FIVE year from the date of purchase provided that our advice concerning care has been observed and no scouring agents have been used.
This is provided that the mixer has been used for normal domestic purposes in the UK or Eire and that the care, installation and maintenance instructions have been observed. The warranty extends to the original purchaser only. You should retain a copy of your dated invoice as proof of purchase to validate any claims under this guarantee.
Marks, scuffs and scratches caused by improper installation or accidental damage are not covered by this guarantee. Neither are shade variations or any damage or defect caused by incorrect installation or abuse of the fitting.
As we are continuously improving and developing our range of products, finishes & colours, in the event of a valid claim, we may not be able to provide an identical replacement for the defective product throughout the guarantee period. Where an identical product is no longer available, we will supply the nearest equivalent from our then current product range. In assessing your claim, we must be given the opportunity to inspect the product as installed prior to removal. Any product returns must be packaged as received and complete.
No other warranties, express or implied, are made, including merchantability or fitness for a particular purpose. Under no circumstances shall the manufacturer be liable for any loss or damage arising from the purchase, use or inability to use this product, or for any special, indirect, incidental or consequential damages. No liability is accepted for consequential damage to other household fixtures, fittings or furnishings arising from this claim, even if attached to the product. No installer, dealer, agent or employee of Aga Rangemaster Limited has the authority to modify the obligations or limitations of this warranty.
Care Instructions for your Kitchen Sink Mixer:
To maintain the appearance of this tap, ensure that it is regularly cleaned only using a clean, soft damp cloth. A solution of warm water and a mild liquid detergent may be used where necessary, and then the fitting rinsed thoroughly and wiped dry. Any other cleaning action will invalidate your warranty.
Abrasive cleaners, scouring cleaners and acidic cleaners must not be used under any circumstances. Avoid contact with all solvents (including chlorinated solvents, ketones or acetones as these may result in surface deterioration or etching). Also avoid contact with any harsh household chemicals such as oven cleaners, drain cleaners, rust removers, paint strippers, bar keepers friend or Brasso.
Where the tap has a removable aerator on the spout exit it can be removed and cleaned periodically to maintain optimum flow performance.
Important Technical Data:
- Min / Max operating pressure: 0.6 / 5.5 bar*
- Tap hole size and centres: ∅35mm
- Flow characteristics: Single flow
Recommended / Maximum hot water temperature: 46 / 70°C*
*If these temperatures or pressures are exceeded, even for short periods, damage can result. In these instances a thermostatic mixing or pressure reducing valve should be installed.
This product is either WRAS approved or manufactured in accordance with recognised European standards. Please ensure that your Kitchen mixer is fitted in accordance with Local Water Byelaws. Where hot and cold water mix within the mixertap (single flow), then suitable non-return (check) valves should be installed to the hot and cold supplies to prevent backflow (can be factory fitted – see parts list).
Hot and cold supply pressures should be as closely balanced as possible for best results. Supply pipes should maintain the maximum diameter until immediately before the fitting. Always use the tail pipes provided. The differential between the hot and cold water supply temperatures should be sufficient to allow correct mixing function.
These installation guidelines have been prepared for your direction and you must exercise due care at all times. We do not accept responsibility for problems that may occur through improper installation. Whilst assembling the tap take care not to accidentally loosen any factory fixed assemblies.
This tap has been 100% assembly tested; therefore you may expect a small residual amount of water to remain in the tap when delivered.
Any water marks can be removed using the above care advice.
Installation Preparation:
All parts should be removed from their packaging and inspected for completeness and transport damage prior to installation.
Before installing the new mixer it is essential that you thoroughly flush through the supply pipes in order to remove any remaining solder, swarf or impurities from your system. Failure to carry out this simple procedure could cause damage to the workings of the mixertap, reduce flow rates and invalidate the warranty.
We recommend installing isolation valves to both the hot and cold feed pipes in an accessible position. This will help to ease any future required maintenance to the product.
Shut off the water heating system and ensure that the mains stopcock is closed. Ensure both the hot and cold water supplies are isolated before commencing installation. If replacing an existing tap, remove the tap & clean the end of the feed pipes using wire wool, the tap hole areas should be free from dirt and sealant. You should ensure that the product will both fit into the depth of the mounting surface available and reach the required outlet positions before installation. Loosely position the tap to check if any alteration to the existing pipework is required, if this is the case do this now.
Installation:
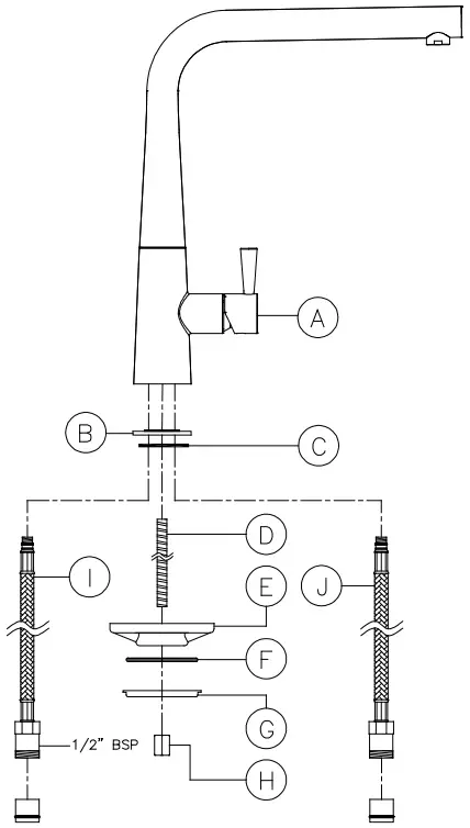
- Screw studded rod (D) into the base of the tap (A).
- Place the upper seal (C) into the base plinth (B) then place the base plinth (B) onto the bottom of the tap (A).
- Screw the hot & cold water tail pipes (I & J) into the base of the tap (A) as shown.
- Place the mixertap (A), base plinth (B) and upper seal (C), onto the sink/worktop, passing the tail pipes (I & J) and studded rod (D) through the tap hole.
- Pass the triangular stabiliser (E), lower gasket (F) and then metal horseshoe (G) over the studded rod (D) and around the flexible tail pipes (I & J)
- Fasten the fixing nut (H) securely onto the fixing stud (D) to fix the tap (A) into its correct location.
- Connect the hot and cold tail pipes (I & J) to the water mains using ½” BSPx15mm compression fittings.

| Key: | Description: | Qty |
| A | Mixertap body | 1 |
| B | Base plinth | 1 |
| C | Upper seal | 1 |
| D | Fixing stud | 1 |
| E | Triangular stabilising bracket | 1 |
| F | Lower gasket | 1 |
| G | Metal horseshoe | 1 |
| H | Fixing nut | 1 |
| I | Hot Flexi tail | 1 |
| J | Cold Flexi tail | 1 |
After installation:
Once you have visually checked the installation of the new tap and all connections, ensure that all other fittings are closed except the new tap which should be left open.
Turn on your water heating system and ensure that your mains stopcock is open. Reconnect both the hot and cold water supplies to this fitting.
Check the function of flow and function of hot, cold and mixed water.
Turn off the tap and check carefully for any leaks around all connections on the fitting and adjoining plumbing.
If possible return to the installation after a longer period to double check for slower leaks. If pressure testing equipment is available check the installation to the maximum recommended pressure.
Clean the tap to remove any marks created during installation as instructed then place a bag over the product to protect the tap until it is ready for use.
The installation should be periodically checked for damage, if the property is left unattended for a prolonged period we recommend isolating water supplies.



















