H-1662, H-2897 H-2898, H-3491
DOG WASTE SYSTEM

RECOMMENDED TOOLS

PARTS

ASSEMBLY
NOTE: Dog Waste System is designed to mount to 2 x 2″ steel square or channel post (hardware included). Recommend mounting to H-1662 8 ft. u-channel post. The system can also be mounted to a fence, wall, or wood post (hardware not included).
- Drive H-1662 post approximately 24″ into the ground at the desired location. (See Figure 1)

- Mount waste receptacle to the lower section of the post using the receptacle’s pre-drilled holes and H-1662-HDWR hardware kit. (See Figure 2)

- Remove the two keys from the back of the dispenser. Insert key into the lock on the front access panel and turn to unlock. Pull the lower part of the front access panel approximately 2″ towards you and lift up to release and separate the front access panel from the body of the dispenser. (See Figure 3)

- The dispenser has two pre-drilled holes through the back wall. Mount back wall of the dispenser to steel post using the H-2897 hardware kit. (See Figure 4)

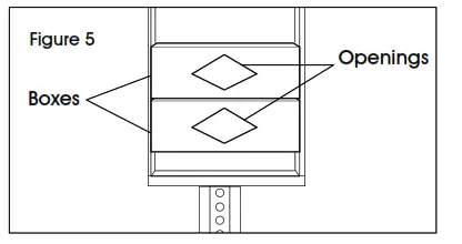
- Fill dispenser with two boxed rolls (S-15585 dog waste sample bags). Place the two boxes on top of each other on the shelf of the dispenser with the opening of the boxes facing the front. Reinstall the front access panel and lock with the key. (See Figure 5)

- Reach through the two diamond-shaped openings and find the edges of the bags. Pull until the bags exit the dispenser. (See Figure 6)

- Mount optional sign to the top of the post using the H-1662-HDWR hardware kit. (See Figure 7)

1-800-295-5510
uline.com


























