OZtrail 10000428 Single Fast Frame Ensuite

HELPFUL HINT
OZtrail advises you to read this use to ensure all parts are present and to become familiar with the operation of your tent.
Fast Frame Ensuite Single

FEATURES
- Fast Frame system provides quick set up, greater strength and improved water shedding
- Heavy duty polyester fabric with silver coated inner walls for total privacy
- Vented roof for ventilation and removable fly panel
- Removable floor with mesh drains for ease and versatility
- Adjustable multi-position toilet paper holder
- Internal multi-pocket toiletry organizer
- Adjustable towel rail can be used inside or outside the unsuited
- Reinforced central hanging hook supports heavy showers
- Internal access ports for shower hoses or power cords
Thank you for purchasing a quality OZtrail product. Please keep this Owner’s Manual in a safe and dry place, it contains important and helpful information.
The following parts are included for Product Code:
MPE-FFS-D
PART DESCRIPTION

PLEASE NOTE
Due to our policy of continual product features of the product may vary from details within this Owners Manual.
HELPFUL HINT
We recommend that you set up this product before you leave for your trip. Check that all parts are present and that you familiarize yourself with the assembly and disassembly of the OZtrail dealer will be happy to help you.
ASSEMBLY INSTRUCTIONS
STEP 1: CHOOSING THE SITE
Select a sheltered camp site protected from the wind that will not allow water to pond under the Ensuite floor. Clear a level area of all stones, twigs, etc.
STEP 2: LAY OUT THE ENSUITE
Unpack the contents of your EnSite. Release and remove the ties around the packed EnSite. Carefully unfold and lay out your EnSite ensuring that you have the door facing in the direction you require.
HELPFUL HINT
Be careful not to twist or force the frame assembly when unfolding the Ensuite. Until you are locking the central roof hub into its final position in Step 4, it is not
necessary at any stage of Ensuite assembly to apply more than a small force on the frame. If a small force is not sufficient to carry out each described step, then realign the frame and try again.
STEP 3: PEG DOWN THE ENSUITE
Peg out the Ensuite at the four corner peg points. These peg points are indicated in Figure 1. Anchor the Ensuite to the ground by inserting the pegs through the loops at the base corners of the Ensuite at an angle of 45 degrees as indicated in Figure 2. Firm but not tight.
STEP 4: EXTENDING THE ENSUITE FRAME AND STANDING UP THE ENSUITE
Before extending the corner wall poles to their full height, ensure the corner wall poles are facing upward and the central roof hub is resting towards the ground in the middle of the floor, as indicated in Figure 3.
Next pull vertically up on the central roof hub with moderate force to lock the central roof hub into its final position, now apply a small compression force on the wall to roof frame elbow to lock hub into place, as indicated in figure 4. Beginning at one corner pole now extend the pole to its full telescopic height until the locking pin locks into place, repeat this process for the other three corner poles as you walk around the tent, the tent will stand up during this step as indicated in Figure 5.
ASSEMBLY INSTRUCTIONS CONT

STEP 5: INSTALL THE RAIN FLY
Locate the rain fly and carefully draw over the top of your unsuited. Hook rain fly to each corner of the unsuited frame.
STEP 6: GUY ROPES
Peg out the guy ropes, make a loop (about 30 to 50 cm long) with the slider on the end of the rope and peg out as far as possible from shelter, as indicated in Figure 6. Ensure all peg down points are utilized and all guy ropes are attached firmly and remain firm, as indicated in Figure 7.

IMPORTANT
In severe conditions the shelter should be dismantled
WARNING
At no stage is it necessary to apply any excessive force to achieve any of the above steps. The frame is tensioned and if the correct action is applied the EnSite will erect with little or no force required. Excessive force will result in damage to the frame or skin and this is not covered by warranty.
DISASSEMBLY INSTRUCTION
STEP 1:
Release guy ropes.
STEP 2:
To collapse the ensuite, ensure windows and doors are open to allow air to escape from inside the Ensuite. Beginning at one corner pole of the Ensuite frame, release the locking pin holding the telescopic pole in it extended position, the pole will retract to approximately half height, repeat this process for the other three corner poles of the Ensuite frame as you walk around the Ensuite. The Ensuite will collapse during this step and the tension will be removed from the central roof hub and the wall/roof frame elbow. To unlock and release the wall to roof frame elbow hub apply a small expanding force to the poles on either side of the elbow, as indicated in Figure 8. Now reach over a place a small force downwards onto the central roof hub to collapse the hub towards ground level, as indicated in figure 3.
STEP 3:
Remove pegs with a claw hammer or peg puller. Do not remove pegs from the ground by pulling on Ensuite base as this may cause damage to the Ensuite.
STEP 4:
Collect and gather the Ensuite and frame into a compact cylindrical bundle with only ever using a small force at any time. Ensure all loose fabric is folded within the edges of the Ensuite frame.
STEP 5:
Once the Ensuite bundle is rolled up, place the provided tie straps around it and secure firmly but not tight and place into the tent carry bag with peg bag, instruction booklet and other miscellaneous parts. If the Ensuite will not fit into carry bag, unroll and roll again paying more attention to folding the fabric more carefully and ensuring air has escaped successfully during collapsing the Ensuite.

WARNING
At no stage is it necessary to apply any excessive force to achieve any of the above steps. The frame is tensioned, but if the correct action is applied the Ensuite will pack up with little or no force required. Excessive force will result in damage to the frame and this is not covered by warranty.
WARRANTY STATEMENT
0Ztrail warrants this product against defects for a period of one year from the date of purchase. 0Ztrail will repair or replace the product, at its discretion, should a warrantable defect arise within the warranty period. If the exact model is unavailable a model of equivalent nature will be substituted at our discretion. This warranty excludes faults and failures caused by improper use and abuse; fair wear and tear; or failure to follow instructions regarding care and maintenance. Products used for a commercial nature are not covered by this warranty against defects. A warranty may be claimed by returning the product to its pl proof-of- purchase clearly showing the date and detail of the purchase. You may also contact OZtrail Leisure Products, by phone: 073193 1110, or in writing: PO Box 1110, Eagle Farm QLD 4009, by email: [email protected]. The benefits under 0Ztrail’s warranty against defects addition to other rights and remedies under law in relation to goods. of purchase, with a detailed are Our goods come with guarantees that cannot be excluded under the Australian Consumer Law. You are entitled to a replacement or refund for a major failure and for compensation for any other reasonably foreseeable loss or damage. You are also entitled to have the goods repaired or replaced if the goods fail to be of acceptable quality and the failure does not amount to a major failure.
For more detailed information and an explanation of these terms see www.oztrail.com.au/warranty
PLEASE NOTE
Accessories shown may be for display purposes only and not included with the product. Due to our policy of continual features of this product may vary from what is stated.
AVOIDING MOULD AND MILDEW
You should always pack your products both clean and completely dry. In many climates there is a risk of mould or mildew damage to materials that are
condition is not covered by the clean you products with warm soapy water and allow them to dry completely after rinsing them with fresh water.
CARING FOR YOUR SHOCK CORD
Shock cord is designed to help you keep your tent poles organized and to stretching the cord or dropping the poles will cause shock cord failure and this condition is not covered by the warranty.
INSURANCE, YOUR PROTECTION AGAINST THE UNEXPECTED
Most people have product problems from unexpected sources. Extreme weather is a good example of an unexpected problem. Make sure that you place you expensive camping products on your Home and Contents Insurance policy. Most good Insurers will cover the storm damage to your tent or other products that falls outside of the warranty.
- Temporary use only. Although our fabrics are treated for extra UV resistance, continuous exposure to sun light will reduce the life of the fabric. Fading of colour is an early warning sign. OZtrail products are not designed as permanent dwellings or structures.
- During rain always lower awnings to avoid water ponding.
- Never store a wet and/or soiled tent/shelter; as mildew and corrosion can form. Always allow the tent to dry completely before packing and stowing. If mildew OCCurs, use a soft bristle brush or sponge with mild detergent to clean it off. After beach use or wet weather treat all zips, poles and pegs with silicon spray.\
- The elastic shock cord within the poles is provided for easy assembly of the poles. The shock cord is not required for any structural reason. The poles and tent perform perfectly well without the shock cord. Age, over stretching and mishandling may cause failure. Shock cord is not covered by warranty. t’s easy to replace, see the instructions on page 12.
- Sometimes the zipper coil bursts open or does not close. This could be due to wear or metal fatigue. The problem can be easily fixed, see the instructions on page 15.
- Always carry a roll of heavy duty tape for simple repairs to small rips, cuts and ash burns. This not only blocks the hole, it will prevent further tearing. Heavy Duty tape is also helpful for emergency pole repairs and many other uses around the camp site.
- When removing pegs, do not use the webbing or corner of the tent as your handle. Either use another peg, a peg remover or the claw of a hammer hooked under the peg to remove them.
HELPFUL HINT conditioning YOUR NEW TENT
Once you get your new tent home, it is important to condition the tent. Simply pitch your tent and wet it down with your garden hose until the fabric and all seams are saturated. Pay particular attention to the seams – the thread swells when wet and blocks the needle holes. The needle holes also shrink around the thread. The fabric also benefits from this because the fibre swells into the weave and the waterproof treatment settles within the fabric. Let the tent dry completely before repeating this wetting and drying process until there is no leakage during hosing. Always pack your tent away dry.
MATERIALS:
Pole: Fiberglass and steel
CARE INSTRUCTIONS:
Wipe down all metal surfaces with fresh soft brush or sponge with fresh water and mild detergent only and rinse with fresh clean water. Allow to dry thoroughly. Never pack away damp, dirty or wet. After beach use or wet conditions treat all zips with silicon spray.
IMPORTANT SAFETY & CARE INFORMATION
Please read before setting up your tent/shelter
CAMP SAFE – SAFETY HABITS
Fabrics used in the construction of retardant properties. This treatment reduces the rate at which the fabric will burn if it comes into direct contact with a
The application of any foreign substance to the fabric such as some water proofing treatments or insect sprays may render the fire retardant treatment process ineffective. The following pages cover several safety tips that will help you avoid some of the common hazards encountered on a aping trip.
proofing treatments or insect sprays may render the fire retardant treatment process ineffective. The following pages cover several safety tips that will help you avoid some of the common hazards encountered on a aping trip.
- Gas, fumes or lack of oxygen within the tent/shelter could result in unconsciousness, brain damage and even death.
- Always ensure your tent/shelter is well ventilated. Even on the coldest night do not close every vent, window and door. A well ventilated tent not only maintains healthy Oxygen levels but also reduces condensation build up inside the tent.
- Do not use fuel burning, oxygen consuming devices inside the tent. This includes candles, gas lanterns, kerosene lamps, stoves, cooking and heating appliances.
- Do not use gas appliances of any kind inside the tent/shelter.
TO PREVENT INJURY CAUSED BY FIRE
- Do not pitch the tent/shelter near camp fire or any other flame source
- Do not use candles, matches or any other flame source in or near the tent (this includes stoves, cooking equipment, lighting and heating appliances)
- Only use recommended water repellent compounds on thee tent/shelter fly
- Do not spray tent fabrics with insecticides

TO PREVENT INJURY CAUSED BY ELECTRICITY
- Always exercise care when using electricity and electric lighting in and near tents/shelters. Only use 12 volt lighting.

IMPORTANT SAFETY & CARE INFORMATION CONT
To prevent injury caused by your camping environment
- Do not pitch your tent/shelter on an area that could get flooded

- Do not pitch your tent/shelter near cliffs in case of collapse or rock fall

- Do not leave your tent/shelter erected in strong winds – collapse the tent onto the ground and seek refuge in your vehicle

- Do not pitch your tent/shelter under trees with dead branches or under trees known to drop branches

TENT POLE & SHOCK CORD REPLACEMENT
Fiberglass Tent Pole

Tent Poles and Shock Cord are similar to the Tyres on your Car, they require both maintenance and replacement from time to time after unexpected damage. Over stretchin8 dropping and age are the most common causes of shock cord failure. Excessive curvature during tent assembly or during periods of high winds is the most common causes of pole failure. By maintaining both the Poles and Shock Cord you will be ensuring that you get the best performance and life out of your OZtrail Tent.
HELPFUL HINT
To maximise the life of your shock cord never drop the tents poles during transporting. When packing poles into their carry bag be careful not to settle them by tapping them vertically on a hard surface.
REPLACING SHOCK-CORD
See Figure 10
Step One: Measure and Cut Measure the length of the Tent Pole. You should use a length of Shock Cord roughly two-thirds the length of the Tent Pole. This will ensure that the Shock Cord has the appropriate amount of elasticity.
Step Two: Threading the Pole Sections
Tie a large knot in the end of the Shock Cord length. This knot needs to be large enough to stop it passing through the tubular hole in the pole sections whilst you are threading it. Thread the Shock Cord through the tubular hole in each pole section.
HELPFUL HINT
Towards the end of the Pole Length it Sections as the Shock Cord is stretching. sections you have already threaded on through them until you have much more than what you need for the rest of the sections to thread. Place your foot on the Shock Cord at the end of the last Pole Section you have threaded. This will maintain the stretch and give you plenty of Shock Cord to work with.
Step Three: Tying Off
Once all of the Pole Sections have been threaded, you will need to tie a large knot in the Shock Cord, much the same as we did at the start. This Knot needs to be sufficiently large to stop it pulling through the hole. Once this is done, trim the excess Shock Cord at each end.
Replacing Tent Pole Sections
Much like Flat Tyre on your car, a broken Pole Section is an annoyance that can be easily rectified. Cut the Shock Cord to enable you to remove the broken Pole Section. This is also a good time to replace the Shock Cord as well.
Replacing Tent Pole Sections
Much like Flat Tyre on your car, a broken Pole Section is an annoyance that can be easily rectified. Cut the Shock Cord to enable you to remove the broken Pole Section. This is also a good time to replace the Shock Cord as well. Measure both the diameter and overall length of the Pole Section. Once you have these measurements, you will be able to organise a Pole Replacement kit from your local Camping Goods retailer. You may have to cut the replacement pole to length. This can be done with a Hack Saw easily. Lightly sand the cut edge to remove any sharp edges.
Once your new pole is cut to length you can
Once your new pole is cut to length you can follow the ‘Replacing Shock-Cord’ directions to get your Pole Length complete.
HELPFUL HINT Helpful Hint
Be prepared for unexpected breakages, always carry a few spare pole sections that match the diameter of your tent poles as well as some lengths of replacement shock cord. These items are available at all good Camping retailers.
UNDERSTANDING WATERPROOFNESS
Know your tent
OZtrail tents are manufactured from waterproof and water repellent fabrics. and other desirable features a recreational or other solid structures.
The following are common examples of how water can enter a tent:
CONDENSATION
When warm moist air meets cooler air, condensation occurs. The tent/shelter fly forms an impermeable layer between the inside and outside conditions. The moisture inside the tent/shelter condenses on the fabric. Sometimes in cold conditions it appears that the fabric is leaking when in fact the cause is condensation. Condensation can be reduced if the tent/shelter is well ventilated.
The following are common examples of how water can enter a tent:
ZIPS
All care is taken in the design to cover zips. At times wind driven rain could force water under the flaps and through the zips. To minimize this, make sure all doors and windows are closed with the flaps covering the zips.
FLOOR
If the ground is very wet or water pools under the floor, downward pressure of standing or kneeling on the floor could force water through the floor fabric. To prevent this, do not pitch the tent over hollows and make sure water drains away from the tent.
STRUCTURAL INTEGRITY
A well pitched tent on level ground is structurally strong and most waterproof. During prolonged periods of rain and wind it may be necessary to tighten guy lines and reset the tent pegs and attend to drainage around the tent. Sagging and incorrect pitching weakens the tent structure and could allow water to pool causing leaking and breakages.
REDUCING THE RISK OF JAMMING FABRIC IN THE ZIP
- When using the zip, hold the pull-tab between your thumb and forefinger with your thumb facing you.
- As you are closing the zip clear the way in front and under the zip slider using the back of your hand, and cup the zip slider underneath with your remaining 3 fingers.
- Use this action for opening or closing. Keep the fabric clear of the zip slider zip and unzip slowly.
WHAT TO DO IF THE ZIPPER GETS CAUGHT
- Pull the fabric bit by bit out of the slide. Do not try and pull all the fabric in one go. Do not force the slider or the fabric.
IF THE SLIDER DOES NOT CLOSE THE ZIPPER PROPERLY
- With use, the jaws of the zip slider can open ever so slightly. When this occurs the slider does not compress the zip teeth or coil together tightly enough and the zip bursts open or does not close.
- Undo the zip and with the slider at the end of the zip lightly crimp the jaws of the slider together. Try top to bottom axis first and then side to side axis.
CRIMPING A ZIP-SLIDER
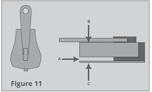
The most common reason why zips burst open is that the zip slider does not close the coil tightly enough. Wear and tear may cause the gap marked A to open up. See Figure 11.
By simply ‘crimping” the slider together at points B&C with a pair of pliers, this solves the problem most of the time. Crimping in other planes is worth a try if B &C does not work. This is to be done when the zip slider is still attached to the zip in the open position. See Figure 11.
Designed & Imported by:
Adventure Trading Australia Pty Ltd
71 Charles Ulm Place,
Eagle Farm, QLD 4009 AUSTRALIA
P: 1300 362 921
www.oztrail.com.au
facebook.com\OZtrailAustralia
























