ergotron 98-543-251 Lockable CPU Wall Cabinet
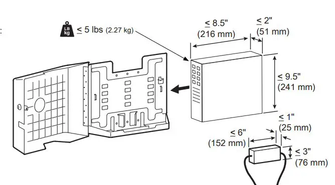
WHAT IS IN THE BOX
TOOLS NEEDED
There are 4 wall types to mount to, gather only the tools for your wall type.
- WOOD
- METAL STUD
- CONCRETE
- HOLLOW WALL

Recommended
Weight Capacity
CAUTION: DO NOT EXCEED MAXIMUM LISTED WEIGHT CAPACITY. SERIOUS INJURY OR PROPERTY DAMAGE MAY OCCUR!
WARNING:
- Ensure that the wall structure is capable of supporting four times the total weight of mounted equipment. Mounting to wall surfaces that do not meet this criteria may result in an unstable, unsafe condition which could lead to personal injury and/or property damage.
- Consult a construction professional if you yOu have any doubt about what this means in regard to your particular application. For OSPHD or other local certifications, please reference local regulations for required install structures.
- Mounting holes must be drilled at least 1/4″ (6mm) deeper than your concrete Screw and must be located within solid concrete, not mortar or covering material. If you drill into an area of concrete that is not solid, reposition mounting holes until both anchors can be Tully inserted into Solid concrete!
- Anchors that are not fully set in solid concrete will not support the applied load resulting in an unstable, unsafe condition which could lead to personal injury and/or property damage. Consult a construction professional it you have any doubt about what this means in regard to your particular situation.
IMPORTANT INSTRUCTION
- Determine mounting location

- CareFit Combo System
- When attaching to the CareFit” Combo System, mounting method needs to be the same as the CareFit” Combo System.

- When attaching to the CareFit” Combo System, mounting method needs to be the same as the CareFit” Combo System.
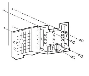
- Open cabinet

- Mounting Option:
- Wall Mounting

- Wall Mounting
- For use with CareFit” Combo System or Wall Track

- For CareFit Combo System, determine location above or below

- Mark Wall


- Drill Wall
- WOOD
- METAL STUD
- CONCRETE
- HOLLOW WALL

Use the corect drill size for your customer-supplied fasteners. Drill 1/4″ (6 mm) deeper than screw length.
- Center holes to stud

- Center holes to stud

For Recommended Screw
Attach anchors
- WOOD
- METAL STUD
- CONCRETE
- HOLLOW WALL

Attach anchors if required for your Customer supplied fasteners.

Attach to wall
- WOOD
- METAL STUD
- CONCRETE
- HOLLOW WALL

Recommended


Secure to wall
- WOOD
- METAL STUD
- CONCRETE
- HOLLOW WALL

CAUTION
Make sure the wall mount bracket is level, flush and snug to the wall surface.




Place cover above or below 

NOTE: When contacting customer service, reference the serial number. 
Installation Guide
- For the latest User Installation Guide please visit: www.ergotron.com
- For Warranty visit: www.ergotron.com/warranty
- For Service visit: www.ergotron.com
- For local customer care phone numbers visit: htp://contact.ergotron.com
Ergotron
2021 Ergotron, Inc. All rights reserved. CareFit” is a registered trademark of Ergotron, Inc. While Ergotron, Inc. makes every effort to provide accurate and complete information on the installation and use of its products, it will not be held liable for any editorial errors or omissions (including those made in the process of translation from English to another language), or tor incidental, special or consequential damages of any nature resulting from furnishing this instruction and pertormance of equipment in connection with this instruction. Ergotron, Inc. reserves the right to make changes in the product design and/or product documentation without notification to its users. For the most current product information, or to know if this document is available in languages other than those herein, please contact Ergotron. No part of this publication may be reproduced, stored in a retrieval system, or transmitted in any form or by any means, electronic, mechanical, photocopying, recording or otherwise without the prior written consent of Ergotron, Inc,1181 Trapp Road, Eagan, Minnesota, 55121, USA Patents Pending and Patented U.S.& Foreign. Ergotron is a registered trademark of Ergotron, Inc.






































