Omni OL605 Multifunctional Cabinet Lock User Manual
Product Description
A smart cabinet lock, a variety of unlocking methods (optional single and any combination of unlocking methods)
- Touch the keyboard to enter the password to unlock
- RFID card swipe to unlock.
- Fingerprint unlock.
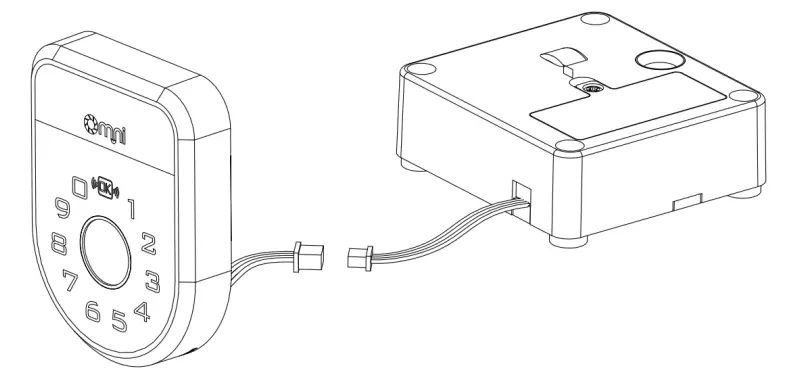
Product Appearance
Control panel
- Front

- Back

- Perspective

Lock body
- Front

- side

- Perspective

Lock Pin
- Front

- side

- Perspective

Specifications
- Product name Smart cabinet lock
- BLE BLE4.0 (2402-2480MHz)
- RFID card 13.56Mhz,YPE-A,TYPE-B
- Fingerprint Semiconductor fingerprint module, 1-100 users
- Amount of users: 100 groups, each group can be combined with password and RFID, or combination of password and fingerprint
- Operating temperature: 10℃ ~ 60℃
- storage temperature: 40℃ ~ 70℃
- Working humidity: 93%RH
- Working current: <80mA(3.7VDC)
- recharging current <500mA(5VDC)
- voltage 3.7VDC
- Battery standby 2year
- Shell material ABS
- Dimensions Control panel 69.9×53.4x13mm lock body 63x58x22.6mm
Instructions
Function Description
- To wake up, press any touch button, and the white light will indicate that you have changed to wake up.
- The keyboard is unlocked, enter the 6-digit password, and press OK to confirm. If the password is correct, the green light is on and a long beep sounds. The lock is unlocked. After 5 seconds, the lock is locked. During this period, the unlock cannot be repeated
- The fingerprint is unlocked, the key fingerprint remains unchanged for about one second, if the fingerprint is correct, the green light and a long beep, then unlock.
- The RFID card is unlocked. The RFID card is close to the panel. If the card is correct, the green light is on and a long beep sounds to unlock the card.
- Factory mode, any password with more than 6 digits and any RFID card can be unlocked, the administrator password is 123456
- User mode, if there is a password input, RFID or fingerprint, that is, switch to user mode, only registered password or RFID card or fingerprint to unlock.
- Delete all passwords to restore factory mode; add at least one user password to switch to user mode.
- The password is entered incorrectly 5 times in succession, the keyboard is locked, the red light is on, and it returns to normal after 2 minutes.
- virtual password function, enter any password before the correct password to prevent peeping, as long as the last 6 digits of the password are correct, the lock can be unlocked
- Charging: Use a type-c usb cable to charge the machine. The yellow light flashes when charging, and the yellow light turns off when it is full. It is recommended to use 5V / 1A or above for the adapter.
Indicator description
- Change to awake state: white light
- The unlocking is correct: the green light is on for 1s
- Failed to unlock: the red light is on for 1s
- The keyboard is disabled: the red light is always on
- Charging status: yellow light flashes
- APP entry: fingerprint and password are entered, the blue light is on when the RFID card is entered, the blue light flashes when the entry is successful, and there is no change if it is unsuccessful
- Factory mode: green light is on for 0.2 seconds after changing
- User mode: white light after waking up
- Waiting for verification administrator: yellow light
- Add mode: blue light
- Delete mode: pink purple light
- Delete all passwords: pink purple lights flash
- Successful operation: green light flashes
- Operation failed: red light flashes
Buzzer status
- Short touch of the touch button
- The lock is unlocked correctly and the sound is long
Local Password Management
Input format
Add: operation code + administrator password + newly added password twice
Delete: operation code + administrator password + password to be deleted twice
Delete all passwords: operation code + administrator password
A:opcode
Add password OK 1 2 3 OK
Delete password OK 3 2 1 OK
Delete all passwords OK 4 4 4 OK
B:administrator password
The factory default administrator password is 123456
The first one added (new password, RFID, fingerprint) is the new administrator, and the previous 123456 is invalid, and the subsequent operations need to be verified with the new administrator password.
The specific operation
A:add a password
Input: OK 1 2 3 OK Yellow light is on
Enter the administrator password+OK, the correct password green light flashes and turns blue
Enter the newly set 6-digit password and click OK, and enter it twice in succession; the green light flashes successfully; when the two passwords are different, the red light flashes 4 times; the red light flashes when the same password is available.
If you are adding an RFID card, swipe the card once, if the addition is successful, the green light flashes, and if you already have the current card, the red light flashes If you are adding a fingerprint, you need to press your finger for about 3 to 5 seconds until the green light flashes 4 times successfully
Note:
If adding RFID or fingerprint to the current user, add it before the blue light goes out
If you add the next user, you need to wait for the blue light to go out.
The number of added users has reached 100, and the administrator will flash a red light after verification to indicate that the user is full.
B:delete the password
Enter OK 3 2 1 OK Yellow light is on
Enter the administrator password+OK, the correct password, green light flashes, and then turns into pink and purple
Enter the 6-digit password to be deleted twice, RFID and fingerprint only once
Successful green light flashes, two times different, red light flashes, has the same password, red light flashes.
C:delete all passwords
Enter OK 4 4 4 OK yellow light
Enter the administrator password+OK. The correct password flashes green and then turns pink and purple
About 100 users, each user can set a password or associate RFID or fingerprint
- The user only associates one password.Each time you add it, you need to wait for the blue light to go out, and then add the next user according to the password addition process
- The user associates the password and RFID or fingerprint. After adding a password, add the RFID or fingerprint before the blue light goes out. (The association method is password + RFID, password + fingerprint.)
- All the input is a single password verification, and the associated password is used to record which user
APP password management
- mobile phone connect equipment
You need to press any key to change the wake-up lock Bluetooth broadcast,Then you can connect to the lock, and the broadcast will stop after 30 seconds of no connection.
Installation Notes
- Fully charge the control panel

- Connect the control panel and lock body to do function test

- Control panel installation
The panel needs to be pasted at the corresponding position before installation Positioning stickers drilled 2 Φ 3mm and A hole of Φ 8mm
Screw on (2 pcs Φ 3mm)
- Lock body installation
4 M3 * 20 self-tapping screws
- Precautions for installation
The lock body and lock latch seat should be installed in parallel with the drawer, sliding door, etc.

FCC Warning Statement
Changes or modifications not expressly approved by the party responsible for compliance could void the user’s authority to operate the equipment. This equipment has been tested and found to comply with the limits for a Class B digital device, pursuant to Part 15 of the FCC Rules. These limits are designed to provide reasonable protection against harmful interference in a residential installation. This equipment generates uses and can radiate radio frequency energy and, if not installed and used in accordance with the instructions, may cause harmful interference to radio communications. However, there is no guarantee that interference will not occur in a particular installation. If this equipment does cause harmful interference to radio or television reception, which can be determined by turning the equipment off and on, the user is encouraged to try to correct the interference by one or more of the following measures:
- Reorient or relocate the receiving antenna.
- Increase the separation between the equipment and receiver.
- Connect the equipment into an outlet on a circuit different from that to which the receiver is connected.
- Consult the dealer or an experienced radio/TV technician for help.



































