ANKER Air Vent Car Mount User Manual
What’s in the Box
- Air Vent Car Mount / User Manual
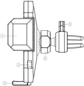
At a Glance

- Mount Arms
- Quick-Release Button
- Retractable Support
- Mount Head Dial
- Clip Switch
How to Install
Mounting the Car Mount to an Air Vent
- Rotate the clip switch counter-clockwise to open the clip.
- Insert the phone holder’s teeth into your vent and turn the clip switch clockwise to close and clamp in position.
Note: The clip switch has three positions to position perfectly on your car’s air vent.
Inserting Your Device
- Open the mount arms, press and hold down the quick release button to extend the mount arms.
- Insert your device and lock it by pushing the extendable arms back in.
Adjusting Mount Head
- Rotate the mount head dial to loosen it and adjust until you find a suitable position.
- Rotate the dial in the opposite direction to lock the mount head in place.
Specifications
- Product size: 4.5 x 2.5 x 4.0 inch
- Product net weight: 0.24 lb
Customer Service
18-month limited warranty
Lifetime technical support
We hope you never have the need, but if you do, our service is friendly and hassle free.
Visit: [email protected]
1-800-988-7973 I Mon-Fri 9:00-5:00 PST (US)
44(0)1604 936200 Mon-Fri 6:00-11:00(GMT)
49(0)69 9579 7960 Mon-Fri 6:00-11:00(DE)


















