renkforce 2692574 Air Vent Smartphone Holder

Operating Instructions
Intended use
The product is an air vent smartphone holder. It can be adjusted 360° degrees for landscape or portrait viewing.
For safety and approval purposes, you must not rebuild and/or modify this product. If you use the product for purposes other than those described above, the product may be damaged. In addition, improper use can result in or other hazards. Read the instructions carefully and store them in a safe place. Make this product available to third parties only together with its operating instructions.
This product complies with the statutory national and European requirements. All company names and product names are trademarks of their respective owners. All rights reserved.
Delivery content
- Smartphone holder
- Operating instructions
Up-to-date operating instructions
Download the latest operating instructions at
www.conrad.com/downloads or scan the QR code shown. Follow the instructions on the website.
Explanation of symbols
The symbol with the exclamation mark in the triangle is used to indicate important information in these operating instructions. Always read this information carefully.The symbol with the exclamation mark in the triangle is used to indicate important information in these operating instructions. Always read this information carefully.
Safety instructions
Read the operating instructions carefully and especially observe the safety information. If you do not follow the safety instructions and information on proper handling in this manual, we assume no liability for any resulting personal injury or damage to property. Such cases will invalidate the warranty/guarantee.
a) General information
- The device is not a toy. Keep it out of the reach of children and pets.
- Do not leave packaging material lying around carelessly. This may become dangerous playing material for children.
- Protect the appliance from extreme temperatures, direct sunlight, strong jolts, high humidity, moisture, steam and solvents.
- Do not place the product under any mechanical stress.
- If it is no longer possible to operate the product safely, take it out of operation and protect it from any accidental use. Safe operation can no longer be guaranteed if the product:
- is visibly damaged,
- is no longer working properly,
- has been stored for extended periods in poor ambient conditions or
- has been subjected to any serious transport-related stresses.
- Please handle the product carefully. Jolts, impacts or a fall even from a low height can damage the product.
- Maintenance, modifications and repairs must only be completed by a technician or an authorised repair centre.
- If you have questions which remain unanswered by these operating instructions, contact our technical support service or other technical personnel.
b) Smartphone holder
- When choosing the mounting location, make sure you will have a clear view of the road and will not be distracted while driving.
- Always comply with all laws governing the use of mobile phones in cars.
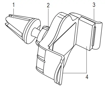
Operating elements

- Vent clip
- LOCK / RELEASE
- Phone clamp
Please remove the protective film on the rubber pads.
Installation
Avoid damaging air vent slots. Use care when attaching, adjusting, or removing the holder.
- Loosen the LOCK / RELEASE screw (3), then adjust the clamp angle and orientation.
- Attach the vent clip to an air vent (consider blocking airflow to that vent if possible)

- Insert your phone between the phone clamps (4).
- Make further adjustments if needed.
Care and cleaning
- Do not use any aggressive cleaning agents, rubbing alcohol or other chemical solutions as they can cause damage to the housing.
- Clean the product with a dry, fibre-free cloth.
Disposal
At the end of its service life, dispose of the product in accordance with applicable regulatory guidelines. You thus fulfill your statutory obligations and contribute to the protection of the environment.
Technical data
Phone widths……………..55 – 85 mm
Load capacity …………….max. 372 g
Operating conditions……-10 to +80 ºC, 10 – 85 % RH (non-condensing)
Storage conditions………-20 to +80 ºC, 10 – 95 % RH (non-condensing)
Dimensions………………..88 x 70 x 90 mm (W x H x D)
Weight ………………………39 g
This is a publication by Conrad Electronic SE, Klaus-Conrad-Str. 1, D-92240 Hirschau (www.conrad.com). All rights including translation reserved. Reproduction by any method, e.g. photocopy, microfilming, or the capture in electronic dataprocessing systems require the prior written approval by the editor. Reprinting, also in part, is prohibited. This publication represent the technical status at the time of printing.
Copyright 2023 by Conrad Electronic SE.
2692574_v1_0223_02_dh_m_en





















