
IP 1406552 Radiator Thermostat Compact Plus
Instruction Manual
![]() | ![]() |
![]() | ![]() |
![]() | ![]() |
![]() | |
Information about this manual
Please read this manual carefully before beginning operation with your Homematic IP component. Keep the manual so you can refer to it at a later date if you need to. If you
hand over the device to other persons for use, please hand over this manual as well.
Symbols used:
| Attention! This indicates a hazard. | |
![]() | Please note This section contains important additional information. |
Hazard information
| Do not open the device. It does not contain any parts that can be maintained by the user. In the event of an error, please have the device checked by an expert. | |
| For safety and licensing reasons (CE), unauthorized change and/or modification of the device is not permitted. |
| The device may only be operated in dry and dustfree environments and must be protected from the effects of moisture, vibrations, solar radiation, cold and mechanical loads. | |
| The device is not a toy; do not allow children to play with it. Do not leave packaging material lying around. Plastic films/bags, pieces of polystyrene, etc. can be dangerous in the hands of a child. | |
| We do not assume any liability for damage to property or personal injury caused by improper use or the failure to observe the hazard information. In such cases, any claim under warranty is extinguished! For consequential damages, we assume no liability! | |
![]() | Please note that the room temperature control via the radiator thermostat is designed for a twopipe heating system with one feed and return line per radiator. Use in single-pipe heating systems can lead to strong deviations in the set temperature due to fluctuations in the flow temperature. |
![]() | The device may only be operated within a domestic environments, in business and trade areas as well as in small enterprises. |
![]() | Using the device for any purpose other than that described in this operating manual does not fall within the scope of intended use and shall invalidate any warranty or liability. |
Function and device overview
With the Homematic IP Radiator Thermostat, you can conveniently regulate the room temperature in your smart home via the Homematic IP smartphone app according to your personal needs. Individual temperature profiles can easily be created via the app – with up to 3 configurable heating profiles and 13 changes per day.
The radiator thermostat fits to all common radiator valves and is easy to mount – without having to drain any water or intervene in the heating system. Thanks to the automatic weekly valve descaling run and the long battery lifetime of up to five years (typically), the radiator thermostat requires a minimum of maintenance.
With the supplied disassembly protection, the radiator thermostat is protected against theft. The disassembly protection is ideal for use in public institutions or office buildings and is easy to install on the radiator valve without additional mounting tools. The tamper contact will alert you in the Homematic IP the app about manipulation, for example, unauthorized opening of the battery compartment.
Device overview (see figure 1):
(A) Metal nut
(B) Battery compartment cover
(C) System button (teach-in button and LED)
(D) Tamper contact
(E) Battery compartment
(F) Lock
General system information
This device is part of the Homematic IP smart home system and works with the Homematic IP protocol. All devices of the system can be configured comfortably and individually with the user interface of the Central Control Unit CCU3 or flexibly via the Homematic IP smartphone app in connection with the Homematic IP cloud. All
available functions provided by the system in combination with other components are described in the Homematic IP Wired Installation Guide. All current technical documents and updates are provided at www.homematic-ip.com.
Start-up
Teaching-in
![]() | Please read this entire section before starting the teach-in procedure. |
![]() | You can connect the device either to the Access Point or to the Homematic Central Control Unit CCU2/CCU3. For detailed information about teach-in or configuration via a control unit, please refer to the Homematic IP User Guide, available for download in the download area of www.homematic-ip.com. |
![]() | First set up your Homematic IP Access Point via the Homematic IP app to enable the operation of other Homematic IP devices within your system. For further information, please refer to the operating manual of the Access Point. |
To integrate the radiator thermostat into your system and to enable control via the Homematic IP app, you must teach-in the device to your Homematic IP Access Point first.
To teach-in the radiator thermostat, please proceed as
follows: • Open the Homematic IP app on your smartphone.
- Select the menu item “Teach-in device”.
- Open the lock (F) of the battery compartment (E) using the supplied four Allen head wrenches (see figure 2).
- Remove the battery compartment cover (B) to the back and downwards to remove it from the device (see figure 3).
- Remove the insulation strip from the battery compartment of the radiator thermostat. The teach-in mode remains activated for 3 minutes.
![]() | You can manually start the teach-in mode for another 3 minutes by pressing the system button (C) shortly (see figure 4). |
- Your device will automatically appear in the Homematic IP app.
- To confirm, please enter the last four digits of the device number (SGTIN) in your app or scan the QR code. Therefore, please see the sticker supplied or attached to the device.
- Please wait until the teach-in is completed.
- If teaching-in was successful, the LED (C) lights up green. The device is now ready for use. If the LED lights up red, please try again.
- In the app, give the device a name and allocate it to a room.
- Do not yet close the battery compartment (see „5.3 Adaption run“ on page 48).
Mounting
![]() | Please read this entire section before starting to mount the device. |
The Homematic IP Radiator Thermostat is easy to install and can be done without draining heating water or intervening in the heating system. No special tools are required, nor does the heating have to be switched off.
The metal nut (A) attached to the radiator thermostat can be used universally and without accessories for all valves with a thread size of M30 x 1.5 from the most popular manufacturers such as Heimeier, MNG, Junkers, Landis&Gyr (Duodyr), Honeywell-Braukmann, Oventrop, Schlösser, Comap, Valve Sanayii, Mertik Maxitrol, Watts, Wingenroth (Wiroflex), R.B.M, Time, Jaga, Siemens, and Ingmar.
By means of the adapters in the delivery, the device can also be installed on radiator valves of type Danfoss RA, Danfoss RAV, and Danfoss RAVL (see „5.2.3 Adapter for
Danfoss“ on page 44).
Mounting the radiator thermostat
![]() | In case of visible damage of the existing radiator, valve or heating pipes, please contact a specialist. |
Remove the old thermostat dial from your radiator valve. To do this, please proceed as follows:
- Rotate the thermostat dial to the maximum value (G) anti-clockwise (see figure 5). The thermostat dial then no longer presses against the valve spigot, making it easier to
remove.
There are different ways of fixing the position of the thermostat dial:
- Union nut: Unscrew the union nut in an anticlockwise direction (F). The thermostat head can then be removed (H).
- Snap-on fastenings: Thermostat dials that are fastened this way can be detached by turning the fastener/union nut a little bit counter-clockwise (F). The thermostat head can then be removed (H).
- Compression fitting: The thermostat dial is held in place by a mounting ring which is held together with a screw. Loosen this screw and remove the thermostat head from the valve (H).
- Threaded connection with set screw: Loosen the set screw and remove the thermostat head (H).
After removing the old thermostat dial you can mount the Homematic IP Radiator Thermostat with the metal nut (A) to the radiator valve (see figure 6). If required, you can use one of the supplied adapters for Danfoss valves (see „5.2.3 Adapter for Danfoss“ on page 44) or the supplied support ring (see „5.2.2 Support ring“ on page 44).
Support ring
The valves from different manufacturers may have tolerance fluctuations that make the radiator thermostat more loosely seated on the valve. In this case, the provided support
ring (I) should be placed into the flange before mounting the radiator thermostat (see figure 7).
Adapter for Danfoss
One of the provided adapters is required to attach to Danfoss valves. The assignment of the suitable adapter to the relevant valve can be found in the following illustrations.
![]() | Please ensure that you do not trap your fingers between the two halves of the adapter! |
The RA and RAV adapters have been manufactured with pre-tension in order to provide a better seat. Use a screwdriver during installation if necessary, and bend it open slightly in the vicinity of the screw (see following figures).
Danfoss RA
The Danfoss valve bodies have elongated notches (1) around their circumference, which also ensure that the adapter is properly seated when it snaps on.
![]() | During installation, please ensure that the pins inside the adapter (2) are lined up with the notches (1) on the valve. Ensure that a suitable adapter for the valve is properly clipped on. |
After clipping onto the valve body, please attach the adapter using the provided screw and nut.
Danfoss RAV
The Danfoss valve bodies have elongated notches (1) around their circumference, which also ensure that the adapter is properly seated when it snaps on.
![]() | During installation, please ensure that the pins inside the adapter (2) are lined up with the notches (1) on the valve. Ensure that a suitable adapter for the valve is properly clipped on. |
The lifter extension (3) must be fitted to the valve pin of RAV valves prior to installation.
Danfoss RAVL
The Danfoss valve bodies have elongated notches (1) around their circumference, which also ensure that the adapter is properly seated when it snaps on.
![]() | During installation, please ensure that the pins inside the adapter (2) are lined up with the notches (1) on the valve. Ensure that a suitable adapter for the valve is properly clipped on. |
The adapter RAVL does not have to be screwed.
Adaption run
![]() | Once the batteries have been inserted, the motor reserves the valve pin. |
After the valve pins has been reversed completely (motor no longer moves), the radiator thermostat can be moved (see figure 6). An adaption run has to be performed in
order to adapt the device to the valve. To do this, please proceed as follows:
- To start the adaption run, close the battery compartment (E) using the square key (see figure 2+3). The adaption run is alternatively started 3 minutes after reaching the valve pin end position. Now, the radiator thermostat performs the adapting run. After the adaption run, installation is completed and the device can be individually configured and controlled.
![]() | If the adaption run was initiated prior to installation or if it could not be fully performed, the device LED (C) lights up red up to 10 times at intervals of 10 seconds. If the audible signalling device is activated, it sounds parallel to the LED. By turning the battery compartment lock (F) using the square key (see figure 2), the motor moves back to the valve pin end position. |
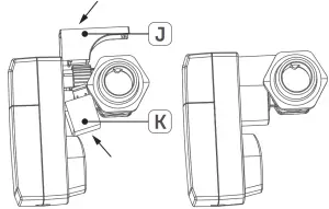
Mounting the disassembly protection
If required, you can use the supplied disassembly protection to protect the radiator thermostat against theft and unauthorized disassembly. For the installation, please proceed as
follows:
- Place the upper (J) and lower (K) shell above the nut or the pre-mounted radiator thermostat and allow the parts to snap into place.
![]() | After engaging the upper and lower shell, the parts can no longer be separated. |

Replacing batteries
If the flashing code for empty batteries is indicated via the device LED (C) (see „7.4 Error codes and flashing sequences“ on page 54) or if the symbol for empty batteries ppears in the app, replace the used batteries by two new LR6/mignon/AA batteries. You must observe the correct battery polarity.
To insert the batteries into the radiator thermostat, please proceed as follows:
- Open the lock (F) of the battery compartment (E) using the supplied four Allen head wrench (see figure 2).
- Remove the battery compartment cover (B) to the back and downwards to remove it from the device (see figure 3).
- Remove the empty batteries.
- Insert two new 1.5 V LR6/mignon/AA batteries into the battery compartment, making sure that you insert them the right way round (see figure 8)
- Re-insert the battery compartment cover and close the battery compartment using the square key.
- Please pay attention to the flashing signals of the device LED while inserting the batteries (see „7.4 Error codes and flashing sequences“ on page 54).
Replacing batteries
Once the batteries have been inserted, the radiator thermostat will perform a self-test (approx. 2 seconds). Afterward, initialization is carried out. The LED test display will
indicate that initialisation is complete by lighting up orange and green.
![]() | Caution! There is a risk of explosion if the battery is not replaced correctly. Replace only with the same or equivalent type. Never recharge non-rechargeable batteries. Do not throw the batteries into a fire. Do not expose batteries to excessive heat. Do not short-circuit batteries. Doing so will present a risk of explosion. |
![]() | Caution! Avoid skin and eye contact with leaking batteries! Wear suitable protective gloves when removing leaking batteries and residues from a device! In case of skin contact flush with plenty of water! |
![]() | Used batteries should not be disposed of with regular domestic waste! Instead, take them to your local battery disposal point. |
Troubleshooting
Weak batteries
Provided that the voltage value permits it, the radiator thermostat will remain ready for operation also if the battery voltage is low. Depending on the particular load, may be possible to send transmissions again repeatedly once the batteries have been allowed a brief recovery period. If the voltage drops too far during transmission, the corresponding error code will be displayed on the device (see „7.4 Error codes and flashing sequences“ on page 54). In this case, replace the empty batteries by two new batteries (see „6 Replacing batteries“ on page 50).
Command not confirmed
If at least one receiver does not confirm a command, the device LED (C) lights up red at the end of the failed transmission process. The failed transmission may be caused
by radio interference (see „10 General information about radio operation“ on page 57). The failed transmission may also be caused by the following:
- The receiver cannot be reached.
- Receiver is unable to execute the command (load failure, mechanical blockade, etc.).
- The receiver is defective.
Duty cycle
The duty cycle is a legally regulated limit of the transmission time of devices in the 868 MHz range. The aim of this regulation is to safeguard the operation of all device working in the 868 MHz range. In the 868 MHz frequency range we use, the maximum transmission time of any device is 1% of an hour (i.e. 36 seconds in an hour). Devices must cease transmission when they reach the 1% limit until this time restriction comes to an end. Homematic IP devices are designed and produced with 100% conformity to this regulation. During normal operation, the duty cycle is not usually reached. However, repeated and radio-intensive teaching processes mean that it may be reached in isolated
instances during the start-up or initial installation of a system. If the duty cycle is exceeded, this is indicated by one long red flashing of the device LED (C) and may manifest itself in the device temporarily working incorrectly. The device starts working correctly again after a short period (max. 1 hour).
Error codes and flashing sequences
| Flashing code | Meaning | Solution |
| Short red flashing in 10 s intervals | Valve drive is sluggish or the adjustment range too small | Please check whether the valve pin is stuck. |
| Short red flashing in 10 s intervals | Actuating range too wide | Please check the fastening if the radiator thermostat |
| Short orange flashing | Radio transmission/ attempting to transmit/configuration data is transmitted | Wait until the transmission is completed. |
| lx long green lighting | Transmission confirmed | You can continue the operation. |
| lx long red lighting | Transmission failed or duty cycle limit is reached | Please try again (see sec. .7.2 Command not confirmed” on page 52 or .7.3 Duty cycle” on page 53). |
| Short orange flashing (every 10 s) | Teach-in mode active | Please enter the last four numbers of the device serial number to confirm (see 5.1 Teaching-in” on page 40). |
| Short orange lighting (after green or red confirmation) | Batteries empty | Replace the batteries (see „6 Replacing batteries” on page 50). |
| 6x long red flashing | Device defective | Please see your app for the error messages or contact your retailer. |
| lx orange and 1 x green lighting (after inserting batteries) | Test display | Once the test display has stopped, you can continue. |
| Long and short orange flashing (alter- nating) | Update of device software (OTAU) | Wait until the update is completed. |
Restore factory settings
![]() | The factory settings of the device can be restored. If you do this, you will lose all your settings. |
- To restore the factory settings of the radiator thermostat, please proceed as follows:
- Open the lock (F) of the battery compartment (E) using the supplied four Allen head wrenches (see figure 2).
- Remove the battery compartment cover (B) to the back and downwards to remove it from the device (see figure 3).
- Remove a battery.
- Insert the battery ensuring that the polarity is correct (see figure 8) while pressing and holding down the system button (C) for 4s at the same time, until the LED will quickly start flashing orange (see figure 4).
- Release the system button again.
- Press and hold down the system button again for 4 seconds, until the LED lights up green.
- Release the system button to finish the procedure
The device will perform a restart.
Maintenance and cleaning
![]() | The device does not require you to carry out any maintenance other than replacing the battery when necessary. Enlist the help of an expert to carry out any repairs. |
Clean the device using a soft, lint-free cloth that is clean and dry. Do not use any detergents containing solvents, as they could corrode the plastic housing and label.
General information about radio operation
Radio transmission is performed on a non-exclusive transmission path, which means that there is a possibility f interference occurring. Interference can also be caused by switching operations, electrical motors or defective electrical devices.
![]() | The range of transmission within buildings can differ greatly from that available in the open air. Besides the transmitting power and the reception characteristics of the receiver, environmental factors such as humidity in the vicinity have an important role to play, as do on-site structural/ screening conditions. |
Hereby, eQ-3 AG, Maiburger Str. 29, 26789 Leer/Germany declares that the radio equipment type Homematic IP HmIP-eTRV-C-2 is in compliance with Directive 2014/53/EU. The full text of the EU declaration of conformity is available at the following internet address: www.homematic-ip.com
Technical specifications
Device short name: HmIP-eTRV-C-2
Supply voltage: 2x 1.5 V LR6/mignon/AA
Current consumption: 100 mA max.
Battery life: 5 years (typ.)
Degree of protection: IP20
Degree of pollution: 2
Ambient temperature: 0 to 50 °C
Dimensions (W x H x D): 51 x 98 x 48 mm
Weight: 172 g (including batteries)
Radiofrequency band: 868.0-868.6 MHz 869.4-869.65 MHz
Maximum radiated power: 10 dBm
Receiver category: SRD category 2
Typ. open area RF range: 250 m
Duty cycle: < 1 % per hi< 10 % per h
Construction of the regulation and control unit: independently mounted electronic regulation and control unit
Method of operation: Type 1
Connection: M30 x 1.5 mm
Controlling torque: > 80 N
Valve travel: 4,3 ± 0,3 mm
Maximum travel position: 14,3 ± 0,3 mm
Minimum travel position: 10,0 ± 0,3 mm
Software class: Class A
Subject to technical changes.
Instructions for disposal
![]() | Do not dispose of the device with regular domestic waste! Electronic equipment must be disposed of at local collection points for waste electronic equipment in compliance with the Waste Electrical and Electronic Equipment Directive. |
Information about conformity
![]() | The CE sign is a free trading sign addressed exclusively to the authorities and does not include any warranty of any properties. |
![]() | For technical support, please contact your retailer. |
Kostenloser Download der Homematic IP App! Free download of the Homematic IP app!
![]() | ![]() |
| https://itunes.apple.com/de/app/homematic-ip/id1012842369?mt=8 | https://play.google.com/store/apps/details?id=de.eq3.pscc.android&hl=de |
eQ-3 AG
Maiburger Straße 29 26789 Leer / GERMANY www.eQ-3.de

































