HENNY PENNY FM05-265B FlexFusion Platinum Electric Smoker Box
Introduction
About this manual
The operating instructions are part of the unit and contain information:
- on safe operation,
- on cleaning and care on remedial actions in case of faults.
Observe the following notes and adhere to them: - Read the operating instructions completely before operating the unit for the first time.
- Make the operating instructions available to the operator at all times at the operating site of the unit.
- Insert any supplements from the manufacturer.
- Keep the operating instructions throughout the service life of the unit.
- Pass on the operating instructions to any subsequent operator of the unit.
Target group The target group of the instruction manual is the operator, who is entrusted with the operation, cleaning, and care of the unit. Figures All figures in this manual are intended as examples. Discrepancies can arise between this and the actual unit.
Explanation of signs
INFORMATION
Information Notes for better understanding and operation of the unit.
Intended use
This unit is intended to be used solely for commercial purposes, particularly in commercial kitchens.
This unit may only be used with suitable accessories and for the cooking of food.
It is forbidden to use the unit for other purposes, which include the following
- As set-down area in or on the unit
- Heating rooms
Warranty
The warranty is void and safety is no longer assured in the event of:
- Improper conversion or technical modifications of the unit,
- Improper use,
- The improper startup, operation or maintenance of the unit,
- Problems resulting from failure to observe these instructions.
Safety instructions
The unit complies with applicable safety standards. Residual risks associated with operation or risks resulting from the incorrect operation cannot be ruled out and are mentioned specifically in the safety instructions and warnings. The operator must be familiar with regional regulations and observe them. In addition, the operator must heed the safety information in the operating instructions of the Combisteamer.
Hot surfaces Risk of burns from hot surfaces
- Protect arms and hands by wearing suitable protective gloves.
- Do not touch heating elements, hot surfaces, or accessories immediately after use.
- Allow surfaces to cool prior to cleaning.
Fire prevention Risk of fire from overheating
• In the event of a fire, disconnect the unit from the electrical supply mains.
- Follow the instructions of the cleaning agent manufacturer. Risk of property damage from improper cleaning
- Clean the unit after using it.
- Do not clean the unit with a high-pressure cleaner or water jet.
- Do not shock the unit by cooling it abruptly.
- Do not immerse the housing in water.
- Clean the unit regularly.
Description of the unit
The smoker box is permanently installed on the Combisteamer and enables smoking to be carried out in the cooking zone. Smoking can be programmed into the cooking processes.
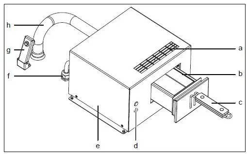
Overview of the unit

Image: Combisteamer with smoker box

Image: Smoker box
- Ventilation grille b Firebox
- Handle
- Display elements
- Housing
- Power cable
- Outgoing air pipe closure h Outgoing air pipe
The function of the display elements
| Display element | Function |
| Safety temperature limiter indicator light | • Lights up red if the safety temperature limiter has tripped. |
| Heating indicator light | • Lights up green if the smoker box is heating. |
Using the smoker box
Explosion and fire hazard
- Do not use any fuel, e.g. smoking pellets or sawdust, in powder form.
- Ensure that the wood chips are sufficiently large.
- The wood chips must measure at least 0,2 in along the edge.
INFORMATION
When the smoker box is not being used, the piping between the combi steamer and the smoker box must be removed to ensure proper operation of the Com-steamer. To do this, disconnect the outgoing air pipe from the intake pipe, ro-tate it clockwise and close the outgoing air pipe closure.
Preparing the smoker box
INFORMATION
Nature and source of danger Too large an amount of wood chips result in excessive smoking; according, use less rather than more.
Nature and source of danger The wood chips must be at least 0,2 x 0,2 in size.
Tip
- To prevent the wood chips from burning too quickly, place them in water and allow them to soften for about 3 hours prior to smoking. About 1 hour before starting, place the chips in a strainer and allow them to dry.
- To create smoke quickly, fill the firebox about 1/3 full with dry wood chips and then fill the remaining space with the softened wood chips.1. Open the exhaust air pipe closure.
- Rotate the outgoing air pipe counterclockwise and connect it to the intake pipe of the Combisteamer.
- Remove the cooled firebox.
- Check whether there is anything left in the firebox or the smoker box and, if so, dispose of it safely.
- Measure the number of wood chips or spices needed for the desired smoking process.
- Place the wood chips or spices in the firebox.
- Close the firebox..
WARNING
Risk of burns from hot ashes or embers
Failure to observe precautions can result in slight to moderately severe burns.
- Protect face by wearing a suitable faceguard.
- Protect arms and hands by wearing suitable protective gloves.
- Do not dampen the wood chips with the hand shower before or during the smoking process.
- Do not regulate or stop the smoking process with the hand shower.
Risk of fire if Combisteamer is shut off during the smoking process Do not shut down Combisteamer until the smoking process has ended.
Possible settings for the smoking cooking mode:
| Setting | Possible setting | Explanation |
| Intensity | Mild | Setting for the amount of smoke in the cooking chamber; the higher the intensity, the faster the wood chips burn |
| Normal | ||
| Intense | ||
| Pre-glow | Slowly bring the wood chips to a state of burning prior to smoking | |
| Smoke removal | After smoking, removes the smoke remaining in the cooking chamber | |
| Cooking time Continuous operation | Continuous operation button or 00:00:0 h:min:s | Ends after 24 hours |
| Cooking time Time-controlled | Cooking time button 00:00:5 — 29:59:55 h:min:s | In 5-second increments |
| Cooking time Core temperature- controlled | Core temperature button 0 (32 ) — 99 °C (210,2 °F) | In 1-degree steps |
| Temperature | 0 (32 ) — 180 °C (356 °F) | Setting for the temperature in the cooking chamber; the higher the temperature in the cooking chamber, the faster the smoked product cooks |
Smoking as a separate cooking program
At the Normal, Mild, or Intense setting, the cooking step starts automatically with pre-glowing of the smoker box as part of Ready2Cook. The default setting for pre-glowing is 15 minutes. At the same time, the cooking chamber is heated to the desired cooking temperature. An audible signal sounds on completion of pre-glowing and the cooking chamber can be loaded. The smoking process starts after the door is closed.
Smoking is the first cooking step in a cooking program with several cooking steps
At the Normal, Mild, or Intense setting, the cooking step starts automatically with pre-glowing of the smoker box as part of Ready2Cook. The default setting for pre-glowing is 15 minutes. At the same time, the cooking chamber is heated to the desired cooking temperature. An audible signal sounds on completion of pre-glowing and the cooking chamber can be loaded. The smoking process starts after the door is closed.
Smoking as a subsequent cooking step in a cooking program with several cooking steps
In this case, a cooking step at the Pre-glow intensity must be selected first. Set a time of 15 to 30 minutes, depending on the type of wood and size of the wood chips. Then select the cooking step with the desired intensity of smoking. In the course of the process, an audible signal sounds on completion of pre-glowing and the cooking chamber can be loaded.
Prerequisite
Smoker box prepared Combisteamer switched on
1. Tap the “Manual cooking” field.
2. Tap the “Smoke” field. (a)
3. Tap the “Smoke” field. (b)
- Select Intensity with a swipe gesture (c).
- . Confirm selection.
- . Set the cooking temperature and cooking time.
- Confirm selection.
- Smoking starts.
INFORMATION
The cooking chamber fills with an increasing amount of smoke during the pre-glow step.
- An overly high temperature during smoking can result in the formation of bitter-tasting substances.
- To brown the food being cooked prior to smoking, insert a separate cooking step for this purpose.
WARNING
Risk of burns from hot surfaces
Allow surfaces to cool prior to cleaning.
Risk of burns from hot ashes or embers
After the smoking process, the residue in the firebox can still be hot and cause burns.
- Protect face by wearing a suitable faceguard.
- Do not cool down the firebox or embers with the hand shower.
- Do not remove the firebox until it has cooled down.
- Do not remove the firebox if someone is under it.
- Place the firebox on a fireproof surface.
- Only store and transport ashes in a closed fireproof container.
Risk of fire from hot ashes or remnants of embers
After the smoking process, the residue in the firebox may still be hot and could quickly ignite any material that is added.
Place wood chips only in an empty firebox.
Smoke removal
A smoke removal cooking step can be selected on completion of smoking. The firebox must be empty or removed.
Prerequisite Previously added wood chips fully consumed Smoker box cooled down
- Remove the firebox from the smoker box and place it on a fireproof surface.
- Empty the firebox into a fireproof container.
- Slide the firebox back into the smoker box.
- If the smoker box is not used afterward: Disconnect the outgoing air pipe from the intake pipe, rotate it clockwise and close the outgoing air pipe closure.
Pausing and ending operation
Switch off the unit during pauses and at end of the operation.
Cleaning and caring for the smoker box
CAUTION
Risk of burns from hot surfaces
Allow surfaces to cool prior to cleaning.
Risk of chemical burns from the cleaning agent
• Follow the instructions of the cleaning agent manufacturer.
• Take appropriate protective measures when handling aggressive cleaning agents.
Risk of falling from unstable climbing aids
Use only approved ladders or step stools as climbing aids.
Risk of property damage from extremely abrupt cooling
Do not clean the unit with a high-pressure cleaner or water jet.
Preventing corrosion
- Keep the surfaces of the unit clean, with access to air.
- Remove lime, grease, starch, and protein deposits from the unit’s surfaces.
- Expose parts made from non-rusting steel only briefly to contact with highly acidic foods, spices, salts or the like.
- Avoid damaging the stainless steel surface with other metal items, for instance, steel spatulas or steel wire brushes.
- Prevent contact with iron and steel, for instance, steel wool and steel spatulas.
- Do not use bleaching or chlorine-containing cleaning agents.•
- Clean contact surfaces with water.
Removing rust spots
- Remove fresh rust spots with mildly abrasive or fine sandpaper.
- Always remove rust spots completely.
Expose treated areas to fresh air for at least 24 hours. During this time, do not allow any contact with greases, oils or foods so that a new protective layer can form.
Cleaning the housing
Prerequisite Unit switched off and cooled down Clean the housing with warm water and a commercially available detergent.
Cleaning the intake pipe
INFORMATION
Cleaning interval Depending on the soiling level and intensity of use, the intake pipe must be cleaned after no more than 3 months at the latest.
Cleaning and caring for the smoker box
Prerequisite
Combisteamer switched off and cooled down Cooking chamber door closed Brush, funnel and warm water with commercially available cleaning agent prepared
The stable position of the ladder if the intake pipe cannot be reached without aid.
- Place the funnel on the open-intake pipe.
- Using the funnel, pour 1 liter of cleaning solution into the intake pipe.
- Remove the funnel.
- Insert the brush into the intake pipe from above.
- Clean the entire intake pipe.
- Remove the brush.
- Place the funnel on the intake pipe.
- Using the funnel, pour 1 liter of cleaning solution into the intake pipe.
- . Using the brush, clean the entire intake pipe.
- Repeat processes until the cleaning solution is clear when entering the cooking chamber.
- Remove coarse contamination from the cooking chamber.
- Clean the cooking chamber with WaveClean.
Intake pipe and cooking chamber clean.
Troubleshooting
Cause of error and remedy
| Error | Possible causes | Remedy |
| Safety temperature limiter indicator light glows red | The safety temperature limiter has tripped | • Allow smoker box to cool. Check and clean the supply air line. • Fault persists: Contact customer service. Do not use the unit.
|
Nameplate
The nameplate is located on the Combisteamer.
When contacting customer service, please always provide the following data from the nameplate:
| Serial number (SN) | |
| Type number (TYP) |
|
Carrying out maintenance
The regular maintenance of the unit must be performed and logged in accordance with the maintenance instructions.

Disposing of unit in an environmentally responsible manner
The unit has been designed to provide a lifetime of 10 years with average use. Do not dispose of the unit or the unit’s components together with non-recyclable waste. If the unit is disposed of together with non-recyclable waste or treated improperly, toxic substances contained in the unit can damage health and pollute the environment. Dispose of the unit in accordance with local regulations for used appliances. Clarify any open questions with the responsible agencies (for instance, solid waste management). We are a registered manufacturer in the elektro-altgeräte register and are listed in the ear directory. If necessary, contact a disposal company listed in the directory. (WEEE-Reg.-Nr.DE 19459438)Unit In addition to valuable materials used electrical and electronic equipment also contains harmful substances that were needed for their operation and safety.Cleaning agents Dispose of leftover cleaning agents and cleaning agent containers in accordance with the information provided by the cleaning agent’s manufacturer. Observe applicable regional regulations.


Cleaning and caring for the smoker box
















