MUSTANG ko 1019 Electric Smoker 650 W Instruction Manual
Congratulations on choosing your Mustang product! The Mustang family of barbecuing products was designed for cooking good food. Our line includes a wide range of barbecuing and cooking products. Go to www.mustang-grill.fi or your nearest licensed Mustang retailer to find out more about our selection of products!
We are continually developing the Mustang line and other products it has to offer. Feedback from users plays an important role in our product development for quality assurance. We are always happy to receive any feedback on our products at [email protected].
Please carefully go over the user instructions so you will get the most out of your grill. With careful, regular cleaning and maintenance of your grill, you will prolong its life and safety. The Mustang line of products also offers proper cleaning products and tools for its care.
For more information, go to mustang-grill.fi.
WARNING:
CARBON MONOXIDE HAZARD BURNING WOOD EMITS CARBON MONOXIDE. THIS CAN CAUSE DEATH
Warnings & Safety Concerns:
Carefully read and follow the warnings and instructions in this manual before and during the use of the smoker.
IMPORTANT SAFETY INSTRUCTIONS AND
WARNINGS
Read all the instructions thoroughly before use:
This manual contains important information that is necessary for the safe and proper use of this appliance.
- Read and follow the warnings and instructions carefully before and during the use of the smoker.
- Keep this manual for future reference.
- Using the smoker leads to the presence of life-threatening carbon monoxide. Carbon monoxide is a volatile gas, which is why the ventilation apertures must be open when the smoker is being used.
- Never burn wood chips inside your home, vehicle, tent, garage, or any other enclosed areas.
- This appliance is for outdoor use only. Never operate indoors.
- The unit must be on the ground. Never place the unit on tables or counters.
- Do not plug in the electric smoker until it is completely assembled and ready to use.
- Only use a grounded electrical outlet.
- Never use during a thunderstorm.
- Never expose the electric smoker to rain or water.
- Do not immerse the cord, plug or control panel in water or any liquid. This could cause electric shock.
- Always keep children and pets away from electric smoker. Never allow children to operate the electric smoker. When children and pets are in the area of an electric smoker, close supervision is an absolute necessity.
- Never operate this appliance after it has malfunctioned or the unit has been damaged.
- Never allow any other activities to take place in the vicinity of the electric smoker during or after use. Make sure the unit has cooled before storing or cleaning.
- Always keep a fire extinguisher handy when operating the electric smoker.
- Use caution when using an extension cord as this increases the risk of entanglement and tripping. A faulty or weak extension cord may cause a loss of heating efficiency or electric shock.
- Do not allow the electrical cord to hang carelessly or touch hot surfaces.
- Never put this appliance on or near a gas or electric burner, or in a heated oven.
- Never operate any electrical appliance with a damaged plug or cord.
- Never use this electric smoker as a heater (Refer to the Carbon Monoxide Warning).
- Electric smoker should only be used on a level, stable surface.
This will prevent tipping over, which can cause potential personal injury or property damage. - The electric smoker is hot while in use and for a period of time afterwards. Always use caution near hot surfaces.
- Use of alcohol, prescription or non-prescription drugs may impair one’s ability to assemble or operate the electric smoker properly.
- Do not bump or impact the electric smoker.
- Do not move the appliance when in use. Always allow the electric smoker to cool completely before storing or moving.
- Carefully remove food from the electric smoker. All of the surfaces are hot and could cause burns. Always use protective gloves along with long, sturdy cooking tools.
- Never cover the cooking grates with metal foil. The foil will trap heat, causing severe damage to the electric smoker.
- The drip tray is only for the bottom of the electric smoker. Never put a drip tray on cooking grates. This could cause damage to the electric smoker.
- Always use caution when adding wood chips when the smoker is in operation. The chip box is always hot when electric smoker is in use.
- To disconnect the electric smoker, turn the control panel off and then remove the plug from the outlet.
- Unplug from the outlet when not in use and prior to cleaning. Allow the unit to cool completely before adding or removing grates, trays or water bowl.
- Dispose of cold ashes by placing them in aluminium foil.
- Do not store the electric smoker with hot ashes inside the unit. Store only when all the surfaces are cold, cleaned and the ashes have been removed.
- Never use the electric smoker for anything other than its intended purpose.
- Always use the electric smoker in accordance with all applicable local and national fire codes.’
- If the power cable is damaged, it must be replaced by the manufacturer or its maintenance agent or a similarly qualified person to avoid hazards.
- This product can be used by children aged 8 years and above and persons with reduced physical, sensory or mental capabilities or lack of experience and knowledge if they have been given supervision or instructions concerning the safe use of the product and they understand the hazards involved.
- The device must be connected through a residual-current circuit breaker whose electric current value does not exceed 30 mA.
LET’S GET STARTED!
- This is a slow smoker…allow sufficient time for cooking. Smoker is for OUTDOOR USE ONLY.
- “Pre-season” smoker prior to first use. See page 17.
- Pre-heat smoker for 30 to 45 minutes at max temperature before loading food.
- DO NOT cover racks with aluminum foil, as this will not allow heat to circulate properly.
- Do not overload smoker with food. Extra large amounts of food may trap heat, extend cooking time and cause uneven cooking. Leave space between food on racks and smoker sides to ensure proper heat circulation. If utilizing cooking pans, place pans on center of rack to ensure even cooking. Please see manual for more detail.
- Close air damper on top of unit to retain moisture and heat. If cooking foods such as fish or jerky, open air damper to release moisture.
- Temperature reading on control panel will fluctuate + or – 10 to 15 degrees as smoker cycles on and off.
- Store smoker in a dry area after use.
- Extreme cold temperatures may extend cooking times.
- CLEAN AFTER EVERY USE. This will extend the life of your smoker and prevent mold and mildew. ENJOY!
PARTS LIST

| PART NO | QTY | DESCRIPTION | PART NO | QTY | DESCRIPTION |
| 1 | 1 | Smoker Body | 7 | 1 | Wood Chip Loader |
| 2 | 1 | Digital Control Panel | 8 | 1 | Grease Tray |
| 3 | 1 | Water Bowl | 9 | 2 | Leg Boot (pre-assembled) |
| 4 | 1 | Wood Chip Tray | 10 | 2 | Adjustable Screw Leg (pre-assembled) |
| 5 | 1 | Drip Pan | 11 | 1 | Air Damper (pre-assembled) |
| 6 | 4 | Cooking Rack | 12 | 1 | Door w/Window (pre-assembled) |
ASSEMBLY
- BEFORE ASSEMBLY READ ALL INSTRUCTIONS CAREFULLY.
- ASSEMBLE UNIT ON A CLEAN, FLAT SURFACE.
- TOOL NEEDED: PHILLIPS HEAD SCREWDRIVER
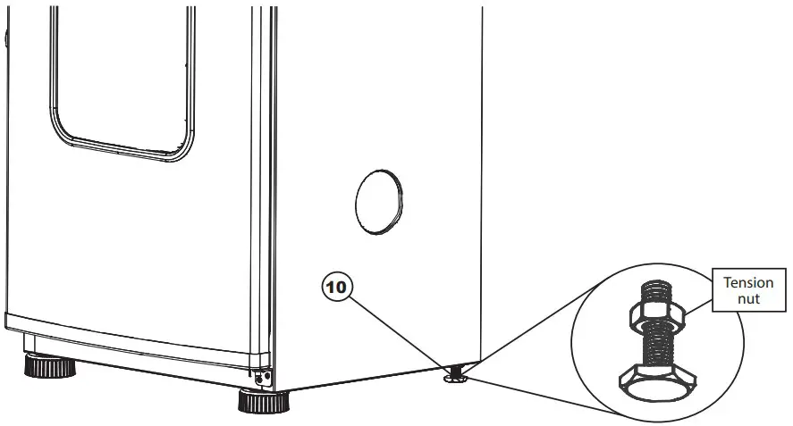
STEP 1
Adjust adjustable screw leg (10) by turning clockwise/counterclockwise so that smoker is level when unit is upright. Once level, secure adjustable screw leg (10) positions with attached tension nuts.
STEP 2
Position digital control panel (2) to top of smoker body (1). Align slot on wire connector from digital control panel (2) with tab on wire connector on smoker body (1) as shown and connect together
STEP 3
Mount digital control panel (2) to smoker body (1) by inserting stabilizing screw head into keyhole as shown.
Note: Stabilizing screw may need slight adjustment for snug fit.
STEP 4
Secure digital control panel (2) to smoker body (1) with (2) M5X.08×10 pan head screws provided.
Note: Do not over tighten.
STEP 5
SOME PARTS NOT SHOWN FOR CLARITY.
Place wood chip tray (4) in smoker body (1). Be sure to position wood chip tray under wood chip lid as shown.
Note: Wood chip tray and wood chip loader MUST be in place when using smoker. This minimizes the chance of wood flare-ups.
STEP 6
SOME PARTS NOT SHOWN FOR CLARITY.
Place water bowl (3) onto lower bracket inside smoker body (1).
Place drip pan (5) inside smoker body (1) below heating element as shown. Make sure hole in drip pan (5) is positioned in rear of smoker to allow proper drainage.
Note: Water bowl MUST always be in place during smoking process, even if there is no water or other liquid in bowl. Bowl will prevent food from dripping onto wood chips.
STEP 7
SOME PARTS NOT SHOWN FOR CLARITY.
Slide cooking racks (6) onto guides inside smoker body (1).
STEP 8
Slide brackets on back of grease tray (8) onto tabs on back of smoker body (1) until grease tray (8) stops.
Assembly is complete.
PRE-SEASON INSTRUCTIONS
PRE-SEASON SMOKER PRIOR TO FIRST USE.
Some smoke may appear during this time, this is normal
- Make sure water pan is in place with NO WATER.
- temperature to 135°C and run unit for 3 hours. During last 45 minutes, add 1 cup of wood chips in chip loader to complete preseasoning.
- Shut down and allow to cool.

HOW TO USE WOOD CHIP LOADER
How to use wood chip loader:
- Before starting unit, place ½ cup of wood chips in chip loader.
- Never use more than ½ cup of wood chips at a time. Never use wood chunks.
- Insert wood chip loader into smoker. Wood chips should be level with top rim of wood chip loader.
- Turn handle clockwise in direction of arrow mark on smoker to unload wood. Wood will drop into wood chip tray. Turn handle counterclockwise, to the upright position, and leave wood chip loader in place.
- Check wood chip tray periodically to see if wood has burned down by removing wood chip loader and looking into smoker through hole. Add more chips as needed.
- Wood chip loader must be pulled out completely from smoker when checking wood chip level.

Adding more wood during smoking process:
- Pull wood chip loader from smoker.
- Place wood chips in wood chip loader and insert into smoker.
- Turn handle clockwise in direction of arrow mark on smoker to unload wood. Wood will drop into wood chip tray.
- Temperature may spike briefly after wood is added. It will stabilize after a short time. Do not adjust temperature setting.
Caution:
- Keep smoker door closed when adding wood chips.
- Wood chip loader will be HOT even if handle is not
CAUTION
When door is opened a flare up may occur. Should wood chips flare up, immediately close door, wait for wood chips to burn down then open door again. Do not spray with water.
HOW TO USE CONTROL PANEL

Note: Direct sunlight may interfere with ability to read LED display, block light if needed.
To temperature:
- Press ON button.
- Press TEMP button once-LED display will blink.
- Use +/- to temperature.
- Press TEMP button again to lock in temperature.
Note: Heating will not begin until timer is set.
To timer:
- Press TIME button once-LED display for hours will blink.
- Use +/- to hours.
- Press TIME button again to lock in hours. The minutes LED will start blinking.
- Use +/- to minutes.
- Press TIME to lock in minutes and start cook cycle.
Heat will turn off when time has expired.
To RESET control panel:
If control panel shows an error message, turn electric smoker off, unplug unit from outlet, wait ten seconds, plug unit back into outlet, then turn electric smoker on. This will reset control panel.
IMPORTANT FACTS ABOUT USING SMOKER
- Maximum temperature setting is 135°C.
- Wood chip loader and wood chip tray MUST be in place when using smoker. This minimizes the chance of wood flare-ups.
- Wood chips must be used in order to produce smoke and create the smoke flavor.
- Check grease tray on back of unit often during cooking. Empty grease tray before it gets full. Grease tray may need to be emptied periodically during cooking.
- Do not open smoker door unless necessary. Opening smoker door causes heat to escape and may cause wood to flare up. Closing the door will re-stabilize the temperature and stop flare up.
- Do not leave old wood ashes in the wood chip tray. Once ashes are cold, empty tray. Tray should be cleaned out prior to, and after each use to prevent ash build-up.
- Glass in door is tempered and will not break under normal operation.
- This is a smoker. There will be a lot of smoke produced when using wood chips. Smoke will escape through seams and turn the inside of smoker black. This is normal. To minimize smoke loss around door, door latch can be adjusted to further tighten door seal against body.
- Opening smoker door during cooking process may extend cooking time due to heat loss.
- When outside temperature is cooler than 18°C and/or altitude is above 1067 m, additional cooking time may be required. To ensure that meat is completely cooked use a meat thermometer to test internal temperature.
] - To adjust door latch, loosen hex nut on door latch. Turn hook clockwise to tighten as shown. Secure hex nut firmly against door latch.
HOW TO CLEAN SMOKER
- For cooking racks, water bowl and drip tray use a mild dish detergent. Rinse and dry thoroughly.
- For wood chip tray and wood chip loader, clean frequently to remove ash build-up, residue and dust.
- Dispose of cold ashes by placing them in aluminum foil, soaking with water and discarding in a non-combustible container.
- For the interior, glass in door, and exterior of smoker simply wipe down with a damp cloth. Do not use a cleaning agent. Make sure to dry thoroughly.
- Door seal and inside seam that seal attaches to MUST be cleaned with a damp cloth after each use to keep seal in proper working condition.
ALWAYS MAKE SURE UNIT IS UNPLUGGED AND COOL TO THE TOUCH BEFORE CLEANING AND STORING
TROUBLESHOOTING GUIDE
| SYMPTOM | CAUSE | POSSIBLE SOLUTION |
| Power light won’t come on. | Not plugged into wall. | Check wall connection. |
| House fuse tripped. | Make sure other appliances are not operating on the same electrical circuit. Check household fuses. | |
| Controller malfunctioning. | * | |
| Unit takes excessive amount of time to heat up (longer than 60-70 min). | Unit plugged into an extension cord. | Set unit so an extension cord does not have to be used. |
| Door not closed properly. | Close door and fasten latch securely. | |
| Controller malfunctioning. | * | |
| There is a gap between the door and the smoker when in use and door latch has no more adjustment. | Door alignment. | * |
| Damaged door seal. | ||
| Grease is leaking out of smoker through door and legs. | Drip pan not in place. | Reposition so hole lines up with drain hole in bottom of unit. |
| Excess grease or oil build-up in unit. | Clean unit. | |
| Drain tube is not draining. | Check drain tube. | |
| No smoke. | Puulastut ovat loppuneet. | Lisää puulastuja. |
| Temperature rapidly decreased or shut down after few hours of use. | Faulty control unit. | * |
| Controller displaying error message. | Controller malfunctioning. | * |
| Power light is on, unit isn’t heating. | Controller/unit malfunctioning. | * |
| Controller does not adjust heat. | Controller/unit malfunctioning. | * |
* Please contact Mustang consumer service. Find the maintenance service’s telephone number on the website mustang-grill.com.
WARRANTY
All Mustang products have been carefully manufactured and quality-tested before leaving the factory. This smoker and its parts have a 12-month warranty from the date of purchase. The warranty covers defects in material and workmanship.
Normal wear and tear, rusting or corrosion of parts is not covered by the warranty. For example, cracking of ceramic surfaces, discoloration of steel surfaces and the occurrence of rust spots are normal during use and over time and do not affect the use of the smoker. Nor does the warranty cover parts that are subjected to wear and tear or rusting during use, such as parts made of cast iron and stainless steel. In the case of self-assembled smokers, the customer must always install and replace the parts according to the instructions. Failure to follow the instructions will invalidate the warranty. Always read through the user instructions carefully and follow them. Damage or defects resulting from improper use or neglect of maintenance are not covered by the warranty.
Nor does the warranty apply if the product is used for commercial manufacturing, sale or rental purposes. The warranty does not undermine the Consumer Protection Act in force in Finland.
If a product or part of the product becomes defective during the warranty period, please contact the importer or the Mustang Support Service via www.mustang-grill.com. Before submitting a warranty claim, please re-read the user instructions thoroughly to ensure that you have followed them. All warranty claims will be processed by the importer. A new part will be sent to replace any defective or missing part. The customer installs the new part replacing the defective or missing part.
The warranty is only valid upon presentation of a copy of the purchase receipt. The purchase receipt must include the name of the seller, the make and model number of the smoker and the date of purchase. The warranty claim must include the following information: the make and model number of the smoker, the reason for complaint, the part number of the defective part according to the parts list, a copy of the purchase receipt or statement of place of purchase, date of purchase, consumer’s name, telephone number, street address, postal code and city



]















