WINNCARE HOISTS Moving and Handling

Product Information
The Hoists Patientenlifter is a medical device manufactured by Winncare. It is designed to assist in the transfer of disabled persons. The hoist complies with the New Regulation (EU) 2017/745 for Medical Devices and carries the CE mark. It has been tested and meets the requirements of standard EN ISO 10535 for hoists for the transfer of disabled persons. The hoist is available in electric versions and comes with wheels. It has a weight capacity ranging from 130 to 185 kg.
Product Usage Instructions
- Assembly
- Activate the brake on the rear wheels.
- Open the legs of the hoist to increase stability.
- Initial Checks
- Ensure all parts are securely assembled.
- Check that the electric equipment is functioning properly.
- Safety Tips
- Follow all safety guidelines provided in the user manual.
- Always activate the brake on the rear wheels before use.
- Do not exceed the weight capacity of the hoist.
- Use and Maintenance Recommendations
- Refer to the user manual for detailed instructions on how to operate the hoist.
- Regularly inspect and clean the hoist to ensure proper functioning.
- Follow maintenance recommendations provided by the manufacturer.
- Electrical Information
- The hoist is equipped with an electric actuator and a control box powered by batteries.
- Ensure the batteries are properly charged before use.
- Product Life Expectancy
- The hoist has a specified product life expectancy. Refer to the user manual for more information.
- Cleaning
- Follow the cleaning instructions provided in the user manual.
- Use appropriate cleaning agents and methods to maintain hygiene.
- Disposal Method
- Dispose of the hoist according to local regulations and guidelines.
- Faults and Remedies
- If any faults or issues arise, refer to the user manual for troubleshooting steps.
- Contact the manufacturer or authorized service center for further assistance.
- Guarantee
- The hoist is covered by a guarantee. Refer to the user manual for details on the guarantee terms and conditions.
- Position of Slings
- Follow the recommended guidelines for positioning slings on the hoist.
- Annual Quality Control
- Arrange for an annual quality control check of the hoist to ensure its continued performance and safety.
Parts List
- A Leg
- B Column
- C Electric actuator
- D Base opening pedal
- E Control box + batteries
- F Handset
- G Hoist arm
- H Screw
- I Hanger
- J Front wheel without brake
- K Rear wheel with brake
- L Base
INTRODUCTION
- Please read these operating instructions carefully before using your hoist: contains useful information on safety, handling and maintenance.
- Winncare has wide experience in manufacturing hoists acquired throughout the years.
- The constant improvements introduced have bolstered our development as a Technical Aids manufacturing company, which is clearly reflected in our wide range of models and applications.
- Winncare hoists comply to the New Regulation (EU) 2017/745 for Medical Devices and so carry the CE mark. They have been tested at the Biomechanic lnstitute of Valencia (IBV) and fulfil all the requirements laid down in standard EN ISO 10535: “Hoists for the transfer of disabled persons. Requirements and test methods”.
- Winncare has a range of hoists with wheels from 130 to 185 Kg, all of them in electric versions.
- These operating instructions have been written in accordance with the current designs of the products. All of them are constantly subject to a process of continuous improvement Therefore, we reserve the right to modify any technical data that appears in this operating instructions without prior warning.
- All the data, figures and measurements included in this operating instructions are approximate and must not be considered as strict technical specifications.
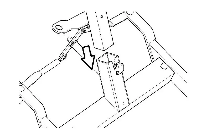
ASSEMBLY
- Every hoist is fully assembled in the factory to check that it works properly and, depending on the version, is dismantled or folded for packaging and transport.
- Winncare hoists are designed to facilitate assembly without the use of any tool.
- Remove all the parts of the hoist from the packaging (some of the m are heavy and you may need someone else to help you).
- Put the break of the rear wheels on and spread the legs to increase the stability of the structure.
- Check that the handle located on the central tube of the hoist’s column is sufficiently loose to allow the base to be fitted.

- Insert the column into the base.

- Tighten up the handle.

INITIAL CHECKS
Before using your hoist, check that
- The legs of the hoist open and close correctly. It must provide a certain amount of resistance to prevent them from opening or closing accidentally.
- The wheels turn and revolve normally.
- The brakes on the rear wheels work properly and the column is fully attached in its usage position.
- The hanger turns and is adequately balanced.
- There is no wear or deformation of the hanger hooks.
- The slings are not damaged or frayed.

ELECTRICAL EQUIPMENT
- Check that the connection of the actuator, the handset and the charger are firmly connected to the control box.
- Press the up and down buttons (and those opening and closing the legs) to check that the actuator operates correctly.
- Check that the red emergency stop button is working correctly; if you press it, with the hoist moving up or down, it must stop.
- Before using the hoist for the first time, it is advisable to charge the batteries for at least 5 hours.

SAFETY TIPS

- Familiarise yourself with the hoist’s devices and how they work before using it fot real.
- Your hoist is designed for lifting patients, not for any other purpose.
- Check that the weight of the patient does not exceed the maximum weight that the hoist can lift or the sling bear.
- Check that the end or the actuator is fitted between the plate on the hoist arm and has its pin correctly inserted. Do not force the controls and devices of the hoist. All of them are easy to use and do not require excessive force to be applied.
- Manoeuvre the hoist by pushing on the handles and never push the column, the hoist arm or the patient. Move the patient with the legs of the hoist in closed position. The hoists must be handled gently when moving patients, maintaining a speed movement appropriate to the situation. Move the hoist on flat and straight floors. Their use on surfaces with a slope greater than 5 degrees is not recommended; should you have to pass through a sloping area, we advise you to have a second person to help you.
- Never use an electric hoist in a shower. Do not charge the batteries of a hoist in a bath or shower.
- Never leave a patient alone in a hoist.
- Winncare hoists have been designed and manufactured for use with Winncare slings and accessories; the slings and accessories of other manufacturers have not been tested by Winncare and so their use cannot be recommended. Do not use a frayed or worn sling end check that the size and characteristics are suited to the patient.
- Adjust the sling in accordance with the sling usage instructions. Before lifting, always make sure that the belts or the sling are correctly positioned at the end of the hanger; this must be checked when the belts are taut, but before beginning to lift the patient.
- Before lifting the patient, be sure that the strap of the harness are correctly positioned in the hanger.
- It must be checked when the straps are taut but the patient has not been lifted yet.
USE AND MAINTENANCE RECOMMENDATIONS

- The hoist has swivel wheels; the rear wheels have brakes that stop them from both turning and swiveling. The brake is applied and released with the foot by means of a lever.
We recommend not putting the brake on the wheels when the user is being lifted so that the hoist can move towards the centre of gravity when the patient is lifted from a chair, bed or any other stationary object, whilst at the same time holding it by the handles. - The opening of the base, in order to facilitate, for example, the entrance of the wheel-chair, is done by pressing with the foot on the appropriate side of the pedal.


- It is advisable to lubricate all the parts of the hoist where movement takes place. This will improve how it operates and prevent possible wear and tear of the parts through daily use.
- Prevent dirt accumulating on the axle and the hall bearings of the wheels.
- Daily check that the screws, nuts, etc… are tight and check for slack between the different components of the hoist. It is recommended an annual review following the parameters of Annex .
- It is not advisable to leave the hoist in places with a high degree of humidity (near the sea, indoor swimming pools, etc…) or in corrosive atmospheres that may affect their components.
- The electrical equipment has an emergency lowering system. Depending on the type of crane, it can be manually or electrically. In the case of the manual system (nº1), is activated by turning the mechanism. In the case of the electrical system is activated by pressing the lower button on the control box (nº2).
- It also has two safety systems (electrical and mechanical) that disengages the motor if, in the downward movement of the hoist, it comes up against an obstacle that hinders it from descending (parts of the user’s body, furniture…).
- The electrical equipment has an emergency stop button (nº 3) that disconnects the motor’s battery automatically halting the movement of the hoist. To disengage the stop button, it must be turned. When the hoist is NOT in use, press the emergency stop button to prevent the batteries from running down. Keep the electrical equipment away from water and other liquids to protect it from possible splashes that may affect its internal circuits causing serious damage.
- The battery housing has several ventilation holes (nº4) that ensure the necessary and correct air circulation within this space. This ventilation must not be blocked or covered.
- When undertaking the raise-lower movement of the hoist, keep the appropriate button pressed in, avoiding pressing the buttons repeatedly, as repeated start-ups of the motor uses up more battery, discharging it more quickly.
- The batteries must be replaced after 4 years and perhaps before, depending on the type of use. Heavy and frequent unloading reduces the life of the battery.
- When the low battery beep is heard. In this case will be a maximum of 8 cycles of elevation and should be put to charge immediately.
- For the optimum life of the battery, recharge it as often as possible. Recharging time is around 5 to 8 hours. It is convenient to charge the battery every 20 transfers.
- While the battery is being charged, the hoist cannot be used.
- Batteries of equipment not habitually used must be recharged at least every 3 months; otherwise they could be damaged as a consequence of their own self-discharge.
- To charge, you must check that the connections are correctly attached (nº1) and that the emergency stop button is not pressed in (nº2), otherwise the batteries will not be charged in an appropriate way.
- Remember: the battery is the only component of the electrical equipment that requires continuous maintenance. If you do not follow the advice above, the battery may discharge to a level that does not allow it to recover its full charge or may even render it useless.
- Nº 3: Blink: Battery charging
- Continuous light: Charged battery

ELECTRICAL INFORMATION
- For all its electrical hoist equipment, Winncare uses the Linak company, a world leader in manufacturing this type of equipment.
- The electrical equipment complies with the following standards
- IEC 60601-1 Medical electrical equipment. Part 1: General requirements for basic safety and essential performance.
- IEC 60601-1-2 Medical electrical equipment. Part 1-2: General requirements for safety collateral standar: electromagnetic compati-bility. Requerements and tests.
- The máximum work cycle of the electrical equipment is 10% or 2 minutes of continuous use followed by 18 minutes rest.
- If this work cycle is exceeded there is a risk that the equipment will overheat and cause a breakdown.
- Operational environment of the electrical equipment: from +5° C to +40° C
- Actuator 24V continuous current.
- Batteries 2 x 12V / 2.9Ah sealed rechargeable batteries of the lead-acid type.
- Noise level: (<50dB)
| EQUIPMENT AND IP PROTECTION | HOIST ACTUATOR | CONTROL BOX | HANDSET |
| Ref. 102102043/UDI: 8436571820426- Basic E130 | LA31 IP54 | CBJH IPX4 | HB71 IPX6 |
| Ref. 102102044/UDI: 8436571820433 – Hop! E150 | LA31 IP54 | CBJH IPX4 | HB71 IPX6 |
PRODUCT LIFE EXPECTANCY
- All Winncare hoists have been tested according to EN ISO 10535, and have a minimum lifespan of 6 years. In order to prolong the useful life of the hoist, it is necessary to continue with the annual revisions by our official technical service.
- The following table indicates the estimated life of the motor / actuator depending on the number of elevations per day.
| Elevation X day | Years life |
| 30 | 1 |
| 15 | 2 |
| 10 | 3 |
| 7-8 | 4 |
| 6 | 5 |
| 5 | 6 |
| 4-5 | 7 |
| 3-4 | 8 |
| 2-3 | 9 |
| 1-2 | 10 |
- This table can be indicative depending on the use, load and stroke .
- The LINAK specifications mentioned can be found on the actuator label, or if it is not there, they can be consulted in the corresponding data sheet at www.linak.com

CHANGING BATTERIES 
- BLACK
- RED

CLEANING
- The hoist must be cleaned using a damp cloth with a product used for cleaning furniture or similar that does not contain solvents that could damage the coating of the hoist.
- Do not allow the electrical elements of the hoist to come into contact with water. To disinfect , apply steam throughout the structure .
DISPOSAL METHOD
- The hoist is manufactured with Steel profiles with an epoxy coating. Therefore, to dispose of it you must follow recycling regulations or local recommendations on disposal.
- Rechargeable batteries containing lead (Pb) must be reveled so they should be disposed of in containers destined for recycling cars batteries or at the appropriate waste management sites.
FAULTS AND REMEDIES
- SYMPTOM
- The lift arm, with the hoist unloaded, sometimes does not lower.
- CAUSE
- The lift arm needs a minimum weight in order to descend.
- SOLUTION
- Lightly push the lift arm downwards at the same time as pressing the down button.
- SYMPTOM
- The moving parts of the hoist do not function smoothly.
- CAUSE
- Lack of lubrication.
- SOLUTION
- Lubricate moving parts.
- SYMPTOM
- The actuator does not work but a “click” can be heard inside the control box when pressing the handset.
- CAUSE
- Actuator plug badly connected to the control box.
- Fit batteries.
- Damaged actuator cable.
- Actuator or control box broken down.
SOLUTION - Connect the actuator correctly.
- Charge batteries.
- Send actuator to be repaired.
- Send equipment to be serviced.
SYMPTOM
The actuator does not work and there is no “click” sound in the control box when pressing the handset.
CAUSE
- Red emergency button pressed in.
- Equipment with removable battery that has not made a good contact.
- Bad connection of the electrical components.
- Discharged batteries.
- Handset cable damaged.
- Damaged equipment.
SOLUTION
- Turn it to release it.
- Put the battery correctly.
- Check the connections.
- Charge the batteries
- Replace the handset.
- Send equipment to be serviced.
SYMPTOM
The actuator stops.
CAUSE
- Discharged batteries (acoustic warning sounds on pressing the handset)
- The weight that the hoist can lift has been exceeded.
SOLUTION
- Charge batteries.
- Reduce the weight.
- SYMPTOM
The actuator only works in one direction. - CAUSE
- Breakdown in handset.
- Breakdown in control box.
- SOLUTION
- Replace handset.
- Send equipment to be serviced.
- SYMPTOM
The batteries do not charge. - CAUSE
- Bad connection.
- Breakdown in charge circuit.
- SOLUTION
- Check connections.
- Send equipment to be serviced.
If the problems cannot be solved through these suggested recommendations, contact your supplier.
GUARANTEE
- All hoists have been rigorously inspected; on their labels there is a lot and serial number that lists that hoist with the materials, equipment, and components employed and the work processes undertaken for their manufacturing, assembly and inspection.
- The Winncare hoists have a 5 year warranty and 1 year for the battery, under normal usage conditions, respecting the recommendation on use and maintenance and not changing or manipulating any of their components.
- Any manipulation or alteration, especially of the electrical equipment, renders this guarantee null and void. In the event of some defective or malfunctioning of the hoist or any of its components, please, contact the distributor where you purchased it, presenting it together with the invoice or purchase receipt, so that it may be inspected and according with the manufacturer, decide whether to repair it or replace it. Winncare does not accept responsibility for imperfections caused by bad usage or as a consequence of not having followed the recommendations given in these operating instructions.
- According with Council Directive 85/374 / EEC of July 25, 1985, on the approximation of the legal, regulatory and administrative provisions of the Member States regarding liability for damage caused by defective products, the distributor and / or WINNCARE will not be the damage caused by the defect that did not exist at the time the product was put into circulation or that this defect appeared later.
| Máx. Cm. | 102102043 Basic E130 | 102102044 Hop! E150 |
| 130 Kg. | 150 Kg. | |
| A | 198 | 180.5 |
| B | 137.5 | 110.5 |
| C | 25.5 | 25.5 |
| D | 46 | 46 |
| E | 11.5 | 11 |
| F | 5 | 4.5 |
| G | 10 | 7.5 |
| H | 7.5 | 7.5 |
| I | 173.5 | 157 |
| J | 113 | 84 |
| K | 51.5 | 39 |
| L | 110 | 99.5 |
| M | 133 | 117 |
| N | 80 | 77 |
| O | 65.5 | 56.5 |
| P | 53.5 | 44 |
| Q | 147 | 130 |
| Kg | 38.1 | 29.5 |
| Kg | 16.1 | 13.8 |
| Kg | 22 | 15.7 |


| Sonorous Pressure | <65 Db | |
| Ergonomic requirements test | Handset | 0.8 N |
| Pedal Base opening pedal | 240 N | |
| Starting force | 150 N | |
| Force de rotation Turning force | 155 N | |
| Force | 83 N | |

| 102102043/ UDI: 8436571820426 Basic E130 | 102102044/ UDI: 8436571820433 Hop! E150 | |
| A1 | 74322521 | 601011003 |
| A2 | 6303029390 | 601238001 |
| A3 | 74500004 | 601010003 |
| B1 | 605010019 | 605010019 |
| B2 | 605012022 | 605012022 |
| B3 | 6300000023 | 6300000023 |
| B4/ C1 | 82000011 | 82000011 |
| B5 | 61300062 | 61300062 |
| B6 | 605018002 | 605018002 |
| C2 | 81000028 | 81000028 |
| C3 | 82000012 | 82000012 |
| Fundi perch | L-16655 | L-16655 |
| Perche complete | SEL-16525 | SEL-16525 |

| IDENTIFICATION OF THE MEDICAL EQUIPMENT | ETABLISSEMENT | |
| CATEGORY: | ||
| BRAND / MODEL / TYPE: | ||
| SERIAL NUMBER: | INVENTORY NUMBER: | DEPARTMENT / LOCATION: |
| MANUFACTURING DATE: | ||
| VISUAL INSPECTION (According to EN ISO 10535) | NA | C | NC |
| Availability and good condition of the instruction manual, loading plate, identificación plate / labelling / printing. | |||
| Good general condition (structure, base, articulations, welds, attachments, etc…) Absence of rusting. | |||
| Good general cleanliness. | |||
| Good stability of the hoist and good operation of the base opening / closing. | |||
| Checking of the tightness of screws (suspension pin of the lifting arm, weighing module attachments, etc..) absence of space. | |||
| Good condition of slings and clade or hammock, including the attachment system. | |||
| Good rotation of the gripping bar and good condition of the hooks. | |||
| Good operation of the wheels and brakes (swiveling, running, locking). | |||
| Good lubrication of articulations (absence of noise, nuisance, squeaking and hard points). | |||
| Good condition of electric cables, control boxes, connectors and actuators (jacks, motors…) | |||
| Good condition of controls and indicator lights. |
| SAFETY INSPECTION (According to NF EN ISO 10535) | NA | C | NC |
| Looking out of operational functions and correct operation of visual and audible alarms. | |||
| Emergency stop operates correctly. | |||
| Battery and charger operate correctly. | |||
| Obstacle stop operates correctly. | |||
| Correct operation of the emergency descent. | |||
| Test at maximum load (1 complete cycle). |
| INSPECTION OF THE AMPLITUDE OF MOVEMENTS | NA | C | NC |
| Satisfactory operation of the actuator (elevation/descent) | |||
| Maximum and minimum height (according to the manufacturer specifications) |
| ELECTRICAL SAFETY (According to EN 60601-1) | ||
| Continuity: | Tester model: | Serial number: |
| Breakdown: | ||
| CONCLUSION | NA | C | NC |
| Operational: Patient safety, care and technical staff will be in danger? | |||
| Action to provide: | |||
| Recommended for the next QC Date: | |||
| OPERATOR | ||
| Name: | Date: | Signature: |
![]() | Read the instructions |
![]() | Warning |
![]() | Manufacturer information |
![]() | Manufacturing date |
![]() | Do not throw in trash bins |
![]() | Use indoors |
![]() | Do not use if the packaging is broken |
![]() | Class 2 equipment |
| Equipment type B according to EN 60601-1 |
DISTRIBUIDOR O [email protected]
Tel. 96 156 55 21
Fax. 96 156 03 83
[email protected] www.winncare.es
Technical support service
[email protected]
WINNCARE
Carretera Masía del Juez, 37 46909 Torrent Valencia (Spain)
References
Winncare Spain : Fabricante de camas hospitalarias, tratamiento y prevención de úlceras por presión: colchones y cojines terapéuticos, grúas eléctricas y mobiliario para colectividades - Winncare Spain
LINAK - electric linear actuator technology systems for movement
Winncare Spain : Fabricante de camas hospitalarias, tratamiento y prevención de úlceras por presión: colchones y cojines terapéuticos, grúas eléctricas y mobiliario para colectividades - Winncare Spain

































