SYSGRATION UPC-N101 10.1 Inch 15.6 Inch and 21.5 Inch Universal Panel Computer User Guide

Product Overview

A. DC Power Input
B. 10/100/1000 GbE
C. 2 x USB 3.0 ports type A
D. USB 3.0 Type-C DRP
E. Micro SD Card Slot
F. HDMI output 2.0
G. RS232 Serial Port
H. Reset tact-switch push
I. Audio Line Out
Product Dimensions
UPC-N101 dimension

UPC-N156 dimension

UPC-N215 dimension

Specifications and dimensions are subject to change without notice.
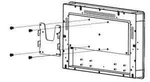
Panel Mounting UPC
- The appropriate cut out on the panel or wall, refer to this table for appropriate cutout dimension for deferent UPC sizes.
Type Suggested cut out size (w x h) UPC-N101 259.20 x 177.80 mm UPC-N156 392.20 x 241.50 mm UPC-N215 536.60 x 328.10 mm - Insert the UPC into the cutout area.
- Place the mounting bracket to the UPC and fasten it using M3 x 6 mm screw (torque max 4 kgf-cm), tighten each mounting bracket on every side until each of it is firmly tightened.
- Fasten the M4 x 20 mm screw to x the bracket to the panel.
- Installation complete.

VESA Mounting UPC
UPC-N101 can be mounted to a VESA 75 x 75 and UPC-N156/N215 can be mounted to a VESA 100 X 100 mounting system.
- Rear view with holes (M4-depth 5 mm) for VESA 75/100 Mounting.
- UPC has to be installed and operated only by trained personnel.
- Please make sure the VESA Plate supporting weight is appropriate for different sizes and weight of UPC.

Use proper mounting equipment to prevent serious injury.
Expansion Module Installation (optional)
- Secure module mounting bracket to the UPC system using M3 x 5mm screw with torque maximum 4 kgf-cm.

- Pass the cable into cutting hole on the mounting bracket and then secure expansion module to the mounting bracket.

- Fasten the expansion module into the mounting bracket using M3 x 5 mm screw with torque maximum 4 kgf-cm.

- Organize USB cable behind panel computer to neatly attached (using the clamp cable) to the back of your panel computer and then connect the USB cable to I/O Port (USB).

- Installation complete.

Setup Procedures
System Power On
- For the UPC-N101/ UPC-N156/ UPC-N215 model, connecting the system to a DC power source or external power supply via DC in Jack.
- Hold power cords by the plugs end only.
- After DC input, the system will be activated automatically.
UPC needs to be installed and operated by trained personnel.
Operating the touchscreen

To avoid damage, do not tap the screen with sharp object.
For more information about this or other Sysgration products,
please visit our website at http://www.sysgration.com
For technical support and service, please visit our support website atn http://www.sysgration.com
This manual is for UPC-N101/N156/N215.
Manufacturer
Sysgration Co., Ltd.
6Fl., No.1, Sec. 1, Tiding Blvd., Neihu Dist., Taipei City, 11494, Taiwan, R.O.C.
TEL: +886-2-2790-0088
























