CRYSTORAMA 9230-BK_CEILING Astro One Light Ceiling Mount

Product Information
The CrystOfama Ceiling Light Fixture has been providing lighting solutions for sixty years. This fixture is damp-rated and can be used in various indoor spaces. The fixture requires one medium base bulb with a recommended wattage of 60 watts and a maximum wattage of 100 watts. LED bulbs are recommended for extended use. The electrical components of the fixture must be installed by a licensed electrician in accordance with the National Electric Code and the appropriate local electrical codes. The fixture comes with a mounting plate, canopy, ball nut, frame, and socket ring. Please note that the fixture contains lead which is known to cause cancer and/or birth defects or reproductive harm.
WARNING All electrical components must be installed by a licensed electrician in accordance with the National Electric Code and the appropriate local electrical codes.
You will need 1- Medium Base Bulb 60 Watts Recommended 100 Watts Max. USE LED BULBS FOR EXTENDED USE.
Product Usage Instructions
- Turn off the power before starting the installation process.
- Place the fixture frame on a soft cloth-covered table before installation.
- Install the mounting plate onto the outlet box using the two outlet box screws.
- Place the canopy onto the junction box, align the mounting screw on the mounting plate with the mounting holes on the canopy, and lock it securely with the ball nut.
- Place the frame over the socket and secure it with the socket ring.
- Install the bulb into the socket.
Please follow the above instructions carefully to ensure the safe and proper installation of the CrystOfama Ceiling Light Fixture.
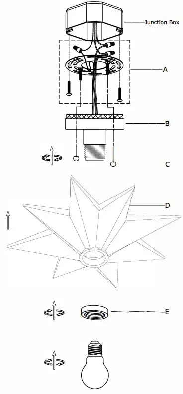
Part Number

- A. (!)-Mounting hardware
- B. (!)-Canopy
- C. (2)-Ball Nut (XFW9230BKBANUT)
- D. (1)-Frame
- E. (1)-Socket Ring (XFW9230BKSORING)
INSTALLATION

- Install the Mounting Plate onto the outlet box using the two outlet box screws.
- Place the Canopy (B) onto the junction box, aligning Mounting Screw on the Mounting Plate with mounting holes on the Canopy (B) and lock it securely with Ball Nut (C).
- Place the Frame (D) over the Socket and secure with socket ring(E)
- Install the Bulb into the Socket.
WARNING: This product can expose you to Lead which is known to the state of California to cause cancer and/or birth defects or reproductive harm. For more information go to www.P65Wamings.ca.gov.
DIMENSION






















