CRYSTORAMA 9230-EB_CEILING Astro 1-Light Ceiling Mount Ceiling Light Instruction Manual
ASSEMBLY INSTRUCTION
WARNING
Electrical Danger
Turn Power off
All electrical components must be installed by a licensed electrician in accordance with the National Electric Code and the appropriate local electrical codes.
You will need 1- Medium Base Bulb
60 Watts Recommended 100 Watts Max. USE LED BULBS FOR EXTENDED USE
THIS FIXTURE IS DAMP RATED
Please place the fixture frame on a soft cloth covered table before the installation.
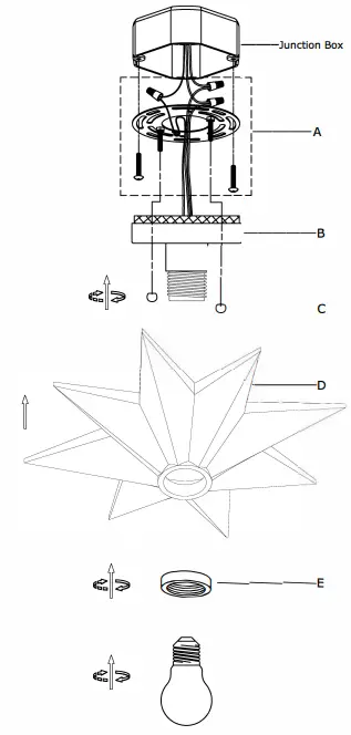
- Install the Mounting Plate onto the outlet box using the two outlet box screws.
- Place the Canopy (B) onto the junction box, aligning Mounting Screw on the Mounting Plate with mounting holes on the Canopy (B) and lock it securely with Ball Nut (C).
- Place the Frame (D) over the Socket and secure with socket ring(E)
- Install the Bulb into the Socket.
Drawing (1)
Drawing (2)

WARNING: This product can expose you to Lead which is known to the state of California to cause cancer and/or birth defects or reproductive harm. For more information go to www.P65Wamings.ca.gov.
Part Number

A. (!)-Mounting hardware
B. (!)-Canopy
C. (2)-Ball Nut (XFW9230EBBANUT)
D. (1)-Frame
E. (1)-Socket Ring (XFW9230EBSORING


















