ADRIAN STEEL 66881 50 LBS PER Shelf Instruction Manual

PROCHICT FEANRES
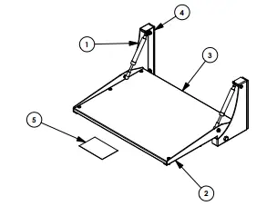
Folding table with Russian birch wood table.The folding table can be installed in various locations through out the vehicle (partition. rear doors. etc). This unit folds down at 90deg. and folds up paral-lel to mounting surface.
SEE PA/3E 1 FOR APPUCATON NOTES AND ACZESSORES.OTICE PROOUCIA THAT WORK WITH 11413 UNIT.




BEST PRACTICES
GET TO KNOW THE VEHICLE –
AT THE BEGINNING OF ANY INSTALLATION, CHECK THE LOCATION OF THE FUEL TANK, FUEL LINES, BRAKE LINES, HIGH VOLTAGE
BATTERIES AND WIRING HARNESSES TO AVOID INJURY OR PROPERTY DAMAGE FROM TOOL CONTACT.
SEAL ALL EXTERIOR HOLES –
ALL INSTALLATION HOLES SHOULD BE SEALED WITH BUTYL TAPE OR SILICON TO PREVENT WATER AND EXHAUST GASES FROM ENTERING THE VEHICLE. CONTROL DRILL DEPTH – TO AVOID DAMAGE TO THE VEHICLE, USE A DRILL STOP OR CLEARED STEP BIT WHEN DRILLING INSTALLATION HOLES. ALWAYS ADD PRIMER – WHEN ADDING INSTALLATION HOLES BE SURE TO USE A
SELF-ETCHING PRIMER TO PREVENT CORROSION, FASTENER FAILURE AND INJURY.
MOUNTING POINTS MUST HAVE METAL
-TO-METAL CONTACT – USE PROVIDED MOUNTING SPACERS TO ACCOMMODATE FOR VEHICLE FEATURES, CARPET OR
SUBFLOORS.
PROVIDE CLEARANCE FOR SPACERS – IF THE INSTALLATION VEHICLE CONTAINS A CARPET OR SUBFLOOR, USE A 1-3/16″ DIAMETER CARPET CUTTER (P/N: 31183-0) AT ALL MOUNTING LOCATIONS TO OPEN UP ROOM FOR SPACERS. CHECK SPACER ORIENTATION – BE SURE THAT THE INDENT IN THE SPACER COVERS THE PLUSNUT HEAD; THIS ENSURES THE MOST METAL-TO-METAL CONTACT AND
REDUCES VIBRATION.
PLUSNUT INSTALLATION – A PLUSNUT GUN IS RECOMMENDED FOR PLUSNUT INSTALLATION FOR ITS PRODUCTION SPEED. HOWEVER, A PLUSNUT SETTING TOOL CAN ALSO BE USED (P/N: 22200-0).
FASTENERS USED

BEGIN ASSEMBLY
STEP 1 – MARK ARM HOLES ON WOOD DESK. DRILL HOLES USING A 0.281-9/32″ DRILL BIT. WOOD MAY CHIP DURING THE DRILLING
PROCESS, TAPE OVER DRILLING LOCATIONS MAY REDUCE CHIPPING.

STEP 2 – THROUGH BOLT THE TABLETOP TO THE ARMS

STEP 3 – TRANSFER HOLES TO PARTITION AT DESIRED LOCATION. DRILL LOCATIONS WITH A 0.343″ DRILL BIT. THROUGH BOLT AS SHOWN


















