TOOLCRAFT BT-2368900 Adjustable Corner Shelf Unit 175 KG

Assembly instructions
Adjustable Corner Shelf Unit 175 KG
Item no. 2521299
Intended use
The product is intended for storing loads of up to 175 kg per shelf. The shelves can be mounted at different heights and fits in corners to maximize floorspace. The parts can be assembled to produce different setups e.g. shelf, table.
For safety and approval purposes, you must not rebuild and/or modify this product. If you use the product for purposes other than those described above, the product may be damaged. Improper use can furthermore cause hazards such as injuries. Read the assembly instructions carefully and keep them. Make this product available to third parties only together with its assembly instructions.
This product complies with the statutory national and European requirements. All company names and product names are trademarks of their respective owners. All rights reserved.
Delivery contents
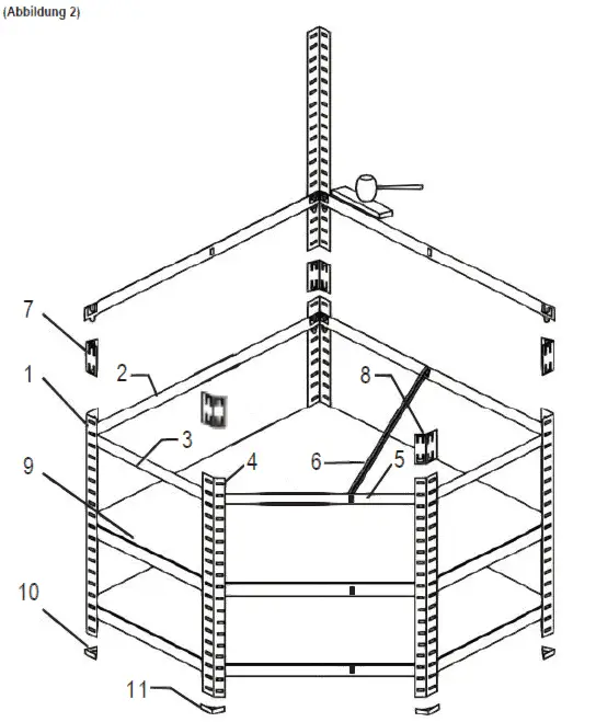
√refer to section “Assembly, b) Installation (Figure 2) “ for information about where the parts fit during installation.

Up-to-date operating instructions
Download the latest operating instructions from our website www.conrad.com/downloads or scan the printed QR code. Follow the instructions on the website.
Description of symbols
The symbol with an exclamation mark in a triangle indicates important instructions contained in these operating instructions that must be followed.
The arrow symbol indicates special information and advice on operation.
Safety instructions
Read the assembly instructions carefully and especially observe the safety information. If you do not follow the safety instructions and in-formation on proper handling in this assembly instructions, we assume no liability for any resulting personal injury or damage to property. Such cases will invalidate the warranty/guarantee.
- The device is not a toy. Keep it out of the reach of children and pets.
- Do not leave packaging material lying around carelessly. These may become dangerous playing material for children.
- To handle heavy loads, ask another person for help, in order to avoid injuries (e.g. back injuries).
- Verify that the delivery content is complete before assembling the product. Do not assemble the product if the delivery content is not complete.
- Exercise caution when assembling the product! The product has some sharp corners which pose a risk of injury! There is also a risk of your fingers getting caught.
- Only carry out the steps required for assembly. Never attempt to modify or repair the product. Do not make any modifications.
- Perform the installation very carefully. Malfunctions can cause expensive consequential dam-age; there is also a risk of injury.
- Do not overload the product. Observe the “Technical data”.
- Distribute the load on the product as evenly as possible.
- Always observe the maximum load capacity of the surface.
- Place the product on a flat, stable surface only.
- Do not use the product as a climbing aid, e.g. as ladder.
- Check the functioning of the product before start-ing to work.
- In case of doubt, do not install the product your-self; have a professional do it for you.
- Protect the product from extreme temperatures, direct sunlight, strong jolts, high humidity, mois-ture, flammable gases, vapours and solvents.
- If it is no longer possible to operate the product safely, take it out of operation and protect it from any accidental use. Safe operation can no longer be guaranteed if the product:
- is visibly damaged,
- is no longer working properly,
- has been stored for extended periods in poor ambient conditions or
has been subjected to any serious transport-related stresses.
- Please handle the product carefully. Jolts, impacts or a fall even from a low height can damage the product.
- Contact an expert if you are in doubt regarding the function, safety or installation of the product.
- Maintenance, modifications and repairs are to be performed exclusively by an expert or at a qualified shop.
- If you have questions which remain unanswered by these assembly instructions, contact our technical support service or other technical personnel.
Required tools
Use the following accessories (not included) to assist with installation:
- Work gloves
- Mallet
- Flat screwdriver
Assembly options
You can set the product up in different ways for example:
- Tables

- Shelf
Images below are of the same shelf setup from different angles.
Assembly
- Important note

- Installation
The crossbeams (6) and shelves (9) provide structural strength and stability. Do not assemble without them in place.
- Start by assembling the base as shown in figure 1.
- Attach the feet (10) (11) to the base.
- Insert a shelf (9).
- Continue to build each level up the same way as shown in figure 2).
(Figure 1)
(Figure 2)

Cleaning and care
Under no circumstances use aggressive cleanings agents, cleaning alcohol or other chemical solutions since these can penetrate the housing or impair functionality.
Use a dry, soft and clean cloth for cleaning.
Disposal
At the end of its service life, dispose of the product in accordance with applicable regulatory guidelines.
You thus fulfill your statutory obligations and contribute to the protection of the environment.
Technical data
- Loading capacity 175 kg (per shelf)
- Thickness of upright 0.6 mm
- Thickness of beam 0.55 mm
- Thickness of shelf 5 mm
- Dimensions (L x W x H) 700 x 700 x 1800 mm
- Weight 16 kg
This is a publication by Conrad Electronic SE, Klaus-Conrad-Str. 1, D-92240 Hirsch au (www.conrad.com). All rights including translation reserved. Reproduction by any method, e.g. photocopy, microfilming, or the capture in electronic data processing systems require the prior written approval by the editor. Reprinting, also in part, is prohibited. This publication represent the technical status at the time of printing.
Copyright 2022 by Conrad Electronic SE.
- *2521299_v2_0422_02_dm_mh_en






















