celexon Home Cinema Frame Dynamic Slate

WARNINGS
The purpose of these operating instructions is to familiarize you with the operation of this this product. Therefore, keep these instructions in a safe place so that you can access them at any time.
- The purpose of these operating instructions is to familiarize you with the operation of this this product. Therefore, keep these instructions in a safe place so that you can access them at any time.
- Before installation, please refer to the enclosed data sheet for further safety and use instructions.
- Do not begin installation until you have read and understood the complete opera-ting instructions.
- This product must be installed on a level, clean surface with sufficient space around the installation area.
- Carry out the installation with another person to ensure safe installation.
- Remove the product from its packaging and remove all packaging materials. Make sure that there is no packaging material on or in the product. If you notice any da-mage to the packaging, also check for damage to the product. If you notice any external damage to the unit or unexpected unusual functioning, do not continue to use or assemble the product. Immediately contact the dealer from whom you purchased the product or celexon directly (Web: www.celexon.co.uk, Mail: [email protected]) for further information.
To ensure trouble-free operation, the product must only be used indoors and is NOT suitable for outdoor use. - The use of the screen and accessories is forbidden to children under 16 years of age.
- Ensure that no children play with the screen or are in the vicinity without supervision.
- Converting or modifying the product compromises product safety.
- Caution: Risk of injury! Never modify the product yourself. Never carry out repairs yourself!
- This product may only be used in its original, unmodified condition.
- Do not use the product in the vicinity of devices that emit gases or water or in a dusty environment.
- Handle the product with care. It can be damaged by knocks, blows or falling from a from even a small height.
- Keep the product away from moisture and heat.
- Never immerse the product in water or other liquids.
- Use the product only in its intended manner. Other use may result in damage to the product or its surrounding environment.
- Tighten the screws but do not overtighten them. Overtightening (e.g. by using a cordless screwdriver) this can cause damage and affect the secure hold of the screen.
- Suspended loads must be checked for strength and load-bearing capacity at least twice a year.
- Failure to follow the above instructions may result in personal injury and damage to the product or equipment attached to it. Incorrect installation or use may also invalidate the warranty may be voided.
- If you are unsure about the use of the product, please contact your specialist personnel, your dealer or celexon directly (Web: www.celexon.co.uk, Mail: [email protected]).
- Technical changes and errors expected.
The manufacturer accepts no responsibility for damage to property or personal injury, if the screen is used outside the recommended specifications, or in the event of improper installation. Do not use this screen in the vicinity of heaters or air conditioners. Also, do not mount the product in direct sunlight or in front of a window. Due to the temperature-sensitive PVC surface, the projection screen fabric may be permanently damaged.
We recommend that you wait approx. 2 hours after delivery before installing the projection screen. This way you will allow the screen to acclimatize, especially when moving from a cold to a warm environment (or vice versa).
Please avoid any stains on the surface of the screen. These may not be able to be re-moved
- Note the front and back of the fabric when attaching it
- Please check ALL parts for damage or scratches before assembling!
- The screen may ONLY be assembled on a soft, padded surface. Otherwise the frame coating may scratch.
- For permanent flatness, please note the following:
- Do not touch the projection surface with your hands
- Do not fold the projection surface
- Do not paint or write on the projection surface
DISCLAIMER
The information in this document is subject to change without notice by the manufacturer. Changes will be added to subsequent versions of this manual. Errors expected.
CARE INSTRUCTIONS
NEVER clean the screen with alcohol or other cleaning agents containing sol-vents. Use only a soft and clean cloth. If necessary, dirt can be removed from the surface with a mild soap solution (max. 5%). It is essential to avoid contact with pointed or sharp objects. These could permanently damage the projection screen fabric. Further instructions can be found in the enclosed projection screen instructions.
* Number of springs varies according to size
- 100“= 36 pcs + 2 pcs spare springs
- 110“ = 42 pcs + 2 pcs spare springs
- 120“= 44 pcs + 2 pcs spare springs
- 126“= 50 pcs + 2 pcs spare springs
- 135“= 50 pcs + 2 pcs spare springs
MOUNTING MATERIAL

INSTALLATION NOTES
Before installation, please check that all the parts listed above are included! If parts are missing, contact the dealer from whom you purchased the product and wait for the parts to arrive before completing the installation.
Install the screen in a position that is fully visible to all viewers! The optimum installation height corresponds to the position of the viewers in the centre of the screen with the screen fabric extended: eye level = lower third of the screen surface.
The enclosed mounting material is intended for a solid stone wall. If necessary, obtain suitable mounting material for your Installation surface.

| Diagonale (C) in inches | Format | Total size including frame (WxHxD) in mm | Weight net in KG |
| 100“ | 16:9 | 2230x1270x36 | 13,9 |
| 110“ | 16:9 | 2470x1400x36 | 14,9 |
| 120“ | 16:9 | 2680x1520x36 | 16,48 |
| 126“ | 16:9 | 2830x1610x36 | 18,26 |
| 135“ | 16:9 | 3030x1715x36 | 19,3 |
STEP 1: ASSEMBLY OF THE INNER FRAME
- Place the two long inner frame pieces as shown. Make sure that the side with the notches is on top.

- Place the „inner frame brackets“ in the short frame parts on the inside as shown. Make sure that the brackets inserted into the correct opening (marked in red).

- Position the short frame parts incl. brackets at the respective ends of the long frame parts as shown. Push the brackets with frames into the openings of the long frames. Make sure that the corners are closed and that the drill holes are aligned with each other. Please note: During the final frame assembly steps, constant care must be taken to ensure that all frame parts are in line with the brackets and tightened. If there are small gaps in the the frame, the outer frame cannot be placed flush and unattractive gaps will appear in the corners of the frame. As soon as you find small gaps in the frame, loosen all screws and push the frame parts together to fit and gradually fix the loosened screws until you get it right.
Tip: 1 person fixes the corners cleanly, the 2nd person screws tight.
- Fix the frame by screwing 4x M5x6 into all four corners. Make sure that the screw connects the frame and the inside bracket and the inside frame with each other.
- Insert the support strut in the middle of the long frame part and turn it 90° until the strut is firmly clamped.

STEP 2: ATTACH THE FABRIC
- Thoroughly clean the area you are using, the surface should be free of dust and grease. There should be no sharp or uneven objects on the surface and we recommend performing the following steps with a second person. Caution: The projection fabric is extremely delicate! Please mount the projection screen surface with the utmost care. Be careful not to bend the fabric or touch the surface, you should use the enclosed gloves for assembly.
- As soon as the gloves are on, remove the roll of fabric from its packaging and roll it out slowly.

- Slide the rods carefully into the fabric flaps.

- Then place the previously assembled frame with the flat front at the center on the projection fabric. It is imperative that you avoid pulling the frame over the surface of the fabric, it should only be lifted and placed.

- Start the tensioning process by placing and tensioning the first 12 springs according to the order 1-12 and tensioning them (with the tensioning hook). Make sure that the springs engage the rod in the fabric pocket otherwise it‘s possible that the springs tear the fabric. As soon as the first 12 springs are placed, check that the fabric is centered and the corners are evenly tensioned, the remaining springs can be placed and tensioned. Attention: The order in which the springs are tensioned is very important to ensure symmetry. If necessary, correct the springs and fabric position so that the corners fit neatly onto the frame. It may be necessary to pull the fabric slightly out until it fits neatly into the 4 corners.

STEP 3: OUTER FRAME
- Push the outer frame onto the inner frame as shown in the illustration. Make sure that two „Outer frame brackets“ are inserted per corner. Here, too, make sure that the corners of the frame are correctly aligned so that there are no gaps in the corners.

- Fix the outer frame by screwing one „Outer frame bracket (C)“ per corner with M5x6 screws.

STEP 4: WALL MOUNTING
- Calculate the mounting points according to the drawing and transfer them to the wall. Please note that the enclosed mounting material is suitable for concrete/stone walls. Separate mounting material must be purchased for other surfaces. Make sure that the wall is clean, load-bearing and level. As soon as the mounting points have been marked, the holes can be pre-dril-led. Then insert the plugs.

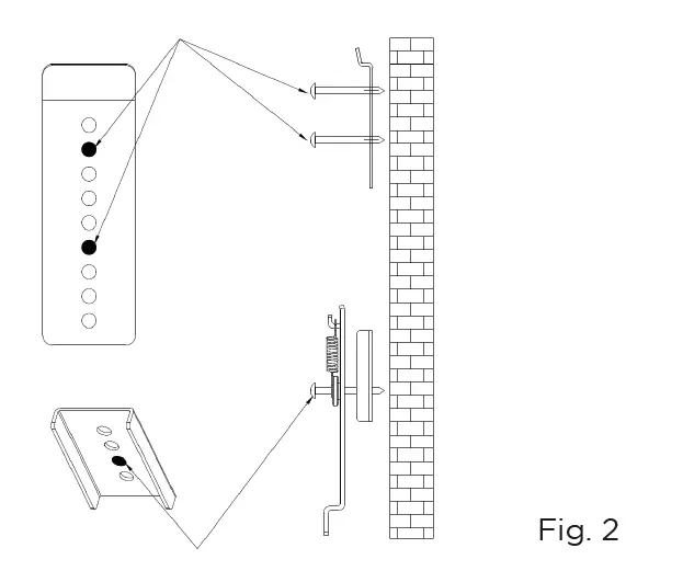
- Upper mounting bracket | Mount the wall bracket C with the M5x40 screws according to fig. 2.
- Lower mounting bracket | Assemble the bracket with the components ac-cording to fig. 1
Screw the upper and lower brackets tightly. This simplifies the fine adjustment. 
- Put the fabric gloves back on for this step. Follow the installation steps in order 1-3 as shown in the illustration.
- Hook the lower inner frame into the lower angle.
- Slide the whole frame upwards towards the wall so that the top inner frame is over the top bracket.
- Slowly release the frame downwards so that the upper frame is on the hook. Do not completely release the frame until you can be sure that the frame is hooked in.
Press and release
celexon Europe GmbH | Gutenbergstraße 2 | 48282 Emsdetten |











Screw the upper and lower brackets tightly. This simplifies the fine adjustment. 



















