Stewart FILMSCREEN WallScreen 2.5 Fixed Frame Projection Screen
TO THE OWNER
Congratulations on purchasing one of the finest optical viewing screens in the world.
Your handcrafted, Wall Screen 2.5 projection screen has been carefully inspected to ensure you will have an optimal viewing experience that will last many years. Please take a moment to review this manual. It will guide you through the installation and the operation of your screen and will also provide you with detailed instructions on how to care for your screen’s viewing surface.
From all of us at Stewart Film screen, we would like to thank you for choosing Wall Screen 2.5. Should you have any questions, please don’t hesitate to contact our customer service department at 1 (310) 784-5300, or toll free at 1 (800) 762-4999. We’re here to help.
Frank Gomez Fixed Frame Masking Specialist
ABO UT WALLSCREEN 2.5
Your Wall Screen 2.5 fixed frame supports virtually all projection applications. The Velux finish is designed to absorb any projector over scan. The Wall Screen 2.5 features angled corners and a beveled edge that brings the image area closer to the front of the frame.
The Wall Screen 2.5 features snaps and brackets or S hooks (UST) that move on the frame to allow for adjustments. Rear projection is available as an option. The hanging bar is the standard mount. Other options include the Wall Board Mount, the Eye Bolt Mount (Hanging), and Aperture Mount.
USING THIS MANUAL FOR INSTALLATION
The Wall Screen 2.5 screen is designed for easy installation. There are no user-serviceable parts contained within the unit.
VOIDING YOUR WARRANTY
NOTE: Failure to comply with the instructions and guidance contained in this manual may result in voiding your warranty.
For the instructions related to your specific mount type, refer to the appropriate page:
- Hanging Bar Mount (page 9)
- Wall Board Mount (page 11)
- Eye Bolt Mount (Hanging) (page 13)
- Aperture Mount (page 14)
PREPARING THE INSTALLATION
Before proceeding with the installation, take the time to thoroughly read and understand these installation instructions. Failure to comply with the instructions and guidance contained in this manual may result in voiding your warranty.
SPECIFICATIONS
Specifications regarding the individual screen dimensions, weight, etc., are provided by the factory when the unit is ordered.
Before be ginning t he installation
- Make sure there is a clean surface to unroll the screen and assemble the frame.
- Check the size and weight of the screen to be installed so that you can plan for the number of people required for installation. You need at least two people to mount the smaller screens. More people are needed for larger, heavier screens
What ‘s inside the box?
Inside your Wall Screen 2.5 unit box, you will find everything you need to get started on enjoying your Stewart screen:
- Screen image rolled up in a tube
- Disassembled frame with all the hardware needed to reassemble
- Packing material
- Quick Start Guide
You will need:
- A drill
- A level
- A drop cloth
- Tools for tightening fasteners
- Lint-free, clean cloth gloves for handling the screen
- Fasteners appropriate for the surface on which the screen is being mounted
- Ladders for the personnel supporting the screen during the mounting process
You will ne e d : A drill A level A drop cloth Tools for tightening fasteners Lint-free, clean cloth gloves for handling the screen Fasteners appropriate for the surface on which the screen is being mounted Ladders for the personnel supporting the screen during the mounting process
Note: Bolts and other fasteners for the screen are standard gauge and standard sizes used in the U.S., regardless of the installation country. For this reason, sizes are in inches rather than metric measurements.
UNPACKING
Be sure to unpack carefully in a clean area. Use special care when handling the screen so that it does not become soiled or damaged. If you plan to repack your screen and hardware for transportation to another location, you may wish to photograph or make a note of how it was packed. Retain the packing material for future use, if desired.
CAUTION
Do not stand on the screen tube or store it on its end. This will cause screen damage. If you are not planning to install the screen immediately, make sure it remains horizontal during storage.
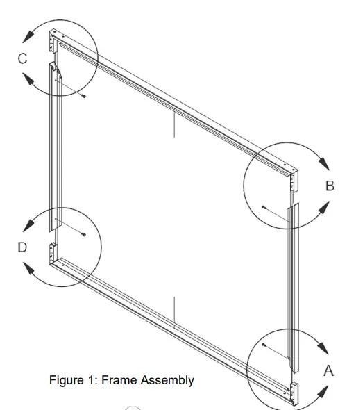
FRAME ASSEMBLY INSTRUCTIONS
- Connect the frame members by matching the numbered dots on the ends of the members.
- Secure the frame members with the supplied 5/16-18 x 1/2″ hex head bolts (see Figure 1).


HANGING BAR MO UNT
NOTE: Professional mounting techniques should be used. Stewart Film screen cannot be liable for substandard or faulty installations. Failure to comply with the instructions and guidance contained in this manual may result in voiding your warranty.
CAUTION
- Be careful not to touch or scratch the viewing surface.
To accurately position the frame, mount the hanging bar and temporarily hang the frame before attaching the screen material. On the bottom of the frame, there are magnets you can slide to line up the steel pucks with wall studs. If the wall is not perfectly flat, the force of the magnet may cause the frame to bend. For this reason, shims can be placed between the wall and steel pucks so that the frame remains straight. The screen should not be attached to the frame at this point (see Figures 3-6).
- Identify the location of wall studs where you can securely mount the hanging bar.
- Use a level to accurately position the hanging bar on the wall (see Figure 2).

- Drill holes through the bar into the studs.
- Use the provided screws or other appropriate fasteners to secure the hanging bar to the wall studs.
Note: A minimum of three (3) screws are recommended to safely secure the frame. More screws are needed for heavier screens. - Recheck to make sure the bar is level.
Figure 2: Hanging bar Level and on Wall Studs - Hang the assembled frame, without the screen attached, on the hanging bar to ensure that it is correctly mounted.
- Mark the wall where you will mount the steel pucks to studs that will align with the magnets fastened on the frame.
Note : Find studs that allow the pucks and magnets to be positioned approximately 12″ to 24″ from the edge of the frame on each side. - Remove the frame. Drill into the studs and mount the steel pucks with the provided 2-3/8″ screws or other appropriate fasteners. Use shims as needed.
- Reposition the frame and the slide, and then secure the magnets so they align with the steel pucks mounted on the wall.
- Remove the frame. Follow the steps for attaching the screen to the frame (pages 15-16).
- Your Wall Screen is now ready to hang in its final position (see Figures 3-6).




WALLBOARD MOUNT
NOTE: Professional mounting techniques should be used. Stewart Film screen cannot be liable for substandard or faulty installations. Failure to comply with the instructions and guidance contained in this manual may result in voiding your warranty
- Lay assembled frame face down on a clean surface.
- Fit wall boards to the outside of the brackets already attached to the frame.
- Bolt wall boards to brackets using the supplied 3/4” hex head bolts (see Figure 7).

Note: Depending on the size of the screen, the number of wall boards may vary. Temporary attachment of the wall boards to the frame for the purpose of positioning the frame and brackets on the wall. - Without the screen material attached, position the frame and wall boards on the wall (see Figure 8).

- Make sure the unit is level and plumb. You may need to use shims between the boards and the wall to achieve vertical plumb.
- Align the wall board holes with wall studs, mark and drill holes in the wall that align with the wall board holes.
- Remove the boards from the frame and attach them to the wall using the provided hardware or other appropriate fasteners such as lag bolts, wall anchors, molly bolts, wood carriage screws, etc. (see Figure 9).

- Attach the screen to the frame (see pages 15-16).
- Attach the frame/screen assembly to the previously mounted wall boards on the wall using the 3/4” hex head bolts (see Figure 10).

Note: On some custom sized frames, the use of additional “back support braces” is required. These vertical support braces assure parallel top and bottom frame member alignment once the screen has been attached to the frame. Do not install the screen/frame without required back braces.
EYEBOLT MOUNT (HANGING)
NOTE: Professional mounting techniques should be used. Stewart Filmscreen cannot be liable for substandard or faulty installations. Failure to comply with the instructions and guidance contained in this manual may result in voiding your warranty.
- Attach the screen to the frame (see pages 15-16).
- Use the Eye Bolt Mount to suspend the screen. Eye bolts are already secured to the frame making your Wall Screen ready for installation to an appropriate surface (see Figure 11).

Note: On some custom sized frames the use of additional “back support braces” is required. These vertical support braces assure parallel top and bottom frame member alignment once the screen has been attached to the frame. If back braces are included, do not install the screen/frame without required back braces.
CAUTION
- Be careful not to touch or scratch the viewing surface.
- A false ceiling is not intended to support the weight of a Wall Screen. Contact a Stewart representative for more information.
APERTURE MOUNT
NOTE: Professional mounting techniques should be used. Stewart Film screen cannot be liable for substandard or faulty installations. Failure to comply with the instructions and guidance contained in this manual may result in voiding your warranty.
The aperture mount allows you to install the screen into an opening in a wall or wall unit. Access to the back of the screen is required to install the attachment hardware.
- Prepare the aperture.
- Attach the screen to the frame (see pages 15-16).
- Carefully insert the frame (with the screen already attached) into the aperture. Take care so that you do not damage the screen.
- Install the frame/screen assembly into the aperture using the attached mounting brackets and appropriate fasteners (see Figure 12).

CAUTION
Be careful not to touch or scratch the viewing surface.
ATTACHING THESCREEN TO THEFRAME
DO NOT perform this step UNTIL instructed to do so in the mounting section.
CAUTION
- Be careful not to touch or scratch the viewing surface.
- Do not use any tools to fasten the screen to the frame. (non-UST)
- Do not fold or crease the screen.
UNPACKING AND UNROLLING THE SCREEN
The viewing side of the projection screen is rolled to the inside to protect optical quality. The screen is rolled lengthwise.
- Remove the screen from the cardboard shipping tube.
- On a clean surface, unroll the screen viewing side up (see Figure 13).
- Remove the protective packing material from the screen material.

- Place the frame over the screen, snap side down (see Figure 14).

- Starting with the snaps on the top corners and then horizontally along the top while lifting the frame with one hand, snap the screen into the frame. Gently allow the screen to stretch onto the snaps.
Do not jerk, wrinkle, or crease the screen material, as it can be damaged (see Figure 14). - Lift the frame to a vertical position to finish attaching the sides and bottom row of the snaps (see Figure 15).

Note: If there are any wrinkles or puckers on the screen, the snaps on the frame can be adjusted
side to side. Lay the frame viewing side down on a clean surface. A movement of 1/16” to 1/8” (1.6mm to 3.2mm) is usually sufficient to eliminate puckers.
BLACKHAWK UST SCREEN INSTALLATION
Install Screen to Frame
Carefully remove the Blackhawk screen from its tube. Keep screen flat while un-rolling. Do not wrinkle or crease the screen as viewing damage will result.
- Position screen onto frame. Make sure the viewing side is toward the floor and matched to the bottom horizontal frame member. If installed upside down in the frame, the screen will not perform properly. (See photo #1). The frame’s serial number signifies the bottom frame member

- Both techs will be working together in unison and mirroring each other while attaching the screen to the frame. This technique will assure the screen gets evenly tensioned within the frame. Adjust “S” hooks on the cord as needed. These hooks align at 90 degree angles to the frame once connected to its respective grommet. (See photo #2). When the screen has been completely installed, all “S” hooks should be at 90 degree angles to the frame. On some frames the corner hooks will be slightly angled and this is normal due to their position.

- Use the small T-handle tool (See photo #3) to grasp the center screen hook on the top and bottom horizontal screen sides. Remember, each technician will work on opposite sides to evenly tension the screen onto the frame. Use one hand to slightly lift the screen while attaching the “S” hook with the T-handle to the grommet. (See photo #4). Make sure “S” hooks securely captures their respective grommets.


- Next, hook about 3 grommets on each side of the center grommet.
- Go to vertical sides and repeat the above steps so that you now have both middle sections of the horizontal and vertical sides attached.
- Next the techs will attach the opposing screen corners.
- Go back to the top and bottom sides and complete the remaining attachment points / grommets.
- Finish connecting all remaining vertical side attachment grommets.
- Carefully raise the assembled screen & frame to the wall and attach to the mounting brackets.
- Job complete.
CARING FOR AND CLEANING THE SCREEN
GENERAL MAINTENANCE
With reasonable care, you may expect many years of dependable use of your Stewart projection screen.
FOR VINYL SCREEN MATERIALS ONLY
The surface of your screen is delicate, so we encourage you to keep your screen clean. Special attention to these instructions should be followed when cleaning.
- Avoid getting any foreign objects on the screen, as cleaning may prove very difficult. It may not be possible to remove scratches, paint, ink, etc.
- A draftsman-style brush may be used to lightly whisk away any loose dirt or dust particles. (This type of brush is usually available at office supply stores.)
- For tougher spots, you can make a cleaning solution using a water-based detergent and warm water. Tomake the solution, mix one-part Simple Green, 409, or another water-based industrial cleaner with three parts warm water. Moisten a clean cotton cloth, or cotton swab with this solution, moisten the stained area, and gently lift off the stain. Never use an aggressive scrubbing action as you could damage the screen surface by removing the optical coating. Re-moisten the area with clean water and dab dry with a clean sponge or cotton cloth. Any residual watermarks will evaporate on their own in a few minutes.
- Contact tech support at Stewart Film screen if you have questions about removing difficult spots
CAUTION
- Do not use any other cleaning materials on the screen.
- Do not use chemicals, solvents, or alcohol-based cleaners to clean the screen. Use only commercially available, water-based degreaser or liquid dish soap.
- Do not use chemicals, solvents, or liquid cleaners to clean the Velux covering.
- Do not fold or crease the screen
VELUX™COVERING
- Use a lint roller to remove particles from the Velux, which is the material covering the frame.
- A brush may be used to comb (lift) the nap of the Velux material to eliminate depression marks.
FOR NON-VINYLSCREEN MATERIAL
If you have concerns with one of our non-vinyl Stewart Filmscreen screen materials, contact tech support at Stewart Filmscreen.
ONE (1) YEAR LIMITED WARRANTY
STEWART FILMSCREEN CORPORATION
(Stewart) warrants all products to the original purchaser only. Stewart products are guaranteed to be free from defects in materials and workmanship for a period of one (1) year from the date of purchase by the original purchaser or eighteen (18) months from date of manufacture, as defined in the serial number. Additionally, all products must be properly operated and maintained according to Stewart instructions and cannot be damaged due to improper handling or treatment after shipment from the factory. This warranty does not apply to equipment showing evidence of misuse, abuse, or accidental damage, including neglect caused by improper installation (i.e. proximity to hot lights, exposure to extreme heat or cold, exposure to excessive humidity, etc.).
Stewart on-site warranty repair services are not available for this product. Stewart’s sole obligation under this warranty shall be to repair or to replace (at Stewart’s sole discretion) the defective part of the merchandise. This warranty expressly does not cover any costs of removal, installation,
framing, or other costs incidental to replacing the screen or returning it to Stewart. Returns for service should be made to your Stewart dealer. If it is necessary for the dealer to return the screen or part to Stewart, transportation (freight) expenses to and from Stewart are payable by the purchaser. Stewart is not responsible for damage in shipment. To protect against damage or loss in transit, insure the product and prepay all transportation expenses.
This warranty is in lieu of all other warranties, expressed or implied, including warranties as to fitness for use or merchantability. Any implied warranties of fitness for use, or merchantability, that may be mandated by statute or rule of law are limited to the one (1) year warranty period. This warranty gives you specific legal rights, and you may also have other rights which vary from state to state. In no event will Stewart be liable for sums in excess of the purchase price of the product. No liability is assumed by Stewart for expenses or damages resulting from interruption in operation of equipment, or for incidental, direct, or consequential damages of any nature. In the event that there is a defect in materials or workmanship of a Stewart Film screen product, you may contact our Customer Service Department at 1161 W Sepulveda Blvd, Torrance, CA 90502- 2797, or call us at 1 (310) 784-5300, or toll free at 1 (800) 762-4999.
IMPORTANT: This warranty shall not be valid and Stewart shall not be bound by this warranty if the product is not operated and maintained in accordance with Stewart’s written instructions. Stewart Filmscreen Corporation shall not be liable for any and all consequential damage(s) occasioned by the breach of any written or implied warranty pertaining to the sale of a Stewart Filmscreen product in excess of the purchase price of the product sold.
www.StewartFilmscreen.com
1161 W. Sepulveda Blvd., Torrance CA 90502 USA l 1 (800) 762-4999 l Tel: 1 (310) 784-5300 l Fax: 1 (310) 326-6870
Email: [email protected]
©2022 Stewart Filmscreen. Specifications are subject to change without notice







































