GLACIER BAY HD67831-0101 825 Series Pull-Out Kitchen Faucet Installation Guide
THANK YOU
We appreciate the trust and confidence you have placed in Glacier Bay through the purchase of this kitchen faucet We strive to continually create quality products designed to enhance your home. Visit us online to see our full line of products available for your home improvement needs. Thank you for choosing Glacier Bay!
Important Information
- Observe all local plumbing and building codes.
- Cover the sink drain to avoid losing any parts.
- Review the care and cleaning section included in this guide
Warranty
LIMITED LIFETIME WARRANTY
Glacier Bay products are manufactured with superior quality standards and workmanship and are backed by our limited lifetime warranty. Glacier Bay products are warranted to the original consumer\ purchaser to be free of defects in materials or workmanship. We will replace FREE OF CHARGE any product or parts that proves defective.Simply, return the product / part to any of The Home Depot retail locations or call 1 855-HD-GLACIER (1-855-434- 5224) to receive the replacement item. Proof of purchase (original sales receipt) from the original consumer purchaser must be made available for all Glacier Bay warranty claims.
This warranty excludes incidental/inconsequential damages and failures due to misuse, abuse or normal wear and tear. This warranty excludes all industrial, commercial and business usage, whose purchasers are hereby extended a five year limited warranty from the date of purchase, with all other terms of this warranty applying except the duration of warranty.
Some states and provinces do not allow the exclusion or limitation of incidental or consequential damages, so the above limitations may not apply to you. This warranty gives you specific legal rights and you may also have other rights that vary from state to state and province to province. Please see a store or contact 1-855-HD-GLACIER for more details.
Pre Installation
PLANNING INSTALLATION
Before beginning the installation of this product, ensure all parts are present. Compare parts with the Package Contents list. If any part is missing or damaged, do not attempt to install the product. Contact Customer Service for replacement parts..
TOOLS AND HARDWARE REQUIRED
- Adjustable wrench

- Safety goggles

- Phillips screwdriver

- Silicone sealant

PACKAGE CONTENTS

| Part | Description | Quantity |
| A | Faucet assembly | 1 |
| B | Metal washer | 1 |
| C | Nut | 1 |
| D | Screw | 2 |
| E | Flange | 1 |
| F | Escutcheon | 1 |
| G | Gasket | 1 |
| H | Weight | 1 |
| I | Weight clip | 1 |
Installation
Installing the faucet assembly
CAUTION: Always shut off the water supply before removing an existing faucet or replacing any part of a faucet. Open the faucet handle to relieve water pressure and ensure that the water is completely shut off.
- Shut off the water supply. Remove the old faucet. Clean the mounting surface.
- Unscrew the nut (C), and remove the washer (B).
NOTE: This step is for flange installation (optional).
- Before installation, ensure that the flange (E) is placed on the bottom of the new faucet assembly (A).
- Insert the faucet assembly (A) through the hole in the sink.

NOTE: This step is for escutcheon installation (optional). Silicone sealant is required under the gasket (E).
- Before Installation, remove the flange (E)
- Place the escutcheon (F) and the gasket (G) on the bottom of the new faucet assembly (A).
- Insert the faucet assembly (A) through the hole in the escutcheon (F)

Securing the faucet assembly
NOTE: Make sure the spout and handle is centered and facing forward prior to secure the faucet assembly.
- Install the metal washer (B) onto the threaded mounting shank.
- Thread the nut (C) onto the mounting shank. Lock the nut (C) into position by tightening the screws (D). Do not overtighten.

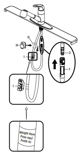
Attaching the quick connector to the receiving block
- Push the quick connector (1) firmly upward and attach it to the receiving block (2). Pull down moderately to ensure the connection has been made
- After connecting the hose, install the weight clip (I) at the point of the hose marking “weight here”.
- Insert the weight (H) onto the clip (I) by sliding it down onto the clip (I).

Making the water supply connections
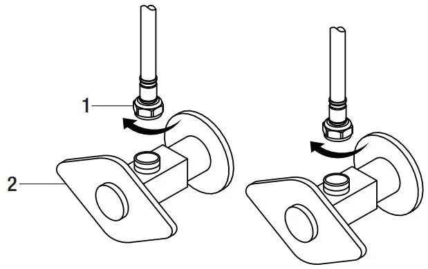
NOTE: The hot side inlet tube is indicated by a label. Avoid twisting wires together or placing the wires close to each other and damaging.
- Thread the nut (1) on the supply line onto the outlet of the water supply valve (2) and tighten with a wrench. Do not overtighten

Operation
Flushing and checking for leaks
IMPORTANT: After installation is completed, turn on the hot and cold water supplies. Check for leaks. Do not lose the gasket (1) in the hose.
- Pull the hose assembly out of the spout and remove the spray head by unscrewing it from the hose in a counterclockwise direction. Be sure to hold the end of the hose down into the sink and turn the faucet to the warm position where it mixes hot and cold water.
- Flush the water lines for one minute. This flushes away any debris that could cause damage tointernal parts. Check for leaks.
- Re-tighten any connections if necessary, but do not overtighten. Reinstall the spray head by hand tightening it back onto the spray hose in aclockwise direction

Care and Cleaning
- To clean, wipe down with a damp cloth and dry with a towel.
- Do not use abrasive cleaners, steel wool, or harsh chemicals when cleaning this faucet, or the warranty will be voided.
Troubleshooting
NOTE: Refer to the service parts section in this manual for a detailed drawing showing the location of the parts listed below
| Problem | Possible Cause | Solution |
| There are leaks underneath the handle. | The bonnet nut has come loose and theo-ring on the cartridge is dirty or damaged. |
|
| The aerator leaks or has an inconsistent water flow pattern. | The cartridge may be clogged. |
|
| There are leaks from the hose underneath the deck. | The hose and discharge tube connection may be loose. |
|
| The hose does not retract. | The weight is not installed in the appropriate position. |
|
| The water pressure is low. | The connector underneath the deck is clogged with debris. The aerator is clogged. |
|
| There is no hot or cold water. | The water inlet hose was acccidentally kinked during installation and is limiting |
|
| There is a low flow of water. | The screen filter in the spray head is dirty. |
|
Service Parts

| Part | Description | Part Number |
| 1 | Spray head and Hose | RP38439* |
| 2 | Handle assembly | RP13565* |
| 3 | Cap | RP80109* |
| 4 | Bonnet nut | RP70336 |
| 5 | Cartridge | RP20094 |
| 6 | Flange | RP80013* |
| 7 | Escutcheon | RP80157* |
| 8 | Gasket | RP70031 |
| 9 | Metal washer | RP64024 |
| 10 | Nut & Screw | RP56138 |
| 11 | Weight | RP70685 |
| 12 | Weight clip | RP70609 |
*Specify Finish
Many replacement cartridges, aerators, and drainassemblies can be purchased at your local The Home Depot store or online at HOMEDEPOT.CA

Questions, problems, missing parts?
Before returning to the store, call Glacier Bay Customer Service 8 a.m. – 7 p.m., EST, Monday – Friday 9 a.m. – 6 p.m., EST, Saturday
1-855-HD-GLACIER (1-855-434-5224)
HOMEDEPOT.CA
Retain this manual for future use.





























