FRANKE FC 3055.424 ORBIT Kitchen Faucet

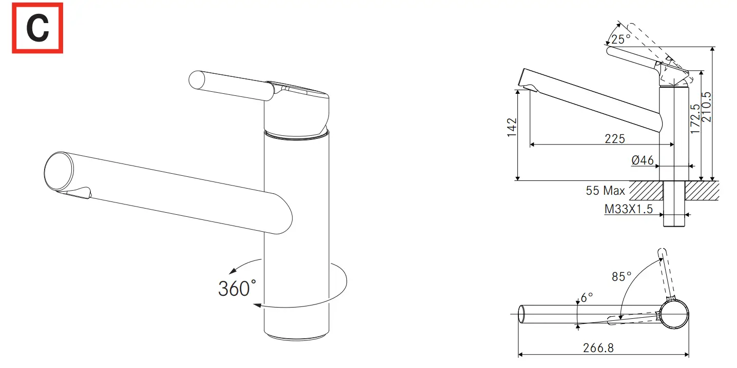
DIMENSIONS
Tap Orbit swivel top HP



Tap Orbit nozzle top HP



PRECAUTIONS


INSTALLATIONS INSTRUCTIONS








Periodic checks
▶ Check connection and shower hoses periodically for the following:
– Watertightness
– Corrosion
– Mechanical damage
▶ Use original spare parts only.
▶ Replace damp or dripping hoses.
▶ Replace hoses with rusty or oxidized surfaces.
▶ Replace hoses that show signs of mechanical damage.
Replacement of the flexibles
▶ Don‘t use a wrench or other items to mount the flexibles on the tap side.
Mount these only by hand.
▶ Flush all pipes thoroughly before installation.
| Operating data | Value | ||
| Operating pressure (ideal) | 3 bar | 45 PSI | 300 kPa |
| Operating pressure (max.)* | 5 bar | 70 PSI | 500 kPa |
| Operating pressure (min.)* | 1 bar | 14.5 PSI | 100 kPa |
| Water temperature (ideal) | 60 °C | 140 °F | |
| Water temperature (max.) | 70 °C | 158 °F | |
| * Equal pressure is recommended. | |||
OVERVIEWS






USA
Franke Kitchen Systems LLC
Smyrna, TN 37167
Phone 800 626 5771
www.franke.com























