CL480 Hotel Refrigerator
User Manual

WARNING
Cancer and Reproductive Harm
www.P65Warnings.ca.gov
Service Center & Dealer Locations
Visit: www.dometic.com
Please read these instructions carefully and follow all instructions, guidelines, and warnings included in this product manual in order to ensure that you install, use, and maintain the product properly at all times. These instructions MUST stay with this product.
By using the product, you hereby confirm that you have read all instructions, guidelines, and warnings carefully and that you understand and agree to abide by the terms and conditions as set forth herein. You agree to use this product only for the intended purpose and application and in accordance with the instructions, guidelines, and warnings as set forth in this product manual as well as in accordance with all applicable laws and regulations. A failure to read and follow the instructions and warnings set forth herein may result in an injury to yourself and others, damage to your product, or damage to other property in the vicinity. This product manual, including the instructions, guidelines, warnings, and related documentation, may be subject to changes and updates. For up-to-date product information, please visit www.dometic.com.
Explanation of Symbols and Safety Instructions
This manual has safety information and instructions to help you eliminate or reduce the risk of accidents and injuries.
Recognize Safety Information
This is the safety alert symbol. It is used to alert you to potential physical injury hazards. Obey all safety messages that follow this symbol to avoid possible injury or death.
Understand Signal Words
A signal word will identify safety messages and property damage messages, and also will indicate the degree or level of hazard seriousness.
DANGER!
Indicates a hazardous situation that, if not avoided, will result in death or serious injury.
WARNING
Indicates a hazardous situation that, if not avoided, could result in death or serious injury.
CAUTION
Indicates a hazardous situation that, if not avoided, could result in minor or moderate injury.
NOTICE: Used to address practices not related to physical injury.
Indicates additional information that is not related to physical injury.
Supplemental Directives
To reduce the risk of accidents and injuries, please observe the following directives before proceeding to install, operate, or service this appliance:
- Read and follow all safety information and instructions.
- Read and understand these instructions before installing, operating, or servicing this product.
- Follow all applicable EPA use conditions.
- The installation must comply with all applicable local or national codes, including the latest edition of the following standards:
U .S .A.
– ANSI/NFPA70, National Electrical Code (NEC)
Canada
– CSA C22.1, Parts l & ll, Canadian Electrical Code
General Safety Messages
WARNING: ELECTRICAL SHOCK, FIRE, AND/ OR EXPLOSION HAZARD. Failure to obey the following warnings could result in death or serious injury:
- Use only Dometic replacement parts and components that are specifically approved for use with the appliance.
- Avoid improper installation, adjustment, alterations, service, or maintenance of the appliance. Service and maintenance must be done by qualified service personnel only.
- Do not modify this product in any way. Modification can be extremely hazardous.
- Do not store or use gasoline or other flammable vapors and liquids in the vicinity of this or any other appliance.
- Do not leave the refrigerator in extreme cold or warm temperatures.
- Do not allow the appliance to be exposed to rain.
- Do not use electrical appliances inside the food storage compartments of the appliance, unless they are of the type recommended by the manufacturer.
WARNING: HEALTH HAZARD.
Do not damage the refrigerant circuit when handling, moving or using the refrigerator. Failure to obey this warning could result in death or serious injury.
WARNING: TIPPING HAZARD.
Do not allow children to climb, stand on, or hang on the refrigerator. Failure to obey this warning could result in death or serious injury.
Intended Use
The Hotel Refrigerator (hereinafter referred to as refrigerator) is intended to be used in household and similar applications, such as:
- Staff kitchen areas in shops, offices, and other working environments
- Hotels, motels, and other residential environments
- Farmhouses and bed and breakfast environments
- Catering and similar non-retail applications.
The refrigerator is only suitable for cooling and storing foodstuffs. This refrigerator is only suitable for the intended purpose and application in accordance with these instructions.
The refrigerator is not intended for the proper storage of medicine.
This manual provides information that is necessary for the proper installation and/or operation of the refrigerator. Poor installation and/or improper operating or maintenance will result in unsatisfactory performance and a possible failure.
The manufacturer accepts no liability for any injury or damage to the product resulting from:
- Incorrect assembly or connection, including excess voltage
- Incorrect maintenance or use of spare parts other than original spare parts provided by the manufacturer
- Alterations to the product without express permission from the manufacturer
- Use for purposes other than those described in this manual
Dometic reserves the right to change product appearance and product specifications.
General Information
This section provides reference information regarding the recommended tools for installation, grounding requirements for the unit, and descriptions of the unit components.
The images used in this document are for reference purposes only. Components and component locations may vary according to specific product models. Measurements may vary ±0.38 in. (10 mm).
Dometic recommends that you have the following parts and tools on-hand during installation, which are required for door adjustments and installation. Refer to “Reversing the Door Position” on page 7 for more information.
Recommended Parts and Tools
| Phillips screwdriver | 10 mm socket wrench |
| Upper hinge bracket | Level |
This part is shipped with the unit. The lower hinge brackets are preinstalled and are interchangeable for door reversal procedures.
Grounding Information
WARNING: ELECTRICAL SHOCK HAZARD.
This appliance must be grounded. Consult a qualified electrician or service person if the grounding instructions are not completely understood or if doubt exists as to whether the appliance is properly grounded. Failure to obey this warning could result in death or serious injury.
In the event of an electrical short circuit, grounding reduces the risk of electric shock by providing an escape wire for the electric current.
This appliance is equipped with a cord having a grounding wire with a grounding plug. The plug must be inserted into an outlet that is properly installed and grounded.
The refrigerator should always be plugged into its own individual electrical outlet that has a voltage rating matching the rating plate.
If you have only a standard two-prong wall outlet, it is your personal responsibility and obligation to have it replaced with a properly grounded, three-prong wall outlet.
If it is necessary to use an extension cord, use only a three-wire extension cord that has a three-blade grounding plug, and a three-slot receptacle that will accept the plug on the appliance. The marked rating of the extension cord should be equal to or greater than the electrical rating of the appliance.
When using a grounding adapter, ensure that the receptacle box is fully grounded. Refer to Figure 1 for an illustration that shows proper grounding adapter usage.

Grounding Adapter Usage
- Grounding Adapter
- Grounding Lead
- Grounding Screw
Component Descriptions
This section provides information about the external and internal components of the refrigerator.
Refer to Figure 2 for information about external refrigerator components, and refer to Figure 3 for information about internal refrigerator components.

External Component Locations
| 1. Upper Hinge | 5. Fixing Foot |
| 2. Handle | 6. Leveling Feet |
| 3. Touch-Panel Control | 7. Lower Hinge (with Door Stopper) |
| 4. Door |
The touch-panel control is only present on glassdoor models.

Internal Component Locations
| 1. LED Lamp | 3. Glass Shelves |
| 2. Temperature Control Knob | 4. Door Gasket |
The temperature control knob is only present on solid-door models.
Specifications
The following table provides the exterior dimensions and power specifications for the refrigerator.
| Unit Dimensions (W x H x D) | 18.9 in. (480 mm) x 28.0 in. (710 mm) x 17.8 in. (453 mm)1 |
| Power Supply | AC 115 V ~ 60 Hz |
| Current | 1.5 A |
The unit depth dimension provided above is for solid-door models only.
Glass-door models have a depth of 18.2 in. (463 mm).
Installation
WARNING: ELECTRICAL SHOCK, FIRE, AND/OR EXPLOSION HAZARD. Failure to obey the following warnings could result in death or serious injury:
- Do not install the refrigerator where there is excessive moisture or where water can splash onto the appliance.
- Do not use ungrounded (two-prong) adapters with this refrigerator. If the power cord is too short, use an approved extension cord or have a qualified electrician install an outlet near the refrigerator.
- Do not install the refrigerator in a location where the ventilation openings in the appliance enclosure or in the built-in structure might become obstructed.
- Do not install the refrigerator near heat sources or open flames.
NOTICE: Do not place heavy items on top of the refrigerator. Failure to obey this notice can result in damage to the unit.
This section describes where and how to install the refrigerator.
Positioning the Refrigerator
Position the unit away from heat sources such as stoves, radiators, and direct sunlight, and ensure that the proper clearances are met. See Figure 4 for details.
Sufficient air must be allowed to circulate in the lower-rear section of the unit, as poor air circulation can affect performance.

Unit Clearances
- 2 in. (5.1 cm)
- 5 in. (12.7 cm)
- 4 in. (10.2 cm)
Place the unit in a steady, flat location. If the refrigerator is not leveled during installation, the doors may not close or seal properly, causing cooling, frost, or moisture problems. It is very important for the refrigerator to be level in order to function properly.
To level your refrigerator, twist the leveling feet clockwise (to raise the unit) or counter-clockwise (to lower the unit) until the unit is properly leveled.
Leave the appliance in an upright position for at least two hours before switching it on.
Securing the Refrigerator
If the door position must be reversed, complete the reversal procedure prior to securing the refrigerator. Refer to “Reversing the Door Position” on page 7 for details.
Prior to securing the refrigerator, ensure that the unit is positioned accordingly and that the proper clearances are met. Refer to “Positioning the Refrigerator” on page 6 for details.

Securing the Refrigerator
To secure the refrigerator, use the supplied screw to fasten the fixing foot to the floor.
Making the Electrical Connections
WARNING: TIPPING HAZARD.
Do not allow a long cord to be arranged such that it will drape over the countertop or tabletop where it can be pulled on by children or tripped over unintentionally. Failure to obey this warning could result in death or serious injury.
Prior to making the electrical connection to the refrigerator, ensure that you read and understand the information provided in “Grounding Information” on page 4.
Ensure that the voltage and frequency indicated on the data plate correspond to those of the electrical mains, and then connect the unit to power. This refrigerator requires a 110 V–120 V, 60 Hz power supply.
Longer cord sets or extension cords are available and can be used if proper care is exercised. If a long cord or extension cord is used, the marked electrical rating of the cord set or extension cord should be at least as great as the electrical rating of the appliance, and the extension cord must be a grounding-type, three-wire cord.
Wait three to five minutes before restarting if you unplug the refrigerator. The unit might fail to operate properly if restarted too quickly.
Never unplug your refrigerator by pulling on the power cord. Always grip the plug firmly and pull it straight out from the outlet.
Reversing the Door Position
CAUTION: TIPPING HAZARD.
Take care when tilting the appliance backward. Failure to obey this caution could result in minor or moderate injury.
NOTICE: To take the door off, it is necessary to tilt the appliance backward. You should rest the appliance on something solid, such as a chair, just below the top panel. Do not lay the appliance completely flat, as this may damage the coolant system.
This door reversal process can only be performed on solid-door models.
Dometic recommends that you obtain assistance before completing the door reversal process.
This section describes how to remove the door, reverse the opening direction, and then reinstall the door. Prior to beginning this procedure, ensure that you:
- Unplug the appliance and remove any contents
- Adjust the two leveling feet to full extension
Complete the following procedure to reverse the door position.

Removing the Upper Hinge and Door
- Remove the upper hinge cover from the upper hinge bracket.
- Remove the screws securing the metal hinge bracket to the unit, and then remove the hinge.
- Remove the plastic hinge plug and screw covers from the opposite side of the unit where the new hinge will be installed.
- Gently pull the appliance door upward to remove it.
Removing the Lower Hinge - Remove the leveling feet by turning them counterclockwise until they are fully disengaged.
- Remove the lower hinge bracket by removing the screws securing it to the unit.
- Remove the door stopper by removing the screw and securing it to the door.
- Remove the fixing foot bracket by removing the screws securing it to the unit.
Reinstalling the Lower Hinge - Install the fixing foot bracket in its new location on the bottom of the unit, ensuring that the mounting screws are tightened securely.
- Install the door stopper in its new location on the bottom of the door, ensuring that the mounting screw is tightened securely.
- Install the lower hinge bracket in its new location on the bottom of the unit, ensuring that the mounting screw is tightened securely.
- Install the leveling feet by screwing them into position, and turning them clockwise until secure.
Reinstalling the Door and Upper Hinge - Lower the door into position by aligning the lower hinge bracket and door stopper, ensuring that the door is properly seated on the hinge pin.
- Install the new upper hinge bracket, ensuring that the hinge pin is properly seated into the hole in the door.
Do not fully tighten the mounting screws. - Ensure that the door is aligned horizontally and vertically and that it seals properly on all sides.
- Fully tighten the mounting screws on the hinge bracket, replace the hinge cover, and then insert the plastic hinge plug and screw covers on the side of the unit from which the old hinge was removed.
- Level the unit as described in “Positioning the Refrigerator” on page 6.
Operation
WARNING: ELECTRICAL SHOCK, FIRE, AND/OR EXPLOSION HAZARD. Failure to obey the following warnings could result in death or serious injury:
- This refrigerator must be properly installed and located in accordance with the instructions outlined in “Installation” on page 6 before it is used.
- Do not allow persons (including children) with reduced physical, sensory, or mental capabilities to operate this appliance unless they have been given supervision or instruction concerning the use of the appliance by a person responsible for their safety.
- Do not store gasoline or other flammable vapors and liquids in this appliance.
- Do not store explosive substances, such as aerosol cans with a flammable propellant, in this appliance.
- Do not use electrical appliances inside the food storage compartments of the appliance, unless they are of the type recommended by the manufacturer.
CAUTION: BURN HAZARD.
Do not touch the interior of the chiller compartment with wet hands. Failure to obey this caution could result in minor or moderate injury.
This section provides considerations regarding the operation of the refrigerator and describes how to operate the touch-panel control and temperature control knob.
Storing Refrigerated Goods
For optimal use of the refrigerator compartment, observe the following instructions:
- Never put hot liquids or food in the refrigerator.
- The total amount of goods placed into the refrigerator compartment should not exceed its storage volume.
- Cover or wrap food prior to storage.
- Arrange food so that air can circulate freely inside the compartment.
- When storing meat products, wrap them in protective material.
- Bananas, potatoes, onions, and garlic should not be stored in the refrigerator unless wrapped first.
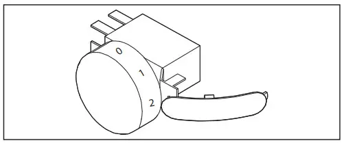
Using the Temperature Control Knob
The temperature control knob is only present on solid-door models. For glass-door models, refer to “Using the Touch-Panel Control” on page 9.
This section describes how to use the temperature control knob to set the desired cooling temperature.

Temperature Control Knob
- Open the refrigerator door and locate the temperature control knob.
- Turn the unit on by setting the temperature control knob to 4 (intermediate setting).
Ensure that the refrigerator is cooled completely before adding food (24 hours is recommended). - After the unit has fully cooled, add goods as needed.
- Monitor the cooling effectiveness to best suit your needs, adjusting the temperature control knob to a lower setting to increase the temperature, or to a higher setting to decrease the temperature.
The initial setting (4) should be appropriate for most home or office use. - Set the temperature control knob to 0 (off) to stop the cooling cycle.
Setting the temperature control knob to 0 does not shut off power to the unit.
Using the Touch-Panel Control
The touch-panel control is only present on glassdoor models. For solid-door models, refer to “Using the Temperature Control Knob” on page 9.
This section describes how to use the touch-panel control to set the desired cooling temperature.

Touch-Panel Control
| 1. Silent Button | 3. Temperature Adjustment Buttons |
| 2. Light Button | 4. Temperature Indicator |
- Press the silent button to turn the unit on. All of the buttons on the touch-panel control will illuminate for approximately three seconds, and then an audible tone indicates that the unit has entered the normal cooling state at the default temperature setting of 43 °F (6 °C).
Ensure that the refrigerator is cooled completely before adding food (24 hours is recommended). - After the unit has fully cooled, add goods as needed.
- Monitor the cooling effectiveness to best suit your needs, adjusting the internal temperature of the unit between 39 °F and 64 °F (4 °C and 18 °C) by pressing the temperature adjustment buttons.
Press and hold both temperature adjustment buttons for approximately three seconds to switch the temperature indicator values from Fahrenheit to Celsius (or vice versa).
The following actions can also be completed using the touch-panel control:
- Press and hold the silent button for three seconds to move the unit into Silent Mode. This deactivates the cooling cycle for eight hours, after which the unit will start up automatically. To deactivate Silent Mode manually, press and hold the silent button for three seconds.
- Press the light button to adjust the brightness:
– Full power
– Half power
– Off
In the normal operating state, the temperature indicator will turn off if no buttons are pressed within ten seconds. Press any button on the touchpanel control to return the display to the specified brightness setting.
Maintenance
WARNING: ELECTRICAL SHOCK, FIRE, AND/ OR EXPLOSION HAZARD. Failure to obey the following warnings could result in death or serious injury:
- Always disconnect the unit from power before cleaning and/or servicing.
- Maintenance must be done by qualified service personnel only.
- If the supply cord is damaged, it must be replaced by the manufacturer, its service agent, or a similarly qualified person.
The maintenance and cleaning instructions provided in this section should be performed once a year, or as needed depending on the use of the appliance. Failure to properly maintain the appliance might void the warranty and could result in unsafe operation. Preventive maintenance is not covered under the warranty.
Defrosting the Refrigerator
WARNING: HEALTH HAZARD.
Do not use toxic or hazardous chemicals to accelerate the defrosting process. Failure to obey this warning could result in death or serious injury.
NOTICE: Never use mechanical tools to remove ice or to loosen objects stuck to the interior of the unit. The only exceptions are devices that are approved for this purpose by the manufacturer.
The unit has an auto-defrost feature; it will automatically start a heating device to assist in defrosting after a certain period of run time.
Cleaning the Refrigerator
NOTICE: Do not use abrasive cleaning agents or hard objects during cleaning, and do not allow water to drip into the seals, as this can damage the refrigerator.
Complete these steps to properly clean the refrigerator:
- Clean the interior of the refrigerator regularly, and as soon as it becomes dirty, use a damp cloth.
- Wipe the refrigerator dry using a clean cloth.
- Clean dust and dirt from the condenser regularly.
- Clean dust and debris from the condenser fan regularly, and ensure that the fan moves freely without obstruction.
Storing the Refrigerator
If you do not intend to use the refrigerator for an extended period of time, complete the following steps:
- Empty the contents of the refrigerator compartment.
- Press the silent button (for glass-door models) or set the temperature control knob to 0 (solid-door models) until the refrigerator switches off, and then unplug the unit from the power source.
- Clean the refrigerator, if needed, as described in “Cleaning the Refrigerator” on page 10.
- Leave the door slightly ajar to prevent mold, mildew, or unpleasant odors from developing.
Troubleshooting
WARNING: ELECTRICAL SHOCK, FIRE, AND/ OR EXPLOSION HAZARD. Failure to obey the following warnings could result in death or serious injury:
- Always disconnect the unit from power before cleaning and/or servicing.
- Maintenance must be done by qualified service personnel only.
The following table lists some of the possible issues that might be encountered when the refrigerator is in use, the possible causes of these issues, and the recommended actions that should be taken to remedy the issues.
| Problem | Possible Cause | Suggested Remedy |
| The refrigerator will not operate. | The power supply cord is unplugged. | Ensure that the unit is plugged in and power is supplied. |
| The temperature control knob is set to 0 (solid-door models). | Adjust the temperature control knob to a cooler setting (1-7). | |
| The unit has been placed into Silent Mode (glass-door models). | Move the unit out of Silent Mode. Refer to “Using the Touch-Panel Control” on page 9. | |
| A household fuse or circuit breaker has tripped. | Ensure that there is power supplied to the unit. | |
| Food in the refrigerator compartment is freezing. | The internal temperature is set too cold. | Adjust the temperature to a warmer setting. |
| The internal temperature in the refrigerator compartment is not cool enough. | The air vents on the drip tray are blocked in the compartment; this prevents the movement of cold air. | Ensure that the vents are clear and that there are proper clearances around the unit. Refer to “Installation” on page 6 for clearance details. |
| The unit is placed too close to heat sources, or poor ventilation exists. | ||
| The door is opened too often or not closed properly. | Limit the amount of time that the door is opened during operation. | |
| A large amount of food has just been added to the refrigerator compartment. | Cool food before inserting it into the unit. Adding warm food to the unit delays cooling. | |
| The position of the thermostat knob is adjusted too low. | Set the thermostat to a cooler setting. | |
| The refrigerator seems to make an unusual noise. | The refrigerator is not leveled on the floor. | Ensure that the refrigerator is properly leveled. Refer to “Positioning the Refrigerator” on page 6. |
| The body of the refrigerator touches a wall. | Ensure that there are proper clearances around the unit. Refer to “Positioning the Refrigerator” on page 6. | |
| The drip tray is not placed properly. | Ensure that the drip tray is positioned properly. | |
| There is interior moisture build-up. | The door is opened too often or not closed properly. | Limit the amount of time that the door is opened during operation and ensure that the door is properly closed after opening. |
| The room is humid. | Install the unit in an area with less humidity, if possible. | |
| The food is not packaged correctly. | Follow the recommended packaging instructions. Refer to “Operation” on page 8 for details. | |
| The door will not close completely. | Food packages are keeping the door from closing properly. | Ensure that contents in the cooling compartment do not obstruct the door. |
| The shelves are out of position. | Ensure that the shelves are in their correct positions. | |
| The gaskets are dirty. | Clean the gaskets with a damp cloth. | |
| The refrigerator is not level. | Ensure that the unit is properly leveled. Refer to “Positioning the Refrigerator” on page 6. |
Disposal
WARNING: SUFFOCATION AND ENTRAPMENT HAZARD.
Remove the fresh food and freezer doors from the refrigerator prior to disposal. Leave shelves in place to prevent children from easily climbing inside the refrigerator. Failure to obey this warning could result in death or serious injury.
Place the packaging material in the appropriate recycling waste bins, whenever possible. Consult a local recycling center or specialist dealer for details about how to dispose of the product in accordance with all applicable national and local regulations.
LIMITED ONE-YEAR WARRANTY
LIMITED ONE-YEAR WARRANTY AVAILABLE AT DOMETIC.COM/EN-US/TERMS-ANDCONDITIONSCONSUMER/WARRANTY.
IF YOU HAVE QUESTIONS, OR TO OBTAIN A COPY OF THE LIMITED WARRANTY FREE OF CHARGE, CONTACT:
DOMETIC CORPORATION
CUSTOMER SUPPORT CENTER
5155 VERDANT DRIVE
ELKHART, INDIANA 46516
1-800-544-4881
dometic.com
CONTACT US
dometic.com/en-us/terms-and-conditions-consumer/contact-us
Removing the Lower Hinge
Reinstalling the Lower Hinge
Reinstalling the Door and Upper Hinge

















