DOMETIC RH418NTE Compact Minibar Refrigerator
Explanation of symbols
DANGER!
Safety instruction: Indicates a hazardous situation that, if not avoided, will result in death or serious injury.
WARNING!
Safety instruction: Indicates a hazardous situation that, if not avoided, could result in death or serious injury.
CAUTION!
Safety instruction: Indicates a hazardous situation that, if not avoided, could result in minor or moderate injury.
NOTICE!
Indicates a situation that, if not avoided, can result in property damage
NOTE
Supplementary information for operating the product
Safety instructions
General safety
WARNING! Failure to obey these warnings could result in death or serious injury.
Electrocution hazard
- Ensure that the minibar has been installed by a qualified technician in accordance with the Dometic installation manual.
- Do not operate the minibar if it is visibly damaged.
- If this minibar’s power cable is damaged, it must be replaced by the manufacturer, service agent or a similarly qualified person in order to prevent safety hazards.
- This minibar may only be repaired by qualified personnel. Inadequate repairs may cause serious hazards.
Fire hazard
- The refrigerant in the refrigerant circuit is highly flammable. In the event of any damage to the refrigerant circuit:
- Switch off the minibar.
- Avoid naked flames and sparks.
- Air the room well.
Explosion hazard
- Do not store any explosive substances, such as spray cans with propellants, in the minibar.
Health hazard
- This minibar can be used by children aged from 8 years and above and persons with reduced physical, sensory or mental capabilities or lack of experience and knowledge if they have been given supervision or instruction concerning use of the minibar in a safe way and understand the hazards involved.
- Children shall not play with the minibar.
- Cleaning and user maintenance shall not be made by children without supervision.
- Children aged from 3 to 8 years are allowed to load and unload the minibar.
CAUTION! Failure to obey these cautions could result in minor or moderate injury.
Risk of crushing
- Do not put your fingers into the hinge.
Health hazard
- Foodstuff may only be stored in its original packaging or in suitable containers.
NOTICE! Damage hazard
- Check that the voltage specification on the type plate is the same as
that of the power supply. - The minibar is not suitable for storing substances which are caustic or
contain solvents. - The insulation of the cooling device contains flammable cyclopentane
and requires special disposal procedures. Deliver the cooling device
at the end of its life-cycle to an appropriate recycling center. - Keep the drainage outlet clean at all times.
- Do not open the refrigerant circuit under any circumstances.
- Only carry the minibar upright.
Operating the minibar safely
DANGER! Failure to obey these warnings will result in death or serious injury.
Electrocution hazard
- Do not touch exposed cables with your bare hands.
CAUTION! Failure to obey these cautions could result in minor or
moderate injury.
Electrocution hazard
- Before starting the minibar, ensure that the power supply line and the plug are dry.
Health hazard
- Make sure that you only put items in the minibar which may be chilled
at the selected temperature. - Food may only be stored in its original packaging or in suitable
containers. - Opening the door for long periods can cause significant increase of
the temperature in the compartments of the minibar. - Clean regularly surfaces that can come in contact with food and
accessible drainage systems. - If the minibar is left empty for long periods:
- Switch off the minibar.
- Defrost the minibar.
- Clean and dry the minibar.
- Leave the door open to prevent mould developing within the minibar.
NOTICE! Damage hazard
- Do not use electrical devices inside the minibar unless they are recommended
by the manufacturer for that purpose. - Do not place it near naked flames or other heat sources (heaters, direct
sunlight, gas ovens etc.). - Ensure that the ventilation vents are not covered.
- Never immerse the minibar in water.
- Protect the minibar and the cable against heat and moisture.
- Make sure that foodstuffs do not touch the walls of the cooling area.
Intended use
The refrigeration appliance (also referred to as minibar) is designed for operation in enclosed buildings, such as:
- In staff kitchens in stores, offices and other work areas
- In the agricultural sector
- In hotels, motels and other accommodations
- In bed and breakfast establishments
- In catering businesses or similar wholesaler operations The minibar is not suitable for installation in caravans or mobile homes.
The minibar is intended to be used either as a built-in appliance or as freestanding refrigeration appliance. Refer to the installation instructions. The minibar is designed exclusively for cooling and storing of beverages and food in closed containers. The minibar is not suitable for storing fresh foods and medicine or freezing foodstuffs. This minibar is only suitable for the intended purpose and application in accordance with these instructions. This manual provides information that is necessary for proper installation and/or operation of the minibar. Poor installation and/or improper operating or maintenancewill result in unsatisfactory performance and a possible failure. The manufacturer accepts no liability for any injury or damage to the product resulting from:
- Incorrect assembly or connection, including excess voltage
- Incorrect maintenance or use of spare parts other than original spare parts
provided by the manufacturer - Alterations to the product without express permission from the manufacturer
- Use for purposes other than those described in this manual
Dometic reserves the right to change product appearance and product specifications.
Technical description
The cooling device can cool products and keep them cool. A grid divider can be used to separate foodstuffs, e.g. bottles and sweets. The cooling system is a thermoelectric cooling with a Peltier element.
Control elements on the cooling device
Description
- Door opening sensor
- Interior light
- Automatic door control LED (optional)
- Door lock
Remote control
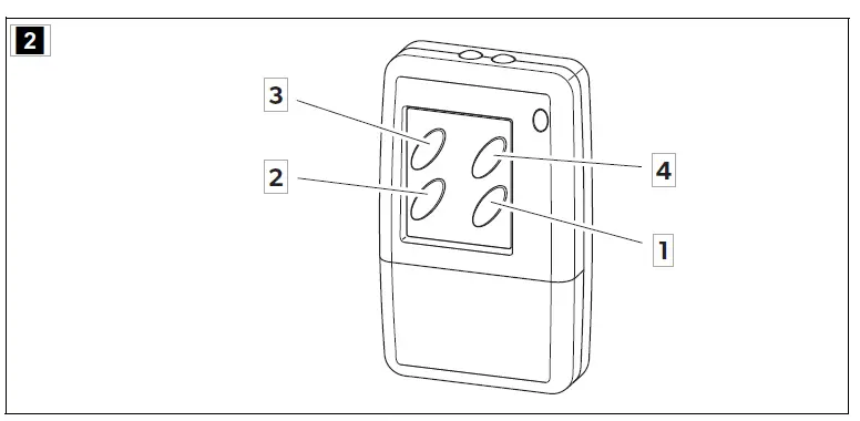
Description
- Red button: Resets the door control monitor
- Black button: Low inside temperature (two different levels possible)
- Yellow button: High inside temperature
- Blue button: Medium inside temperature
Installation
WARNING! Fire hazard!
- When positioning the device, ensure the supply cord is not trapped or damaged.
- Do not locate multiple portable socket-outlets or portable power supplies at the rear of the device.
CAUTION! Health hazard
To avoid a hazard due to instability of the device, it must be fixed in accordance with the instructions.
NOTICE! Risk of damage
Do not use extension cords or ungrounded (two prong) adapters. The cooling device is designed for free-standing installation, but can be built-in if the following conditions are complied with to ensure satisfactory operation and maximum cooling efficiency.
- The cooling device must be levelled carefully to ensure proper function.
- For the glass door version: When the ambient humidity is above 65 % at 25 °C ambient temperature, moisture will condense on the door.
- The socket outlet for the mains connection must be freely accessible.
Changing the decorative plate
- Change the decorative plate as shown (fig.3, page 4 to fig.6, page 4)

Reversing the door
- Reverse the door as shown (fig.7, page 5 to fig.0, page 5).


NOTE
The LED of the automatic door control (optional) must always be located opposite the door hinge. For versions with automatic door control, proceed as follows:
- Pull out the LED (fig.13, page 3).
- Lay the cable in the guide.
- Insert the LED on the device‘s foot on the other side.
Fixing the cooling device
Ventilation (fig.a, page 6)
- Ventilation must be provided as shown in alternatives A, B, C or D.
- Ventilation grills (1), if used, must have openings of at least 200 cm² each.
- The minimum clearance between the cooling device‘s back and the surrounding structure should be as follows:
Min. distance
2 20mm
3 105mm
- The ventilation duct must at least measure 105 mm x the width of the cooling device.
- The entire cooling unit must project into the ventilation duct as shown.
- Air passing through the ventilation duct must not be preheated by any source of heat.
- The ventilation duct must be kept free from any obstacles. Especially portable multi socket outlets or portable power supplies, which can get warm, must not be kept at the rear of the cooling device. Fix the cooling device through its fixing feet as shown (fig.b, page 7).

Mounting the sliding hinge (optional)
You can mount a sliding hinge that allows the cooling device door to be opened at the same time as the door of the built-in cabinet.
- Mount the sliding hinge as shown (fig.c, page 7 to fig.f, page 8).


Operation
Before first use
Before first use, clean the minibar inside and outside with a damp cloth for hygienic reasons (see also chapter “Cleaning and maintenance” on page 20).
Saving energy
- Only open the minibar as often and for as long as necessary.
- Allow warm food to cool down first before placing it in the device to keep cool.
- Avoid unnecessarily low temperature settings.
- For optimal energy consumption, position the shelves and drawers according to
their position on delivery. - On a regularly basis, make sure the door seal still fits properly.
- Clean dust and dirt from the condenser at regular intervals.
Switching on
NOTE
- few water drops may form inside the cooling device if it has been cooling for a lengthy period. This is normal because the moisture in the air condenses to water when the temperature in the cooling device falls. The cooling device is not defective. Wipe it out with adry cloth if necessary.
- Place the cooling device on a firm base.
- Connect the connection cable to the AC mains supply.
✔ The cooling device starts cooling the interior.
Setting the temperature
To avoid food waste, note the following:
- Keep temperature fluctuation as low as possible. Only open the minibar as often and for as long as necessary. Store the foodstuff in such a way that the air can still circulate well.
- The minibar is equipped with an automatic temperature regulation function. Select the average of the possible temperature values.
- Adjust the temperature to the quantity and type of the foodstuff.
Foodstuff can easily absorb or release odor or taste. Always store foodstuff covered or in closed containers/bottles. The cooling device is equipped with an automatic temperature regulation function. With the optional remote control (fig.2, page 3) you can adjust the temperature to four different levels. Three buttons on the remote control the temperature settings.
- Black button (2): Low inside temperature (two different levels possible)
- Yellow button (3): High inside temperature
- Blue button (4): Medium inside temperature
With each press of the buttons on the remote control, the cooling temperature switches between the possible values. By pressing a button, a red LED illuminates on the remote control.
NOTE
The red LED illuminates as soon as a signal has been sent out. Check the batteries if the LED does not illuminate.
- Remove the plastic insulation from the battery holder before initial use.
- Align the upper side of the remote control to the LEDs of the interior light (fig.12, page 3). Maintain a distance of approx. 10 cm.
- Press the desired button:
Button
(fig.2page 3) Black button (2)
Inside temperature Press once: Low level Press twice: Lowest level (maximumperformance)
LED signal
The LEDs of the interior light flash at high speed.
Button Yellow button (3) Blue button (4)
(fig.2page 3)
Inside temperature High level (minimum performance) Medium level
LED signal The LEDs of the interior light flash at low speed. The LEDs of the interior light flash at medium speed.
Using the minibar
NOTICE! Damage hazard
Only store heavy objects such as bottles or cans on the bottom of the
minibar.
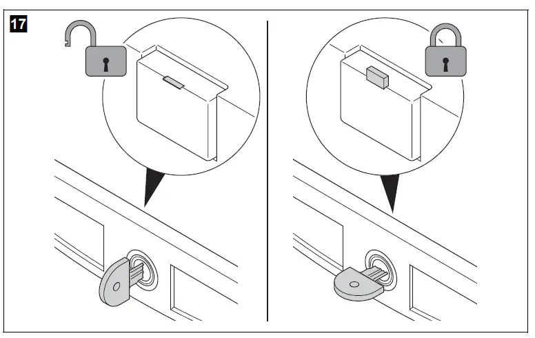
Locking the door (optional)
➤ Turn the key a quarter turn to the left to lock the cooling device (fig.g, page 9).
Switching off
- If you wish to switch the cooling device off, pull out the connection cable.
- Clean the interior to make sure it is dry enough.
Using the automatic door control (optional)
The automatic door control (optional) displays via an LED (fig.13, page 3) that the door has been opened. If the door opening monitor LED is lit:
- Open the cooling device.
- If necessary, refill the cooling device.
- Reset the door control monitor with the remote control (optional).
- Hold the remote control towards the door opening sensor (fig.11, page 3).
- Press the red button once (fig.21, page 3).
- Close the cooling device.
Defrosting the devicecooling
The cooling device is equipped with an auto-defrost function.
Cleaning and maintenance
WARNING! Electrocution hazard
Always disconnect the device from the power supply before you clean and service it.
NOTICE! Damage hazard
- Never clean the cooling device under running water or in dish water.
- Do not use abrasive cleaning agents or hard objects during cleaning as these can damage the cooling device.
- Use a soft cloth, lukewarm water and a mild detergent to clean the inside of the cooling device.
- Wash out the cooling device using clean water and dry thoroughly.
- At annual intervals, remove dust from the cooling aggregate at the back of the cooling device using a brush or a soft cloth.
Troubleshooting
Problem The cooling is poor. There is no cooling.
Possible cause Too much food was put in. Door is not closed properly.Internal air circulation is restricted. Plug is not properly connected to the mainssocket.There is no voltage in the mains socket.
Suggested remedy Remove some food. Close the door. Provide internal air circulation. Put the plug into the mains socket properly. Establish voltage.
Warranty
The statutory warranty period applies. If the product is defective, please contact your retailer or the manufacturer’s branch in your country (see dometic.com/dealer). For repair and warranty processing, please include the following documents when you send in the product:
- A copy of the receipt with purchasing date
- A reason for the claim or description of the fault
Disposal
Place the packaging material in the appropriate recycling waste bins wherever possible. If you wish to finally dispose of the product, ask your local recycling centre or specialist dealer for details about how to do this in accordance with the applicable disposal regulations.
Technical data
| RH418NTE | RH418NTEG | |
| Total volume | 20 l | |
| Connection voltage: | 100 – 240 Vw | |
| Power consumption: | max. 51 W | |
| Temperature range: | 0 °C to +12 °C | |
| Energy consumption (ambient temperature +12 °C to +25 °C): | 81 kWh/annum | 104 kWh/annum |
| Climate class: | N | |
| Intended ambient temperature use: | +16 °C to+32 °C | |
| Refrigerant: | R134a | |
| Refrigerant quantity: | 210 g | |
| Global warming potential (GWP): | 1430 | |
| Dimensions (W x H x D): | 422 x 435 x 350 mm | |
| Weight: | 10 kg | 13 kg |
| Testing/certification: |
| |
Contains fluorinated greenhouse gases
Hermetically sealed equipment
Further product information can be accessed via QR code on the energy label in the figures or via eprel.ec.europa.eu.
DOMETIC RH418NTE Compact Minibar Refrigerator
























