
REFRIGERATION SILENCIO HC

HC302, HC502
Medication refrigerator
Installation and Operating Manual
© 2021 Dometic Group. The visual appearance of the contents of this manual is protected by copyright and design law. The underlying technical design and the products contained herein may be protected by design, patent or be patent pending. The trademarks mentioned in this manual belong to Dometic Sweden AB. All rights are reserved.
1
HC302FS HC302BIU
HC502FS HC502BIU



2

3
A B C D

4

5

6

7

8

9
A B

C

10
A B


C D


11 HC302

12 HC502

Please read these instructions carefully and follow all instructions, guidelines, and warnings included in this product manual in order to ensure that you install, use, and maintain the product properly at all times. These instructions MUST stay with this product.
By using the product, you hereby confirm that you have read all instructions, guidelines, and warnings carefully and that you understand and agree to abide by the terms and conditions as set forth herein. You agree to use this product only for the intended purpose and application and in accordance with the instructions, guidelines, and warnings as set forth in this product manual as well as in accordance with all applicable laws and regulations. A failure to read and follow the instructions and warnings set forth herein may result in an injury to yourself and others, damage to your product or damage to other property in the vicinity. This product manual, including the instructions, guidelines, and warnings, and related documentation, may be subject to changes and updates. For up-to-date product information, please visit dometic.com.
1 Explanation of symbols
DANGER!
Safety instruction: Indicates a hazardous situation that, if not avoided, will result in death or serious injury.
WARNING!
Safety instruction: Indicates a hazardous situation that, if not avoided, could result in death or serious injury.
CAUTION!
Safety instruction: Indicates a hazardous situation that, if not avoided, could result in minor or moderate injury.
NOTICE!
Indicates a situation that, if not avoided, can result in property damage.
NOTE
Supplementary information for operating the product.
2 Safety instructions
2.1 General safety
WARNING! Failure to obey these warnings could result in death or serious injury.
Electrocution hazard
- Ensure that the refrigerator has been installed by a qualified technician in accordance with the Dometic installation manual.
- Do not operate the refrigerator if it is visibly damaged.
- If this refrigerator’s power cable is damaged, it must be replaced by the manufacturer, service agent or a similarly qualified person in order to prevent safety hazards.
- This refrigerator may only be repaired by qualified personnel. Inadequate repairs may cause serious hazards.
Fire hazard
- The refrigerant in the refrigerant circuit is highly flammable.
In the event of any damage to the refrigerant circuit:
- Switch off the refrigerator.
- Avoid naked flames and sparks.
- Air the room well.
Explosion hazard
- Do not store any explosive substances, such as spray cans with propellants, in the refrigerator.
Health hazard
- This refrigerator can be used by children aged from 8 years and above and persons with reduced physical, sensory or mental capabilities or lack of experience and knowledge if they have been given supervision or instruction concerning use of the refrigerator in a safe way and understand the hazards involved.
- Children shall not play with the refrigerator.
- Cleaning and user maintenance shall not be made by children without supervision.
- Children aged from 3 to 8 years are allowed to load and unload the refrigerator.
CAUTION! Failure to obey these cautions could result in minor or moderate injury.
Risk of crushing
- Do not put your fingers into the hinge.
NOTICE! Damage hazard
- Check that the voltage specification on the type plate is the same as that of the power supply.
- The refrigerator is not suitable for storing substances which are caustic or contain solvents.
- Keep the drainage outlet clean at all times.
- Do not open the refrigerant circuit under any circumstances.
- Only carry the refrigerator upright.
2.2 Operating the refrigerator safely
DANGER! Failure to obey these warnings will result in death or serious injury.
Electrocution hazard
- Do not touch exposed cables with your bare hands.
CAUTION! Failure to obey these cautions could result in minor or moderate injury.
Electrocution hazard
- Before starting the refrigerator, ensure that the power supply line and the plug are dry.
Health hazard
- The medicine and vaccines may only be stored in their original packaging or in suitable containers.
- Check if the required temperature range for the medicine or vaccine suits with the temperature range of this appliance.
- Opening the door for long periods can cause significant increase of the temperature in the compartments of the refrigerator.
- Clean regularly accessible drainage systems.
- If the refrigerator is left empty for long periods:
- Switch off the refrigerator.
- Defrost the refrigerator.
- Clean and dry the refrigerator.
- Leave the door open to prevent mold developing within the refrigerator.
NOTICE! Damage hazard
- Do not use electrical devices inside the refrigerator unless they are recommended by the manufacturer for that purpose.
- Do not place it near naked flames or other heat sources (heaters, direct sunlight, gas ovens etc.).
- Ensure that the ventilation vents are not covered.
- Never immerse the refrigerator in water.
- Protect the refrigerator and the cable against heat and moisture.
3 Scope of delivery
| Quantity | Description |
| 1 | Refrigerator |
| 1 | Handle |
| 1 | Battery (CR1632) |
| 1 | Installation and operating manual |
4 Intended use
The medication refrigeration (also referred to as refrigerator) is designed to keep heat sensitive medicines according to DIN 58345 between +2 °C and +8 °C in enclosed buildings, such as:
- In hospitals, and health centers
- In retirement homes, and nursing homes
The refrigerator is not suitable for installation in caravans or mobile homes.
The refrigerator is intended to be used either as a built-in appliance or as freestanding refrigeration appliance. Refer to the installation instructions.
The refrigerator is designed exclusively for cooling and storing medicines and vaccines in closed containers.
- It’s not suitable for storing any kind of body fluids like e.g. blood or plasma, or any body parts like e.g. human organs.
- It’s not suitable for cooling and storing of beverages and foods, storing fresh foods, or freezing foodstuffs.
This refrigerator is only suitable for the intended purpose and application in accordance with these instructions.
This manual provides information that is necessary for proper installation and/or operation of the refrigerator. Poor installation and/or improper operating or maintenance will result in unsatisfactory performance and a possible failure.
The manufacturer accepts no liability for any injury or damage to the product resulting from:
- Incorrect assembly or connection, including excess voltage
- Incorrect maintenance or use of spare parts other than original spare parts provided by the manufacturer
- Alterations to the product without express permission from the manufacturer
- Use for purposes other than those described in this manual
Dometic reserves the right to change product appearance and product specifications.
5 Technical description
5.1 Function description
All materials used in the refrigerator are compatible for use with medicines.
The refrigerant circuit is maintenance-free.
The refrigerator is available as freestanding version (FS) and as built-in version (BIU).
The freestanding version (HC302FS, HC502FS) is intended for freestanding use. The cooling unit cover protects the warm parts of the cooling units. The foot frame with ventilation openings ensure sufficient ventilation. By removing the foot frame and cooling unit cover the refrigerator can be used as a built-in version.
The built-in version (HC302BIU, HC502BIU) is intended to be mounted into furniture. It doesn’t have a foot frame or cooling unit cover.
The digital thermometer shows and stores the minimum and maximum inner temperatures from the last reset so that you can check whether the medicines have been stored at the appropriate temperatures.
5.2 Control elements
| No. in fig. 1, page 3 | Explanation |
| 1 | Door lock |
| 2 | Door |
| 3 | Digital thermometer (see fig. 2, page 3) |
| 4 | Cooling unit cover |
| 5 | Drawers |
| 6 | Interior light |
| 7 | Fan |
| 8 | Foot frame |
Key to fig. 2, page 3
| No. | Explanation |
| 1 | Current inner temperature (in °C) |
| 2 | Minimum inner temperature (in °C) |
| 3 | Maximum inner temperature (in °C) |
| 4 | Reset button |
6 Installing and connecting the refrigerator
6.1 Unpacking the refrigerator
- Check that the packaging is not damaged.
- Remove the cardboard packaging.
- Check that the refrigerator is not damaged.
If you find damage on the packaging or at the refrigerator resulting from transport, report it immediately to the transportation firm.
6.2 Installing freestanding version
Observe the following instructions when installing:
- Install the refrigerator so that the warm air produced can easily flow away, either upwards or to the sides.
- Place the refrigerator at the chosen place.
- Leave the refrigerator to stand for at least four hours before you connect it to the power supply so that the refrigerant can flow back into the compressor.
6.3 Installing built-in version
CAUTION!
Ensure the shelf is adequate to carry the total weight of the refrigerator and the contents to be stored.
Observe the following instructions when installing:
- Install the refrigerator so that the warm air produced can easily flow away (either upwards or to the front, see fig. 3, page 4).
Key to fig. 3, page 4
| No. | Explanation |
| 1 | Cold intake air |
| 2 | Hot waste air |
- Make sure that the refrigerator door is able to open at least 100°. Otherwise the drawers cannot be used.
- Check the dimensions of the refrigerator (fig. 11, page 8 or fig. 12, page 8).
- Place the refrigerator according to fig. 4, page 4 or fig. 5, page 5.
- Mount the refrigerator to the furniture by two screws through the fittings at the bottom (fig. 6, page 5).
- Leave the refrigerator to stand for at least four hours before you connect it to the power supply so that the refrigerant can flow back into the compressor.
6.4 Connecting the refrigerator to the power supply
NOTICE!
- Connect the refrigerator to a separate circuit to prevent malfunctioning due to problems with other electrical equipment. Never connect the refrigerator to a single socket with other electrical equipment by means of a multi-socket.
- UK only: The refrigerator is supplied with a plug fitted with 3 A fuse. In case this fuse has to be to changed, a 3 A ASTA approved (BS 1362) fuse must be used.
- Connect the plug of the connection cable into the AC mains.
- Insert the battery into the thermometer (see chapter “Replacing the battery of the thermometer” on page 18).
The display turns on.
For the first two seconds the display will not show temperature values; it shows “–.-“. Then the temperature read from the sensor is shown.
6.5 Mounting and removing the door handle
- Mount the handle as shown (fig. 7, page 6).
- Remove the handle as shown (fig. 8, page 6).
7 Operation
7.1 Before first use
Before first use, clean the refrigerator inside and outside with a damp cloth for hygienic reasons (see also chapter “Cleaning and maintenance” on page 19).
7.2 Saving energy
- Only open the medication refrigerator as often and for as long as necessary.
- For optimal energy consumption, position the shelves and drawers according to their position on delivery.
- On a regularly basis, make sure the door seal still fits properly.
- Clean dust and dirt from the condenser at regular intervals.
7.3 Switching on
CAUTION!
Do not store medicines and medicinal products before the operating temperature range has been reached.
After the first start, after replacing the battery or after switching off the refrigerator for a longer time the display of the digital thermometer (fig. 2, page 3) shows the current ambient temperature. When the inner temperature reaches the operating range the thermometer should be reset to avoid showing wrong maximum temperature value.
Press the reset button (fig. 2 4, page 3) for 5 s.
The thermometer has a blue backlight which makes the temperature values easier to read.
Press the reset button (fig. 2 4, page 3) briefly.
The blue backlight lights for 2 s.
The thermometer stores the values of the minimum and maximum inner temperature since the last reset. These values are deleted when the thermometer is reset or the battery is changed.
7.4 Using the refrigerator
CAUTION!
Always leave some space between the refrigerated goods in the refrigerator to ensure efficient and even cooling. If the drawers are packed too tightly there may be unacceptable temperature values.
NOTICE! Damage hazard
Only store heavy objects such as bottles or cans on the bottom of the refrigerator.
7.5 Setting the temperature
The refrigerator is equipped with an automatic temperature regulation function. The temperature cannot be set.
7.6 Replacing the battery of the thermometer
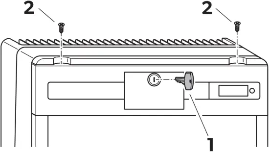
Replace the battery of the thermometer as follows (fig. 9, page 7):
1. Pull the key (1) from the lock.
2. Remove the lock cover rosette using two standard screwdrivers.
3. Remove both screws (2) from front panel.
4. Push the front panel (3) a bit upwards and remove it by slightly pulling.
5. Remove the battery (4).
NOTICE!
Make sure the polarity is correct (the “+” must face up).
6. Insert the new battery (CR1632) in its holder.
7. Remount the front panel and lock cover rosette in reversed order.
7.7 Defrosting the refrigerator
NOTE
In high ambient temperatures, the refrigerator may operate continuously, which can lead to excessive formation of frost on the rear wall of the refrigerator compartment.
Humidity can cause frost to form in the interior of the refrigerator or on the vaporizer.
A slight layer of frost or water droplets could form in the interior of the refrigerator if it has been cooling for longer periods. This is normal because the moisture in the air condenses to water when the temperature in the refrigerator drops. The refrigerator is not defective.
The condensate flows out through a water drain duct into a water container at the back of the refrigerator at top of the compressor, where it evaporates.
It is recommended to defrost the refrigerator every three weeks.
Proceed as follows:
- Switch off the refrigerator: press the
button for more than 5 seconds. - Disconnect the refrigerator from the mains.
- Remove the drawers (see chapter “Removing the drawers” on page 19).
- Leave the door open.
- After defrosting wipe out the cabinet interior with a clean, damp cloth.
- Assemble the drawers.
7.8 Switching off and storing the refrigerator
If you do not intend to use the refrigerator for a long time, proceed as follows:
- Disconnect the refrigerator from the mains.
- Clean the refrigerator (see chapter “Cleaning and maintenance” on page 19).
- Leave the door slightly open.
This prevents smells from building up.
7.9 Removing the drawers
You can remove the drawers, e.g. for cleaning.
Proceed as follows (fig. 10, page 7):
- Open the door (A).
- Pull out the drawer (B).
- Push the fixing pins from the outside to the inside (C).
- Remove the drawer (D).
- Assemble the drawers in reverse order.
8 Cleaning and maintenance
WARNING! Electrocution hazard
Always disconnect the refrigerator from the mains before you clean and service it.
NOTICE! Damage hazard
- Do not use abrasive cleaning agents or hard objects during cleaning as these can damage the refrigerator.
- Never use hard or sharp tools to remove ice or to free objects frozen onto the device.
- Do not use any mechanical tools or any other tools to speed up the defrosting process.
Clean the refrigerator regularly and as soon as it becomes dirty with a damp cloth.
Make sure that no water drips into the seals. This can damage the electronics.
Wipe the refrigerator dry with a cloth after cleaning.
Check the condensate drain regularly.
Clean the condensate drain when necessary. If it is blocked, the condensate collects on the bottom of the refrigerator.
Clean the door seals regularly.
Freestanding version: Clean the grid of the condenser and the compressor on the back of the refrigerator with a vacuum cleaner regularly.
9 Troubleshooting
Water in or under the refrigerator
| Fault | Possible cause | Remedy |
| Water is leaking into the inside of the refrigerator. | The condensate drain duct is clogged. | Clean the drain. |
| Medicines are preventing the water from flowing to the collector. | Make sure that medicines do not touch the rear wall. | |
| Water is leaking onto the floor. | There is too much water in the water container. | Clean the water container. |
Display signals
| Signal | Explanation |
| General error The display blinks each second. | The display shows alternately the current inner temperature and the active error code (fig. 2 1, page 3) (E1 or E2, see below). |
| Sensor failure The display blinks and shows “E1”. | The minimum and maximum values will be kept as the last known values. |
| Low battery The display blinks and shows “E2″ alternately with the current temperature. | The minimum and maximum inner temperatures are still visible and will be updated from the current inner temperature reading. |
10 Warranty
The statutory warranty period applies. If the product is defective, please contact the manufacturer’s branch in your country (see dometic.com/dealer) or your retailer.
For repair and warranty processing, please include the following documents when you send in the device:
- A copy of the receipt with purchasing date
- A reason for the claim or description of the fault
11 Disposal
NOTICE!
An insulating gas is used in the refrigerator (see type plate). Check with the relevant local government authority or your local waste disposal company about proper disposal and make sure that the refrigerator and all materials are disposed of professionally.
Place the packaging material in the appropriate recycling waste bins wherever possible.
If you wish to finally dispose of the product, ask your local recycling centre or specialist dealer for details about how to do this in accordance with the applicable disposal regulations.
12 Technical data
| HC302 | HC502 | |
| Total volume: | 33 l | 49 l |
| Connection voltage: | 220 - 240 V | |
| Energy consumption: | 0.42 kWh/24 h | 0.44 kWh/24 h |
| Power consumption: | 0.54 A | |
| Cooling capacity: | +2 °C to +8 °C | |
| Climatic class: | SN | |
| Intended ambient temperature use: | +10 °C to +32 °C | |
| Refrigerant: | R134a | |
| Refrigerant quantity: | 38 g | |
| CO2 equivalent: | 0.054 t | |
| Global warming potential (GWP): | 1430 | |
| Dimensions: | see fig. 11, page 8 | see fig. 12, page 8 |
| Weight: | approx. 20 kg | approx. 22 kg |
| Inspection/certification: | ||
This product contains fluorinated greenhouse gases.
The cooling unit is hermetically sealed.
![]()
Mobile living made easy.
YOUR LOCAL DEALER
dometic.com/dealer
YOUR LOCAL SUPPORT
dometic.com/contact
YOUR LOCAL SALES OFFICE
dometic.com/sales-offices
A complete list of Dometic companies, which comprise the Dometic Group, can be found in the public filings of:
DOMETIC GROUP AB Hemvarnsgatan 15 SE-17154 Solna Sweden
4445102103 2021-02-24



















