DOMETIC HC302D Medication Refrigerator Silencio HC

Explanation of symbols
DANGER!
Safety instruction: Indicates a hazardous situation that, if not avoided will result in death or serious injury.
WARNING!
Safety instruction: Indicates a hazardous situation that, if not avoided, could result in death or serious injury.
Safety instructions
General safety
!WARNING! Failure to obey these warnings could result in death or serious injury.
Electrocution hazard
- Ensure that the refrigerator has been installed by a qualified technician in accordance with the Dometic installation manual.
- Do not operate the refrigerator if it is visibly damaged.
- If this refrigerator’s power cable is damaged, it must be replaced by the manufacturer, service agent or a similarly qualified person in order to prevent safety hazards.
- This refrigerator may only be repaired by qualified personnel. Inadequate repairs may cause serious hazards.
- When positioning the refrigerator, ensure the supply cord is not trapped or damaged.
- Do not locate multiple portable socket-outlets or portable power supplies at the rear of the refrigerator.
Fire hazard
- The refrigerant in the refrigerant circuit is highly flammable.
In the event of any damage to the refrigerant circuit:- Switch off the refrigerator.
- Avoid naked flames
- Air the room well.
- After installation, it must still be possible to disconnect the refrigerator from the supply mains. This may be achieved by having the plug accessible or by incorporating a switch in the fixed wiring according to the wiring rules.
Explosion hazard
- Do not store any explosive substances, such as spray cans with propellants, in the refrigerator.Health hazard
- This refrigerator can be used by children aged from 8 years and above and persons with reduced physical, sensory or mental capabilities or lack of experience and knowledge if they have been given supervision or instruction concerning use of the refrigerator in a safe way and understand the hazards involved.
- Children shall not play with the refrigerator.
- Cleaning and user maintenance shall not be made by children without supervision.!CAUTION! Failure to obey these cautions could result in minor or moderate injury.
Risk of crushing
- Do not put your fingers into the hinge.NOTICE! Damage hazard
- Check that the voltage specification on the type plate is the same as that of the power supply.
- The refrigerator is not suitable for storing substances which are caustic or contain solvents.
- Keep the drainage outlet clean at all times.
- Do not open the refrigerant circuit under any circumstances.
- Only carry the refrigerator upright
Operating the refrigerator safely
DANGER! Failure to obey these warnings will result in death or serious injury.
Electrocution hazard
- Do not touch exposed cables with your bare hands.
WARNING! Failure to obey these warnings could result in death or serious injury.
Fire hazard
- Keep the ventilation openings, in the appliance enclosure or in the built-in structure, clear of obstruction.
- Do not use mechanical objects or other means to accelerate up the defrosting process, other than those recommended by the manufacturer.
- Do not damage the refrigerant circuit.
- Do not use electrical devices in the compartments of the appliance unless they are of the type recommended by the manufacturer
CAUTION! Failure to obey these cautions could result in minor or moderate injury.
Electrocution hazard
- Before starting the refrigerator, ensure that the power supply line and the plug are dry.
Health hazard
- Only store medicines and vaccines that are suitable to store at the temperature range from 2 °C to 8 °C.
- The medicine and vaccines may only be stored in their original packaging or in suitable containers.
- Check if the required temperature range for the medicine or vaccine suits with the temperature range of this appliance.
- Opening the door for long periods can cause significant increase of the temperature in the compartments of the refrigerator.
- Clean regularly accessible drainage systems.
- If the refrigerator is left empty for long periods:
- Switch off the refrigerator.
- Defrost the refrigerator.
- Clean and dry the refrigerator.
- Leave the door open to prevent mold developing within the refrigerator.
NOTICE! Damage hazard
- Do not place the refrigerator near naked flames or other heat sources (heaters, direct sunlight, gas ovens etc.).
- Never immerse the refrigerator in water.
- Protect the refrigerator and the cable against heat and moisture.
Scope of delivery
Quantity / Description
- Refrigerator
- Handle
- Installation and operating manual
Intended use
The medication refrigerator (also referred to as refrigerator) is designed to keep heat sensitive medicines according to DIN 58345 between +2 °C and +8 °C in enclosed buildings, such as:
- In hospitals, and health centers
- In retirement homes, and nursing homes
The refrigerator is not suitable for installation in caravans or mobile homes.
The refrigerator is intended to be used either as a built-in appliance or as freestanding refrigeration appliance. Refer to the installation instructions.
The refrigerator is designed exclusively for cooling and storing medicines and vaccines in closed containers. - The refrigerator is not suitable for storing any kind of body fluids like e.g. blood or plasma, or any body parts like e.g. human organs.
- The refrigerator is not suitable for cooling and storing of beverages and foods, storing fresh foods, or freezing foodstuffs.
This product is only suitable for the intended purpose and application in accordance with these instructions.
This manual provides information that is necessary for proper installation and/or operation of the product. Poor installation and/or improper operating or maintenance will result in unsatisfactory performance and a possible failure.
The manufacturer accepts no liability for any injury or damage to the product resulting from: - Incorrect assembly or connection, including excess voltage
- Incorrect maintenance or use of spare parts other than original spare parts provided by the manufacturer
- Alterations to the product without express permission from the manufacturer• Use for purposes other than those described in this manual
Dometic reserves the right to change product appearance and product specifications.
Function description
All materials used in the refrigerator are compatible for use with medicines and medicinal products.
The refrigerant circuit is maintenance-free.
The refrigerator is available as freestanding version (FS) and as built-in version (BIU).
The freestanding version is intended for freestanding use. The cooling unit cover protects the warm parts of the cooling units. The foot frame with ventilation openings ensure sufficient ventilation. By removing the foot frame and cooling unit cover the refrigerator can be used as a built-in version.
The built-in version is intended to be mounted into furniture. It doesn‘t have a foot frame or cooling unit cover.
During operation at an ambient temperature of +16 °C to +35 °C, the refrigerator can maintain an inner temperature of +2 °C to +8 °C.
The digital thermometer shows and stores the minimum and maximum inner temperatures from the last reset so that you can check whether the medicinal products have been stored at the appropriate temperatures.
Control elements
- Door lock
- Door
- Digital thermometer (see fig.2, page 3)
- Cooling unit cover
- Drawers
- Interior light
- Fan
- Foot frame

- Power button
- Mute button
- Current inner temperature
- Minimum inner temperature
- Reset button
- Maximum inner temperature
- LED (red) for alarms
- LED (green) for power presence
Safety thermostat
The refrigerator is fitted with a safety thermostat. This thermostat switches off the compressor as soon as the inside temperature falls below +2 °C preventing the medicinal products from being harmed by freezing.
Rechargeable battery
In case the power supply is interrupted, the monitoring functions of the electronics are maintained by an integrated rechargeable battery for at least 12 hours.
The battery is automatically charged if the refrigerator is connected to the mains and switched on.
At the first starting up of the refrigerator the error message “E3” may appear. The message will disappear as soon as the battery is charged.
If the capacity of the battery is no longer sufficient to take over the monitoring functions the error message “E3” appears on the display.
NOTICE!
The battery should be precautionary replaced every 2 years. This replacement must be carried out by qualified personnel.
Internal ventilation
The refrigerator is fitted with an internal ventilation.
The fan is operating when the door is closed.
NOTICE!
The airflow to the fan must never be impeded by blocking or covering the ventilation slots.
To prevent warm outside air from being unnecessarily sucked in, the fan automatically switches off when the door is opened.
External alarm function
There are two terminals with two floating contacts on the back of the refrigerator that can be used to trigger an additional external alarm (acoustical or visual).
Installing and connecting the refrigerator
Unpacking the refrigerator
- Check that the packaging is not damaged.
- Remove the cardboard packaging.
- Check that the refrigerator is not damaged.
- If you find damage on the packaging or at the refrigerator resulting from transport, report it immediately to the transportation firm.
Installing freestanding version
Observe the following instructions when installing:
- Install the refrigerator so that the warm air produced can easily flow away, either upwards or to the sides.
- Place the refrigerator at the chosen place.
- Leave the refrigerator to stand for at least four hours before you connect it to the power supply so that the refrigerant can flow back into the compressor
Installing built-in version
CAUTION!
Ensure the shelf is adequate to carry the total weight of the refrigerator and the contents to be stored.
Observe the following instructions when installing:
• Install the refrigerator so that the warm air produced easily flow away (either upwards or to the front, see fig.3, page 4).

- Cold intake air
- Hot waste air
- Make sure that the refrigerator door is able to open at least 100°. Otherwise the drawers cannot be used.
- Check the dimensions of the refrigerator (fig.a, page 8 or fig.b, page 8).
- Place the refrigerator according to fig.4, page 4 or fig.5, page 5.
- Mount the refrigerator to the furniture by two screws through the fittings at the bottom (fig.6, page 5).
- Leave the refrigerator to stand for at least four hours before you connect it to the power supply so that the refrigerant can flow back into the compressor.
Connecting the refrigerator to the power supply
NOTICE!
• Connect the refrigerator to a separate circuit to prevent malfunctioning due to problems with other electrical equipment.
Never connect the refrigerator to a single socket with other electrical equipment by means of a multi-socket.
• UK only: The refrigerator is supplied with a plug fitted with 3 A fuse.
In case this fuse has to be to changed, a 3 A ASTA approved (BS 1362) fuse must be used.
- Connect the plug of the connection cable into the AC mains.
- The green power LED lights up (fig.22, page 3)
- Press the power button.
✔ The display turns on.
For the first two seconds the display will not show temperature values; it shows “–.-”. Then the temperature read from the sensor is shown.
Mounting and removing the door handle
- Mount the handle as shown (fig.7, page 6).
- Remove the handle as shown (fig.8, page 6).


Installing an external alarm
Use the floating contacts at the back of the refrigerator as follows:
- The upper contacts correspond to the power fail alarm (fig.91 and 2, page 7).
- The lower contacts correspond to the temperature alarm (fig.93 and 4, page 7).
A voltage between 12 V and 250 V can be connected at the contacts. The maximum load must not exceed 8 A. The minimum power rating is 100 mA/5 V.

NOTE
The external alarm signal can only be switched off by eliminating the cause of the alarm.
Operation
Before first use
Before first use, clean the refrigerator inside and outside with a damp cloth for
hygienic reasons (see also chapter “Cleaning and maintenance” .
Saving energy
- Only open the medication refrigerator as often and for as long as necessary.
- For optimal energy consumption, position the shelves and drawers according to their position on delivery.
- On a regularly basis, make sure the door seal still fits properly.
- Clean dust and dirt from the condenser at regular intervals.
Switching on
CAUTION!
Do not store medicines and medicinal products before the E6 errorv code has disappeared and the operating temperature range has been reached.
- At the first starting up of the refrigerator or after switching it off for a long time the display of the digital thermometer (fig.2, page 3) shows the current ambien temperature alternating with the error message „E6“.

- The alarm LED will light up but no audible alarm will sound.
- As soon as the inner temperature reaches the operating temperature range (2 °C – 8 °C) the current temperature is shown.
- Reset the thermometer to avoid a wrong maximum temperature value.
- Press the reset button for 5 seconds.
Using the refrigerator
CAUTION!
Always leave some space between the refrigerated goods in the refrigerator to ensure efficient and even cooling. If the drawers are packed too tightly there may be unacceptable temperature values.
NOTICE! Damage hazard
Only store heavy objects such as bottles or cans on the bottom of the refrigerator.
Display backlight in battery mode
The thermometer display has a blue backlight to make the temperature values easier to read. The display backlight works continuously while the refrigerator is connected to the mains.
In battery mode the display backlight will switch off after 2 minutes.
➤ To activate the display backlight for 3 seconds, briefly press the button.
Temperature values
NOTE
The temperature values are shown in °C. This cannot be changed.
The thermometer stores the values of the minimum and maximum inner temperature since the last reset.
To reset these values:
➤ Press the button for 5 seconds.
Setting the temperature
The refrigerator is equipped with an automatic temperature regulation function. The temperature cannot be set.
NOTICE!
- If you are not able to eliminate the problem triggering the alarm, store the refrigerated goods somewhere else as soon as possible.
- In case of power failure, the inner temperature will raise in 2 hours (hold over time) from 2 °C to 10 °C at an ambient temperature of 25 °C.
Press the power button
NOTE
- If another alarm is triggered the alarm signal is automatically unmuted.
- After all alarm events have passed, a muted alarm signal must be manually reset to unmuted.
Defrosting the refrigerator
NOTE
In high ambient temperatures, the refrigerator may operate continuously, which can lead to excessive formation of frost on the rear wall of the refrigerator compartment.
Humidity can cause frost to form in the interior of the refrigerator or on the vaporizer.
A slight layer of frost or water droplets could form in the interior of the refrigerator if it has been cooling for longer periods. This is normal because the moisture in the air condenses to water when the temperature in the refrigerator drops. The refrigerator is not defective.
The condensate flows out through a water drain duct into a water container at the back of the refrigerator at top of the compressor, where it evaporates.
It is recommended to defrost the refrigerator every three weeks.
Proceed as follows:
- Switch off the refrigerator: press the button for more than 5 seconds.
- Disconnect the refrigerator from the mains.
- Remove the drawers (see chapter “Removing the drawers” on page 22).
- Leave the door open.
- After defrosting wipe out the cabinet interior with a clean, damp cloth.
- Assemble the drawers.
Switching off and storing the refrigerator
If you do not intend to use the refrigerator for a long time, proceed as follows
- Switch off the refrigerator: press the power button for more than 5 seconds.
- Disconnect the refrigerator from the mains.
- Clean the refrigerator (see chapter “Cleaning and maintenance” on page 23).
- Leave the door slightly open.
- This prevents smells from building up.
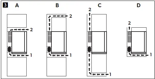
Removing the drawers
You can remove the drawers, e.g. for cleaning.
Proceed as follows 
- Open the door (A).
- Pull out the drawer (B).
- Push the fixing pins from the outside to the inside (C).
- Remove the drawer (D).
- Assemble the drawers in reverse order.
Cleaning and maintenance
WARNING! Electrocution hazard
Always disconnect the refrigerator from the mains before you clean and service it.
NOTICE! Damage hazard
- Do not use abrasive cleaning agents or hard objects during cleaning as these can damage the refrigerator.
- Never use hard or sharp tools to remove ice or to free objects frozen onto the device.
- Do not use any mechanical tools or any other tools to speed up the defrosting process.
➤ Clean the refrigerator regularly and as soon as it becomes dirty with a damp cloth.
➤ Make sure that no water drips into the seals. This can damage the electronics.
➤ Wipe the refrigerator dry with a cloth after cleaning.
➤ Check the condensate drain regularly.
Clean the condensate drain when necessary. If it is blocked, the condensate collects on the bottom of the refrigerator.
➤ Clean the door seals regularly.
Freestanding version: Clean the grid of the condenser and the compressor on the back of the refrigerator with a vacuum cleaner regularly.
Troubleshooting
Water in or under the refrigerator

Warranty
The statutory warranty period applies. If the product is defective, please contact your retailer or the manufacturer’s branch in your country (see dometic.com/dealer).
For repair and warranty processing, please include the following documents when you send in the product:
- A copy of the receipt with purchasing date
- A reason for the claim or description of the fault
Disposal
➤ Place the packaging material in the appropriate recycling waste bins, wherever possible.
Consult a local recycling center or specialist dealer for details about how to dispose of the product in accordance with the applicable disposal regulations.
Technical data

© 2021 Dometic Group. The visual appearance of the contents of this manual is protected by copyright and design law. The underlying technical design and the products contained herein may be protected by design, patent or be patent pending. The trademarks mentioned in this manual belong to Dometic Sweden AB. All rights are reserved.



















