M46330-3 Micro Tech 2400 Amplifier
Owner’s Manual
M46330-3 Micro Tech 2400 Amplifier
The information furnished in this manual does not include all of the details of design, production, or variations of the equipment. Nor does it cover every possible situation which may arise during installation, operation or maintenance. If you need special assistance beyond the scope of this manual, please contact the Crown Technical Support Group.
Mail: P.O. Box 1000 Elkhart IN 46515-1000
Shipping: 57620 C.R. 105 Elkhart IN 46517
Phone: (800) 342-6939/(219) 294-8200
FAX: (219) 294-8301
CAUTION
TO PREVENT ELECTRIC SHOCK DO NOT REMOVE TOP OR BOTTOM COVERS. NO USER SERVICEABLE PARTS INSIDE. REFER SERVICING TO QUALIFIED SERVICE PERSONNEL. DISCONNECT POWER CORD BEFORE REMOVING REAR INPUT MODULE TO ACCESS GAIN SWITCH.
WARNING
TO REDUCE THE RISK OF ELECTRIC SHOCK, DO NOT EXPOSE THIS EQUIPMENT TO RAIN OR MOISTURE!
Introduction
This manual contains service information on Crown power amplifiers. It is designed to be used in conjunction with the applicable Owner’s Manual. However, some important information is duplicated in this Service Manual in case the Owner’s Manual is not readily available.
NOTE: THE INFORMATION IN THIS MANUAL IS INTENDED FOR USE BY AN EXPERIENCED TECHNICIAN ONLY!
SCOPE
This Service Manual includes several sections. These sections include Parts Information, Specifications, Voltage Conversion, Circuit Theory, Electrical Test Procedures, Non-Module Parts Lists, and Module Parts Lists. Schematics are attached. Note that component parts with circuit board comprise a complete module. Module part numbers are always associated with a specific circuit board, although an unpopulated circuit board may be built up with different parts to create different modules. Note that Crown does not sell blank (unpopulated) circuit boards.
Each of the compact audio power amplifiers are designed for professional or commercial use. Providing high power amplification from 20Hz to 20KHz with minimum distortion, they feature balanced inputs with bridged and parallel monophonic capability. Specific features vary depending on model family.
WARRANTY
Each Owner’s Manual contains basic policies as related to the customer. In addition it should be stated that this service documentation is meant to be used only by properly trained service personnel. Because most Crown products carry a 3 Year Full Warranty (including round trip shipping within the United States), all warranty service should be referred to the Crown Factory or Authorized Warranty Service Center. See the applicable Owner’s Manual for warranty details. To find the location of the nearest Authorized Service Center or obtain instructions for receiving Crown Factory Service please contact the Crown Technical Support Group (within North America) or your Crown/ Amcron Importer (outside North America).
Parts Information
GENERAL INFORMATION
Later sections include both mechanical and electrical parts lists for this product. The parts listed are current as of the date printed. Crown reserves the right to modify and improve its products for the benefit of its customers.
PART NUMBERING SYSTEMS
As of the printing of this manual, Crown is using two numbering systems. The elder system always uses eight characters. The first character is a letter. Common letters used are C, D, H, M, P, and Q. The second through sixth characters are numbers. The numbers build sequentially (for each prefix letter) as new parts are added to our parts inventory system. (In some cases there will be a space then a four character number after the prefix letter; the space is considered a character.) The seventh character is usually a hyphen, though it may be a letter to indicate a revision or special note. The last character is called a check-digit, and is useful to Crown for internal tracking.
Crown is in the process of converting to a new part number system. Length may vary from eight to twelve characters. There is still a letter prefix, then five numbers. These five numbers identify a type of part. The seventh character is a hyphen. Remaining characters identify the details of the type of part identified by the first part of the number.
STANDARD AND SPECIAL PARTS
Many smaller electrical and electronic parts used by Crown are stocked by and available from electronic supply houses. However, some electronic parts that appear to be standard are actually special. A part ordered from Crown will assure an acceptable replacement. Structural items such as modules and panels are available from Crown only.
ORDERING PARTS
When ordering parts, be sure to give the product model, and include a description and part number (CPN/DPN) from the parts listing. Price quotes are available on request.
SHIPMENT
Shipment will be normally made by UPS or best other method unless you specify otherwise. Shipments are made to and from Elkhart, Indiana USA, only. Established accounts with Crown will receive shipment freight prepaid and will be billed. All others will receive shipment on a C.O.D. or pre-payment (check or credit card) basis.
TERMS
Normal terms are pre-paid. Net-30 Days applies to only those firms having pre-established accounts with Crown. If pre-paying, the order must be packed and weighed before a total bill can be established, after which an amount due will be issued and shipment made upon receipt of pre-payment. New parts returned for credit are subject to a 10% re-stocking fee, and authorization from the Crown Parts Department must be obtained before returning parts for credit.
Crown is not a general parts warehouse. Parts sold by the Crown Parts Department are solely for servicing Crown/Amcron products. Part prices and availability are subject to change without notice.
Specifications
Unless noted otherwise, all specifications are based on driving an 8 ohm load per channel, both channels driven, the sensitivity switch in the 26dB position, the AC supply is 120VAC at 60Hz. Crown specifications are guaranteed through the warranty period (normally 3 years). Because our testing methods are more stringent than our published specifications, every Crown amplifier will exceed its published specifications.
POWER
Power
8 Ohm Stereo—520W/Ch
4 Ohm Stereo—800W/Ch
2 Ohm Stereo—1050W/Ch
8 Ohm Bridge Mono—1585W
4 Ohm Bridge Mono—2070W
2 Ohm Parallel Mono—1530W
1 Ohm Parallel Mono—2080W
Load Impedances: Rated for 16, 8, 4, 2, and 1 (parallel mono only) Ohm operation; safe with all types of loads, even totally reactive loads.
AC Mains: 120VAC at 60 Hz with standard three-wire grounded connector for North American units; 100VAC, 120VAC, 220VAC, and 240VAC at 50 or 60 Hz when equipped with universal transformers, applicable fan assembly, and other applicable hardware with country specific power cord.
PERFORMANCE
Frequency Response: ±0.1dB from 20 Hz to 20 kHz at 1 Watt.
Phase Response: ±10° from 10 Hz to 20 kHz at 1 Watt.
Signal to Noise Ratio: A-weighted, better than 105 dB below full rated output. Better than 100 dB below full rated output from 20 Hz to 20 kHz.
Total Harmonic Distortion (THD): <0.05% from 20 Hz to 1 kHz, increasing linearly to 0.1% at 20 kHz at 500W.
I.M. Distortion: <0.05% from less than 164 milliwatts to 520 W at 26 dB gain.
Slew Rate: >13V per microsecond. (Slew rates are limited to useful levels for ultrasonic/RF protection.)
Damping Factor: >1000 from 10 Hz to 400 Hz.
DC Offset: <10 millivolts.
Input Impedance: Nominally 20K ohms balanced; 10K ohms unbalanced.
Output Impedance: <10 milliohms in series with <2 microhenries.
Protection Systems: Output Device Emulation Protection (ODEP) limits drive in the event of dangerous dynamic thermal conditions without interrupting power. Current limiting for shorted load protection. DC/LF and common mode output current Fault circuitry to mute audio. Delay of 4 seconds from turn on mutes amplifier to prevent dangerous turn-on transients. A high voltage circuit breaker in each main transformer primary and a low voltage power supply fuse in fan primary. Slew rate limiting to prevent RF burn out.
MECHANICAL
Input Connectors: Balanced 1/4 inch phone jacks. Optional XLR inputs with MT-XLR accessory.
Output Connectors: Color-coded 5-way binding posts on 3/4 inch centers; spaced 3/4 inch apart.
Front Panel Controls: A front panel rocker switch used to power the amplifier on and off.
Back Panel Controls: A three-position switch which selects Stereo, Bridge-Mono, or Parallel-Mono mode.
A rotary potentiometer for each channel used to control output level. A ground lift switch used to isolate the phone jack input grounds from the chassis (AC) ground. And a push button circuit breaker for each channel used to protect the power supplies.
Internal Controls: A three-position switch selects 0.775V, 1.4V, or 26 dB voltage gain input sensitivity.
Indicators: Amber Enable indicator shows on/off status of low-voltage power supply. An Amber ODEP indicator for each channel shows the reserve energy status.
If no reserve energy is available the indicator will dim in proportion to ODEP limiting.
Construction: Black splatter-coat steel chassis with specially designed flow-through ventilation system.
Mounting: Standard EIA 310 front-panel rack mount with supports for supplemental rear corner mounting.
Dimensions: 19 inches wide, 3.5 inches high, 16 inches deep behind front mounting surface.
Weight: 46 lbs, 14 oz. Shipping; 55 lbs, 12 oz.
The 120 Volt 60 Hz version, sold in the United States, is not voltage selectable. It does not have a voltage selection board. This version is to be used only with 120 Volts and only with 60Hz.
All other versions of the Micro Tech 2400 use a voltage selection board. The following chart indicates different configurations of jumpers for different voltages. Note that the circuit breakers, fuse and transmitter may need to be changed to accommodate different voltages.
Versions with the voltage selection board may be used at 50 or 60 Hz.
VOLTAGE SELECTION BOARD
| 100V | 120V | 200V | 220V/230V | 240V | |
| Jumpers | P8—B B—E P9—F C—F | P8—A A—D P9—F C—F | P8—B C—E P9—F | P8—B C—D P9—F | P8—A C—D P9—F |
| Circuit Breakers CB100/CB200 | C 9508-0 15 Amp | C 8041-3 7.5 Amp | |||
| Fuse F1 | A10285-10 1 Amp | A10285-7 .5 Amp | |||
| Transmute TF1 | H43068-8 | H43407-8 | H43408-6 | ||
Note: “P” locations are on the Fuse Board
Theory
OVERVIEW
It should be noted that over time Crown makes improvements and changes to their products for various reasons. This manual is up to date as of the time of writing. For additional information regarding these amplifiers, refer to the applicable Technical
Notes provided by Crown for this product.
This section of the manual explains the general operation of a typical Crown power amplifier. Topics covered include Front End, Grounded Bridge, and ODEP.
Due to variations in design from vintage to vintage (and similarities with other Crown products) the theory of operation remains simplified.
FEATURES
Micro Tech amplifiers utilize numerous Crown innovations including grounded bridge and ODEP technologies. Cooling techniques make use of the what is essentially air conditioner technology. Air flows bottom to top, and front to side. Air flows a short distance across a wide heatsink. This type of air flow provides significantly better cooling than the “wind tunnel” technology used by many other manufacturers. Output transistors are of the metal can type rather than plastic case. This allows for a significantly higher thermal margin for the given voltage and current ratings. All devices used are tested and graded to ensure maximum reliability. Another electronic technique used is negative feedback. Almost all power amplifiers utilize negative feedback to control gain and provide stability, but Crown uses multiple nested feedback loops for maximum stability and greatly improved damping. Most Crown amplifiers have damping in excess of 1000 in the bass frequency range. This feedback, along with our compensation and ultra-low distortion output topology, make Crown amplifiers superior.
Features specific to the Micro Tech Series’ include two separate power transformers (one for each channel), a full time full speed fan which also serves as the low voltage transformer, slew rate limiting, and audio muting for delay or protective action. This amplifier can operate in either a Bridged or Parallel Mono mode as well as dual (stereo). A sensitivity switch allows selection of input voltage required for rated output. Level controls are mounted on the rear panel and are of the rotary type. Front panel indicators let the user know the status of the low voltage power supply (enable), and an ODEP indicator for each channel which shows the reserve energy status. In general, the packaging of this model is designed for maximum watt/price/weight/size value with user friendly features.
For additional details refer to the specification section, or to the applicable Owner’s Manual.
FRONT END OPERATION
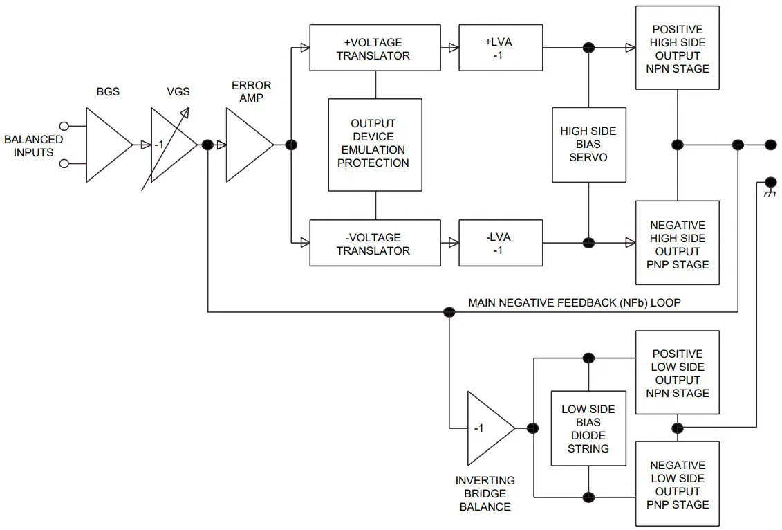
The front end is comprised of three stages: Balanced Gain Stage (BGS), Variable Gain Stage (VGS), and the Error Amp. Figure 1 shows a simplified diagram of a typical front end with voltage amplification stages.
Balanced Gain Stage (BGS)
Input to the amplifier is balanced. The shield may be isolated from chassis ground by an RC network to interrupt ground loops via the Ground Lift Switch. The non- inverting (hot) side of the balanced input is fed to the non-inverting input of the first op-amp stage. The inverting (negative) side of the balanced input is fed to the inverting input of the first op-amp stage. A potentiometer is provided for common mode rejection adjustment. Electrically, the BGS is at unity gain. (From an audio perspective, however, this stage actually provides +6dB gain if a fully balanced signal is placed on its input.) The BGS is a non-inverting stage. It’s output is delivered to the Variable Gain Stage.
Variable Gain Stage (VGS)
From the output of the BGS, the signal goes to the VGS where gain is determined by the position of the Sensitivity Switch, and level is determined by the level control. VGS is an inverting stage with the input being fed to its op-amp stage. Because gain after this stage is fixed at 26dB (factor of 20), greater amplifier sensitivity is achieved by controlling the ratio of feedback to input resistance. The Sensitivity Switch sets the input impedance to this stage and varies the gain such that the overall amplifier gain is 26 dB, or is adjusted appropriately for 0.775V or 1.4V input to attain rated output.
Error Amp
The inverted output from the VGS is fed to the noninverting input of the Error Amp op-amp stage through an AC coupling capacitor and input resistor.
Amplifier output is fed back via the negative feedback (Fn) loop resistor. The ratio of feedback resistor to input resistor fixes gain from the Error Amp input to the output of the amplifier at 26 db. Diodes prevent overdriving the Error Amp. Because the Error Amp amplifies the difference between input and output
signals, any difference in the two waveforms will produce a near open loop gain condition which in turn results in high peak output voltage. The output of the Error Amp, called the Error Signal (ES) drives the Voltage Translators.
VOLTAGE AMPLIFICATION
The Voltage Translator stage separates the output of the Error Amp into balanced positive and negative drive voltages for the Last Voltage Amplifiers (LVAs), translating the signal from ground referenced ±15V to ±Vcc reference. LVAs provide the main voltage amplification and drive the High Side output stages. Gain from Voltage Translator input to amplifier output is a factor of 25.2.
Voltage Translators
A voltage divider network splits the Error Signal (ES) into positive and negative drive signals for the balanced voltage translator stage. These offset reference voltages drive the input to the Voltage Translator transistors. A nested NFb loop from the output of the amplifier mixes with the inverted signal riding on the offset references. This negative feedback fixes gain at the offset reference points (and the output of the Error Amp) at a factor of -25.2 with respect to the amplifier output. The Voltage Translators are arranged in a common base configuration for non-inverting voltage gain with equal gain. They shift the audio from the ±15V reference to VCC reference. Their outputs drive their respective LVA.
Also tied into the Voltage Translator inputs are ODEP limiting transistors and control/protection transistors.
The ODEP transistors steal drive as dictated by the ODEP circuitry (discussed later). The control/protection transistors act as switches to totally shunt audio to ground during the turn-on delay, or during a DC/LF or Fault protective action.
Last Voltage Amplifiers (LVAs)
The Voltage Translator stage channels the signal to the Last Voltage Amplifiers (LVA’s) in a balanced configuration. The +LVA and -LVA, with their push-pull effect through the Bias Servo, drive the fully complementary output stage. The LVAs are configured as common emitter amplifiers. This configuration provides sufficient voltage gain and inverts the audio. The polarity inversion is necessary to avoid an overall polarity inversion from input jack to output jack, and it allows the NFb loop to control Error Amp gain by feeding back to its non-inverting input (with its polarity opposite to the output of the VGS). With the added voltage swing provided by the LVAs, the signal then gains current amplification through the Darlington emitter-follower output stage.
GROUNDED BRIDGE TOPOLOGY
Figure 2 is a simplified example of the grounded bridge output topology. It consists of four quadrants of three deep Darlington (composite) emitter-follower stages per channel: one NPN and one PNP on the High Side of the bridge (driving the load), and one NPN and one PNP on the Low Side of the bridge (controlling the ground reference for the rails). The output stages are biased to operate class AB+B for ultra low distortion in the signal zero-crossing region and high efficiency.

Figure 1. Typical Amplifier Front End and Voltage Amplification Stages.
High Side (HS)
The High Side (HS) of the bridge operates much like a conventional bipolar push-pull output configuration.
As the input drive voltage becomes more positive, the HS NPN conducts and delivers positive voltage to the load. Eventually the NPN devices reach full conduction and +Vcc is across the load. At this time the HS PNP is biased off. When the drive signal is negative going, the HS PNP conducts to deliver -Vcc to the load and the HS NPN stage is off.
The output of the +LVA drives the base of redrive device. Together, the redrive and driver form the first two parts of the three-deep Darlington and are biased class AB. They provide output drive through the bias resistor, bypassing the output devices, at levels below about 100mW. An RLC network between the predive and driver provide phase shift compensation and limit driver base current to safe levels. Output devices are biased class B, just below cutoff. At about 100mW output they switch on to conduct high current to the load. Together with redrive and driver, the output device provide an overall class AB+B output.
The negative half of the HS is almost identical to the positive half, except that the devices are PNP. One difference is that the PNP bias resistor is slightly greater in value so that PNP output devices run closer to the cutoff level under static (no signal) conditions. This is because PNP devices require greater drive current.
HS bias is regulated by Q18, the Bias Servo. Q18 is a Vibe multiplier which maintains approximately 3.3V Vice under static conditions. The positive and negative halves of the HS output are in parallel with this 3.3V. With a full base-emitter on voltage drop across redrives and drivers, the balance of voltage results in approximately .35V drop across the bias resistors in the positive half, and about .5V across the bias resistor in the negative half. Q18 conduction (and thus bias) is adjustable.
A diode string prevents excessive charge build up within the high conduction output devices when off. Fullback diodes shunt back-EMF pulses from reactive loads to the power supply to protect output devices from dangerous reverse voltage levels. An output terminating circuit blocks RF on output lines from entering the amplifier through its output connectors.
Low Side (LS)
The Low Side (LS) operates quite differently. The power supply bridge rectifier is not ground referenced, nor is the secondary of the main transformer.
In other words, the high voltage power supply floats with respect to ground, but ±Vic remain constant with respect to each other. This allows the power supply to deliver +Vcc and -Vcc from the same bridge rectifier and filter as a total difference in potential, regardless of their voltages with respect to ground. The LS uses inverted feedback from the HS output to control the ground reference for the rails (±Vcc). Both LS quadrants are arranged in a three-deep Darlington and are biased AB+B in the same manner as the HS.

Figure 2. Crown Patented Grounded Bridge Topology
When the amplifier output swings positive, the audio is fed to an op-amp stage where it is inverted. This inverted signal is delivered directly to the bases of the positive (NPN) and negative (PNP) LS redrives. The negative drive forces the LS PNP devices on (NPN off). As the PNP devices conduct, Vce of the PNP Darlington drops. With LS device emitters tied to ground, -Vce is pulled toward ground reference. Since the power supply is not ground referenced (and the total voltage from +Vce to -Vce is constant) +Vce is forced higher above ground potential. This continues until, at the positive amplifier output peak, -Vce = 0V and +Vce equals the total power supply potential with a positive polarity. If, for example, the power supply produced a total of 70V from rail to rail (±35VDC measured from ground with no signal), the amplifier output would reach a positive peak of +70V.
Conversely, during a negative swing of the HS output where HS PNP devices conduct, the op-amp would output a positive voltage forcing LS NPN devices to conduct. This would result in +Vac swinging toward ground potential and -Vac further from ground potential. At the negative amplifier output peak, +Vac = 0V and -Vac equals the total power supply potential with a negative polarity. Using the same example as above, a 70V supply would allow a negative output peak of 70V. In summary, a power supply which produces a total of 70VDC rail to rail (or ±35VDC statically) is capable of producing 140V peak-to-peak at the amplifier output when the grounded bridge topology is used. The voltage used in this example are relatively close to the voltages of the PB-1/460CSL.
The total effect is to deliver a peak to peak voltage to the speaker load which is twice the voltage produced by the power supply. Benefits include full utilization of the power supply (it conducts current during both halves of the output signal; conventional designs require two power supplies per channel, one positive and one negative), and never exposing any output device to more than half of the peak to peak output voltage (which does occur in conventional designs).
Low side bias is established by a diode string which also shunts built up charges on the output devices. Bias is adjustable via potentiometer. Fullback diodes perform the same function as the HS fly backs. The output of the LS is tied directly to chassis ground via ground strap.
OUTPUT DEVICE EMULATION PROTECTION (ODEP)
To further protect the output stages, a specially developed ODEP circuit is used. It produces a complex analog output signal. This signal is proportional to the always changing safe-operating-area margin of the output transistors. The ODEP signal controls the Voltage Translator stage by removing drive that may exceed the safe-operating-area of the output stage.
ODEP senses output current by measuring the voltage dropped across LS emitter resistors. LS NPN current (negative amplifier output) and +Vcc are sensed, then multiplied to obtain a signal proportional to output power. Positive and negative ODEP voltages are adjustable via two potentiometers. Across ±ODEP are a PTC and a thermal sense (current source). The PTC is essentially a cutoff switch that causes hard ODEP limiting if heatsink temperature exceeds a safe maximum, regardless of signal level. The thermal sense causes the differential between +ODEP and – ODEP to decrease as heatsink temperature increases. An increase in positive output signal output into a load will result in –ODEP voltage dropping; an increase in negative output voltage and current will cause +ODEP voltage to drop. A complex RC network between the ±ODEP circuitry is used to simulate the thermal barriers between the interior of the output device die (immeasurable by normal means) and the time delay from heat generation at the die until heat dissipates to the thermal sensor. The combined effects of thermal history and instantaneous dynamic power level result in an accurate simulation of the actual thermal condition of the output transistors.

Figure 3. Typical Crown Amplifier Basic Block Diagram (One Channel Shown)
Electrical Checkout Procedures
GENERAL INFORMATION
The following test procedures are to be used to verify operation of this amplifier. DO NOT connect a load or inject a signal unless directed to do so by the procedure. These tests, though meant for verification and alignment of the amplifier, may also be very helpful in troubleshooting. For best results, tests should be performed in order.
All tests assume that AC power is from a regulated 120 VAC source. Test equipment includes an oscilloscope, a DMM, a signal generator, loads, and I.M.D. and T.H.D. noise test equipment.
STANDARD INITIAL CONDITIONS
Level controls fully clockwise.
Stereo/Mono switch in Stereo.
Sensitivity switch in 26 dB fixed gain position.
It is assumed, in each step, that conditions of the amplifier are per these initial conditions unless otherwise specified.
TEST 1: DC OFFSET
Spec: 0 VDC, ±10 mV.
Initial Conditions: Controls per standard, inputs shorted.
Procedure: Measure DC voltage at the output connectors (rear panel). There is no adjustment for output offset. If spec is not met, there is an electrical malfunction. Slightly out of spec measurement is usually due to U104/U204 out of tolerance.
TEST 2: OUTPUT BIAS ADJUSTMENT
Spec: 300 to 320 mVDC.
Initial Conditions: Controls per standard, heatsink temperature less than 40°C.
Procedure: Measure DC voltages on the output module across R02, adjust R26 if necessary. Measure DC voltages on the output module across R21, adjust R23 if necessary. Repeat for second channel.
| °F | °C | V–ODEP | V+ODEP |
| 66 | 18.9 | –10.31 | 10.31 |
| 68 | 20 | –10.26 | 10.26 |
| 70 | 21.1 | –10.20 | 10.2 |
| 72 | 22.2 | –10.14 | 10.14 |
| 74 | 23.3 | –10.09 | 10.09 |
| 76 | 24.4 | –10.03 | 10.03 |
| 77 | 25 | –10.00 | 10 |
| 78 | 25.6 | –9.97 | 9.97 |
| 80 | 26.7 | –9.91 | 9.91 |
| 82 | 27.8 | –9.86 | 9.86 |
| 84 | 28.9 | –9.80 | 9.8 |
| 86 | 30 | –9.74 | 9.74 |
| 88 | 31.1 | –9.69 | 9.69 |
| 90 | 32.2 | –9.63 | 9.63 |
| 92 | 33.3 | –9.57 | 9.57 |
| 94 | 34.4 | –9.51 | 9.51 |
–ODEP Procedure: Measure pin 6 of U100 and, if necessary, adjust R121 to obtain V–ODEP as specified above. Measure pin 6 of U200 and, if necessary, adjust R221 to obtain V–ODEP as specified above.
+ODEP Procedure: Measure pin 6 of U103 and, if necessary, adjust R132 to obtain V+ODEP as specified above. Measure pin 6 of U203 and, if necessary, adjust R232 to obtain V+ODEP as specified above.
TEST 4: AC POWER DRAW
Spec: 100 Watts maximum quiescent.
Initial Conditions: Controls per standard.
Procedure: With no input signal and no load, measure AC line wattage draw. If current draw is excessive, check for high AC line voltage or high bias voltage.
TEST 5: COMMON MODE REJECTION
Spec at 100 Hz: –70 dB.
Spec at 20 kHz: –50 dB.
Initial Conditions: Controls per standard.
Procedure: No load. Inject a 0 dBu 100 Hz sine wave into each channel, one channel at a time, with inverting and non-inverting inputs shorted together. At the output measure less than –44 dBu. Inject a 0 dBu 20 kHz sine wave into each channel, one channel at a time, with inverting and non-inverting inputs shorted together. At the output measure less than –24 dBu. Adjust R921 or R1021, if necessary, to obtain the required measurements.
TEST 6: VOLTAGE GAIN
Spec 26dB Gain: Gain of 20.0 ±3%.
Spec 0.775V Sensitivity: ±6%.
Spec 1.4V Sensitivity: +12%/–6%.
Initial Conditions: Controls per standard.
Procedure: No load connected. Inject a 0.775 VAC 1 kHz sine wave with the Sensitivity Switch in the 26 dB position. Measure 15.5 VAC ±0.5 VAC at the amplifier output. Inject a 0.775 VAC 1 kHz sine wave with the Sensitivity Switch in the 0.775V position. Measure 64.5 VAC ±3.9 VAC at the amplifier output. Inject a 1.4 VAC 1 kHz sine wave with the Sensitivity Switch in the 1.4V position. Measure 64.5 VAC +7.7/-3.9 VAC at the amplifier output. Return the Sensitivity Switch to the 26 dB position.
TEST 7: PHASE RESPONSE
Spec: ±10° from 10 Hz to 20 kHz at 1 Watt.
Initial Conditions: Controls per standard, 8 ohm load on each channel.
Procedure: Inject a 1 kHz sine wave and adjust for 1 Watt output (2.8 VAC). Check input and output signals against each other, input and output signals must be within 10° of each other.
TEST 8: LEVEL CONTROLS
Spec: Level controlled by level controls.
Initial Conditions: Controls per standard.
Procedure: No Load. Inject a 1 kHz sine wave. With level controls fully clockwise you should see full gain.
As controls are rotated counterclockwise, observe similar gain reduction in each channel. When complete, return level controls to fully clockwise position.
TEST 9: CURRENT LIMIT
Spec: Current Limit at 38 Amps, ±3 Amps Initial Conditions: Controls per standard.
Procedure: Load each channel to 1 Ohm. Inject a 1 kHz differentiated (or 10% duty cycle) square wave. See figure 4. Increase output level until current limit occurs. Current limit should occur at 38 ±3 Amps (38 Dpc) with output device Vce less than 40 Dpc.
Observe clean (no oscillations) current clipping.

TEST 10: SLEW RATE & 10 KHZ SQUARE WAVE
Spec: 17 – 25 V/µS.
Initial Conditions: Controls per standard.
Procedure: Load each channel to 8 ohms. Inject a 10 kHz square wave to obtain 64 volts peak-to-peak at each output. Observe the slope of the square wave. It should typically measure 17 to 25 V/µS. Also, the square wave must not include overshoot, ringing, or any type of oscillation.
TEST 11: CROSSTALK
Spec: -60dB at 20 kHz.
Initial Conditions: Controls per standard. Terminate input of channel not driven with 600 ohms.
Procedure: 8 ohm load on each channel. Inject a 20 kHz sine wave into the Channel 1 input and increase output level to 62 VAC. Measure less than 62 mVAC at the output of Channel 2. Inject a 20 kHz sine wave into the Channel 2 input and increase output level to 62 VAC.
Measure less than 62 mVDC at the output of Channel 1.
TEST 12: OUTPUT POWER
Spec at 8 Ohm Stereo: >= 520W at 0.1% THD.
Spec at 4 Ohm Stereo: >= 800W at 0.1% THD.
Spec at 2 Ohm Stereo: >= 934W at 0.1% THD.
International 8 Ohm Stereo: >=515W at 0.1% THD.
International 4 Ohm Stereo: >=745W at 0.1% THD.
International 2 Ohm Stereo: >=925W at 0.1% THD.
Initial Conditions: Controls per standard.
Procedure: Load each channel to 8 ohms. Inject a 1 kHz sine wave and measure at least 64.5 VAC at the output of each channel. Load each channel to 4 ohms. Inject a 1 kHz sine wave and measure at least 56.6 VAC.
Load each channel to 2 ohms. Inject a 1 kHz sine wave and measure at least 43.2 VAC. All power measurements must be at less than 0.1% THD.
TEST 13: REACTIVE LOADS
Spec: No oscillations. Safe with all types of loads.
Initial Conditions: Controls per standard.
Procedure Capacitive: Load each channel to 8 ohms in parallel with 2 µF. Inject a 20 kHz sine wave with 55 VAC output for 10 seconds.
Procedure Inductive: Load each channel to 8 ohms in parallel with 159 µHenry’s. Inject a 1 kHz sine wave with 35.8 VAC output for 10 seconds.
Procedure Torture: Load each channel with the primary (red and black leads) of a DC-300A transformer (D 5781-6). Inject a 15 Hz sine wave at sufficient output Zlevel to cause 3 to 5 fullback pulses, for 10 seconds.
Procedure Short: Inject a 60 Hz sine wave at 5 VAC minimum output. After establishing signal, short the output for 10 seconds.
TEST 14: ODEP LIMITING
Spec: No oscillation on ODEP Limiting wave form;
either channel controls limiting in Parallel Mono Mode.
Initial Conditions: Controls per standard; rag or other obstruction blocking fan so that it does not turn.
Procedure: Load the amplifier to 4 ohms on each channel. Inject a 60 Hz sine wave and adjust for 35 Vims at the output. After a few minutes observe a wave form similar to Figure 5. Remove the input signal from both channels and allow the amplifier to cool for a few minutes. Switch the amplifier to Parallel Mono and remove the load from Channel 1. Inject the signal into Channel 1 and observe that ODEP limiting occurs at the output of both channels. Remove the load from Channel 2, and install the load on Channel 1. Again, observe that both channels limit. Return all amplifier controls to standard initial conditions. Remove the fan obstruction.

TEST 15: LF PROTECTION
Spec: Amplifier mutes for low frequency.
Initial Conditions: Controls per standard.
Procedure: No load. Inject a 0.5 Hz 6 volt peak-to-peak square wave, or a 2 Hz 6VAC sine wave into each channel and verify that each channel cycles into mute.
TEST 16: SIGNAL TO NOISE RATIO
Spec: 100 dB below rated 8 ohm power 20 Hz to 20 kHz. 105 dB A-Weighted.
Initial Conditions: Controls per standard. Short inputs.
Procedure: Load each channel to 8 ohms. Measure less than 645 µV at the output of each channel (20 Hz20 kHz bandpass filter).
TEST 17: TURN ON TRANSIENTS
Spec: No dangerous transients.
Initial Conditions: Controls per standard.
Procedure: From an off condition, turn on the amplifier and monitor the output noise at the time of turn on.
Note: Turn on noise may increase significantly if the amplifier is cycled off and on.
TEST 18: TURN OFF TRANSIENTS
Spec: No dangerous transients.
Initial Conditions: Controls per standard.
Procedure: From an on condition, turn off the amplifier and monitor the output noise at the time of turn off.
Note: Turn off noise may increase significantly if the amplifier is cycled off and on.
TEST 19: INTERMODULATION DISTORTION
Spec at 0 dB Output: 0.01%.
Spec at –35 dB Output: 0.05%.
Initial Conditions: Controls per standard.
Procedure: Load each channel to 8 ohms. Inject a SMPTE standard IM signal (60 Hz and 7 kHz sine wave mixed at 4:1 ratio). Set the 60 Hz portion of the sine wave to 51.5 Volt RMS. Set the 7 kHz portion to 25%. With an IM analyzer measure less than 0.01% IMD. Repeat test at –35 dB (reference 51.5 Volt RMS, 60 Hz portion) and measure less than 0.05% IMD.
TEST 20: CLIPPING
Spec: No protective action during test.
Initial Conditions: Controls per standard.
Procedure: Load each channel to 8 ohms. Inject a 1 kHz sine wave at each input and drive output 6 dB into clip for 10 seconds. The amplifier should not activate any protective circuits (ODEP, Fault, or LF Protection).
POST TESTING
After completion of testing, if all tests are satisfactory, the amplifier controls should be returned to the positions required by customer. If conditions are unknown or unspecified, factory settings are as follows:
Level Controls: 9 to 11 O’clock.
Sensitivity Switch: 0.775V U.S., 1.4V International.
Stereo/Mono Switch: Stereo.
Ground Lift: Lift. Power: Off.
Parts List (Non-Module)
SUPPLIMENTAL ITEMS
| CPN | ITEM | QTY |
| D 4137-2 | Nylon Thumbscrew Washer | 4 |
| C 3342-0 | Feet, Black Self-Stick | 4 |
| A10087-71012 | 10-32 .75 Machine (Rack Screw) | 4 |
| K80603-2 | MT Series Owners Manual | 1 |
POWER SUPPLY
| POWER SUPPLY CPN | ITEM | QTY |
| D 7975-2 | Power Cord (US Models) | 1 |
| A10793-0503G | Power Cord (European plug) | 1 |
| D 8633-6 | Power Transformer (120V 60 Hz only) | 2 |
| D 8631-0 | Power Transformer (Universal Volt) | 2 |
| C 9508-0 | Circuit Breaker, 15A (100V-120V) | 2 |
| C 8041-3 | Circuit Breaker, 7.5A (200V-240V) | 2 |
| A10285-10 | Fuse, 1A 3AG (100V-120V) | 1 |
| A10285-7 | Fuse, .5A AGC (200V-240V) | 1 |
| H43409-4 | Transmute (120V 60 Hz Only) | 1 |
| H43408-6 | Transmitter (200V-240V Only) | 1 |
| H43068-8 | Transmitter (100V Only) | 1 |
| H43407-8 | Transmitter (120V 50 Hz) | 1 |
| A10101-19 | Fiber Washer, 500ODX195ID (Universal Volt Only) | 2 |
| D 8299-6 | Fish Paper Insulation (Universal Volt Only) | 2 |
| H43403-7 | Universal Volt Wires (Universal Volt Only) | 2 |
| P10178-5 | Terminal Jumper Board Ch 2 (Universal Volt Only) | 1 |
| P10432-6 | Terminal Jumper Board Ch 1 (Universal Volt Only) | 1 |
| A10089-11032 | 10-32 x 2 PNHD Screw (Mounts Transformers) | 8 |
| A10094-8 | #10 Int Tooth Lock washer | 8 |
| A10099-7 | #10 Nylon Shoulder Washer | 8 |
| C 7062-0 | 6-32 x 5/16 undercut Filths MSc (Moor Sam) | 2 |
| C 9938-9 | Fan Blade, 4.5 Inch CCW | 1 |
| D 8439-8 | Fan Bracket | 1 |
| D 8639-3 | 6300µF 150V Electrolytic Capacitor | 2 |
| C 8752-5 | 35A 400V Bridge Rectifier | 2 |
| D 8438-0 | Capacitor Bracket | 2 |
| D 6764-1 | Shoulder Washer (Cap As) | 4 |
| C 9870-4 | 10-32 x .38 Screw (Cap Sam) | 4 |
| A10098-5 | 1/4″ Belleville Spring Washer (Cap Sam) | 4 |
| A10095-4 | #10 External Star Lock washer (Cap Sam) | 4 |
| H43469-8 | Blue Wires, Cap Sam | 2 |
| H43470-6 | Red Wires, Cap Sam | 2 |
OUTPUT ASSEMBLY (ONE PER CHANNEL)
| CPN | ITEM | QTY (PER CHANNEL) |
| C 8187-4 | NPN Output Device | 6 |
| C 8188-2 | PNP Output Device | 6 |
| C 8573-5 | PNP Driver Transistor, TO-3P (2SA1186) | 2 |
| C 8574-3 | NPN Driver Transistor, TO-3P (2SC2837) | 2 |
OUTPUT ASSEMBLY CONT. (ONE PER CHANNEL)
| CPN | ITEM | QTY(PER CHANNEL) |
| D 7665-9 | Clip, TO-3P Mounting | 2 |
| D 7666-7 | Bracket, TO-3P Heatsink | 2 |
| C 8813-5 | Q318/Q418 Bias Servo MPSA18/MPS8097 | 1 |
| B 5842-8 | Tubing, #23 TFE Thin Wall Red (For C 8813-5) | Request in Inches |
| C 5826-0 | S100/S200 Thermal Sense LM334Z | 1 |
| B 5464-1 | Tubing, #24 Teflon Thin Wall (For C 5826-0) | Request in Inches |
| D 8774-8 | PTC Thermal Sensor 95DEGC | 1 |
| A10315-1 | Screw, 6-32-.56 Hex Washer Head | 12 |
| C 9491-9 | Screw, 6-32-.312 Tektite Pan Ph | 29 |
| D 7796-2 | Salad Insulator (Between Chassis and Heatsinks) | 1 |
| D 7797-0 | Output Thru-Hole Pad Insulator | 1 |
| D 8197-2 | Paper Shroud | 1 |
| C 9387-9 | Rivet, Plastic | 2 |
| F12019-0 | Diode Heatsink Slug (Under diodes on Module) | 1 |
| M21322J8 | Heatsink, Copper 3/4″ with fins | 2 |
BACK PANEL ASSEMBLY
| CPN | ITEM | QTY |
| M21417J6 | Back Panel (US Model) | 1 |
| M21423J4 | Back Panel (European Model) | 1 |
| F10787J3 | Back Cover Plate | 1 |
| C 2823-0 | Dual Binding Post Assembly | 2 |
| D 7600-6 | Ground Strap, Dual Bananas | 1 |
| D 7975-2 | 20A Power Cord (US Models) | 1 |
| A10793-0503G | European Power Cord | 1 |
| F11160-3 | Strain Relief for US Models | 1 |
| A10214-7 | Strain Relief, European Model | 1 |
| A10086-70806 | 8-32 X .37 Round Head Machine Screw | 2 |
| A10094-6 | #8 Internal Star Lock washer | 4 |
| A11376-6130J | 13 Inch Black 12 Gauge output wire | 1 |
| A11376-6235J | 23.5 Inch Black 12 Gurage output wire | 1 |
| A11394-6160E | 16 Inch Red 12 Gurage output wire | 1 |
| A11394-6235E | 23.5 Inch Red 12 Gurage output wire | 1 |
| A11390-6130E | 13 Inch Black 22 Gurage wire | 1 |
CHASSIS FRONT ASSEMBLY
| CPN | ITEM | QTY |
| A10090-70806 | Screw, 8-32-.375 Mach Ph Oval (Grille) | 3 |
| A10090-70808 | Screw, 8-32-.5 Mach Ph Oval (End Caps) | 4 |
| A10101-5 | Washer, Nylon (Grille) | 3 |
| A10173-1 | Clip, Grille Filter | 3 |
| D 6944-9 | Air Filter | 1 |
| D 8052J8 | End Cap | 2 |
| F12435J7 | Grille | 1 |
| D 8635-1 | MT-2400 Front Panel Overlay | 1 |
MAIN CHASSIS ASSEMBLY
| CPN | ITEM | QTY |
| D 8501-5 | Cover, Top | 1 |
| D 8548-6 | Cover, Bottom | 1 |
| A10110-70605 | Screw, 6-32-.312 Taotie Ph (Covers) | 16 |
| M21447J3 | Main Chassis | 1 |
MISCELLANEOUS
| MISCELLANEOUS CPN | ITEM | QTY |
| A10110-70812 | 8-32 x .750 Aptote PhD Screw | 2 |
| A10094-3 | Washer, #6 Black Star | 3 |
| A10109-10822 | Screw, 8-18-1.375 Pan Ph | 2 |
| A10192-1 | Snap Bushing .5 | 4 |
| C 6912-7 | Tension Retainer Board Support | 2 |
| C 6913-5 | Spacer Nut, 1 inch | 2 |
| C 6914-3 | Spacer Nut, .75 inch | 2 |
| C 8812-7 | 5.5″ Cable Tie | 27 |
| C 1813-2 | 7.5″ Cable Tie & Clamp | 2 |
| C 5894-8 | 15″ Cable Tie | 1 |
| D 7622-0 | 16.5″ 16 Pin Ribbon Cable | 1 |
| C 7351-7 | 10-12 Ga Splice Connector | 2 |
| C 9491-9 | Screw, 6-32 x .312 Pan Head | 11 |
| D 7784-8 | Label, Sensitivity Switch | 1 |
| D 8251-7 | Label, F1 Fuse Replacement | 1 |
| D 8069-4 | Insulator, Fuse Board | 1 |
Module Information
MODULE HISTORY
The Micro Tech 2400 amplifier was introduced in January of 1995. Since then there have been several updates and revisions, some of which called for new modules. The following is a list of all modules used up to this date, July 1995.
OUTPUT MODULES: (left and right are identical) Q43354-2
Original Output Module, still in production. Uses P10429-2 board.
MAIN MODULES:
Q43328-6 Original Main Module on D 8679-9 board. Used until 6-14-95.
Q43399-7 Main Module on D 8827-4 board.
FUSE MODULE:
M46330-3 Fuse board on P10425-0 board.
DISPLAY MODULE:
Q43327-8 Display module on D 8030-5 board.
M46330-3 Fuse Module & Q43327-8 Display Module Parts List
M46330-3 FUSE MODULE
| 2 | C 5060-6 | PC Mount Fuse Clip |
| 11 | C 7817-7 | Tab, AMP .25 Fasten PC Mount |
| 1 | P10425-0 | MT-2400 Fuse Board |
For replacement fuse see Power Supply Parts List on page 16.
Q43327-8 DISPLAY MODULE CAPACITORS
| C503 | C603 | C 6806-1 | .01µF |
| C507 C701 C702 | C607 | C 6809-5 C 6802-0 C 6802-0 | 220pF .47µF .47µF |
DIODES
| D701 | C 3533-4 | 1N966B |
| D702 | C 3533-4 | 1N966B |
LED’S
| E502 E602 | C 4342-9 | Amber, MV5153 |
| E701 | C 4342-9 | Amber, MV5153 |
CONNECTOR
| J3 | C 4508-5 | Socket, IC DIP 16 Pin |
TRANSISTORS
| Q504 | Q604 | C 3625-8 | 2N4125 |
RESISTORS
| R508 R608 | A10266-1351 | 1.3M |
| R509 R609 | A10266-7551 | 7.5M |
| R510 R610 | A10266-4751 | 4.7M |
| R511 R611 | A10266-4741 | 470K |
| R512 R612 | A10266-2221 | 2.2K |
| R513 R613 | A10266-1522 | 1.5K .5W |
| R514 R614 | A10266-1001 | 10 Ohm |
| R615 | A10266-1522 | 1.5K .5W |
| R702 | A10266-5111 | 510 Ohm |
| R707 | A10266-5111 | 510 Ohm |
INTEGRATED CIRCUITS
| U502 | C 5070-5 | TL072CP |
BOARD
| 1 | D 8030-5 | MT Display Board |
Q43354-2 Output Module for MT-2400. For Schematic See J0658-5
CAPACITORS
| C01 | C 8511-5 | .047µF |
| C02 | C 8426-6 | .1µF |
| C03 | C 8426-6 | .1µF |
| C04 | C 6806-1 | .01µF |
| C05 | C 6806-1 | .01µF |
| C06 | C 6806-1 | .01µF |
| C07 | C 6807-9 | .001µF |
| C08 | C 6810-3 | 180pF |
| C09 | C 6809-5 | 220pF |
| C43 | C 7697-3 | .01µF 500V |
DIODES
| D01 | C 2851-1 | 1N4004 |
| D02 | C 2851-1 | 1N4004 |
| D03 | C 2851-1 | 1N4004 |
| D04 | C 2851-1 | 1N4004 |
| D05 | C 2941-0 | 1N5402 |
| D06 | C 2941-0 | 1N5402 |
| D07 | C 2941-0 | 1N5402 |
| D08 | C 2941-0 | 1N5402 |
| D09 | C 2851-1 | 1N4004 |
| D10 | C 2851-1 | 1N4004 |
| D11 | C 2851-1 | 1N4004 |
| D12 | C 2851-1 | 1N4004 |
| D13 | C 2851-1 | 1N4004 |
| D14 | C 2851-1 | 1N4004 |
INDUCTORS
| L00 | C 6592-6 | Output Coil |
| L01 | C 3510-2 | 470µH |
| L02 | C 3510-2 | 470µH |
TRANSISTORS
| Q17 | C 8508-1 | NPN 2SC3298B |
| Q19 | C 8509-9 | PNP 2SA1306B |
Note: Q18, S100/200, Driver and Output Transistors are not included with the module. See the Output Assembly Parts List on pages 16 & 17.
RESISTORS
| R00 | A10266-7501 | 75 |
| R01 | A10266-1011 | 100 |
| R02 | C 7778-1 | 5.6 flame proof |
| R03 | C 6486-2 | .2 5W |
| R04 | C 6486-2 | .2 5W |
| R05 | C 6486-2 | .2 5W |
| R06 | C 6486-2 | .2 5W |
| R07 | C 6486-2 | .2 5W |
| R08 | C 6486-2 | .2 5W |
| R09 | C 7779-9 | 22 flame proof |
| R10 | A10266-1011 | 100 |
| R11 | C 7317-8 | 2.7 5W |
| R12 | A10266-2R74 | 2.7 2W |
| R13 | A10266-7501 | 75 |
| R14 | A10266-2R74 | 2.7 2W |
| R15 | C 6486-2 | .2 5W |
| R16 | C 6486-2 | .2 5W |
| R17 | C 6486-2 | .2 5W |
| R18 | C 6486-2 | .2 5W |
| R19 | C 6486-2 | .2 5W |
| R20 | C 6486-2 | .2 5W |
| R21 | C 7778-1 | 5.6 flame proof |
| R22 | C 7779-9 | 22 flame proof |
| R23 | C 6844-2 | 250 Pot LS Bias |
| R24 | A10266-1331 | 13K |
| R25 | A10266-2221 | 2.2K |
| R26 | C 6844-2 | 250 Pot HS Bias |
| R27 | A10266-3911 | 390 |
| R28 | A10266-1331 | 13K |
| R29 | A10266-5101 | 51 |
| R30 | A10265-10201 | 102 |
| R41 | A10266-2201 | 22 |
| R42 | A10266-2201 | 22 |
| R43 | A10266-2201 | 22 |
MISC.
| Board | P10429-2 | |
| Jumpers | C 5868-2 | 0 Ohm Jumper (11) |
| Clips | D 6414-3 | Q17/19 Hold Down |
| P500 P600 | C 9828-2 | 12 Pin Header |
Q43328-6 Main Module Parts List (D8679-9 Board)
Q43328-6 MT-2400 ORIGINAL MAIN MODULE Use Schematic J 0658-5
CAPACITORS
| C1 | C 3913-8 | 470µF |
| C2 | C 3913-8 | 470µF |
| C4 | C 6802-0 | .47µF |
| C5 | C 6806-1 | .01µF |
| C6 | C 6806-1 | .01µF |
| C7 | C 8897-8 | .1µF |
| C8 | C 5362-6 | 2.2uF |
| C100 C200 | C 5311-3 | 22µF |
| C101 C201 | C 9464-6 | 10pF |
| C102 C202 | C 8576-8 | 100uF |
| C103 C203 | C 6805-3 | .022µF |
| C104 C204 | C 6805-3 | .022µF |
| C105 C205 | C 6812-9 | 47pF |
| C106 C206 | C 6812-9 | 47pF |
| C107 C207 | C 8897-8 | .1µF |
| C108 C208 | C 6814-5 | 12pF |
| C109 C209 | C 8576-8 | 100µF |
| C110 C210 | C 5362-6 | 2.2µF |
| C112 C212 | C 9991-8 | 1µF |
| C113 C213 | C 9992-6 | 47µF |
| C114 C214 | C 8854-9 | 100µF |
| C115 C215 | C 8854-9 | 100µF |
| C116 C216 | C 9992-6 | 47µF |
| C117 C217 | C 9991-8 | 1µF |
| C118 C218 | C 6814-5 | 12pF |
| C119 C219 | C 6802-0 | .47µF |
| C122 C222 | C 6811-1 | 100pF |
| C123 C223 | C 6812-9 | 47pF |
| C124 C224 | C 6812-9 | 47pF |
| C129 C229 | C 6814-5 | 12pF |
| C130 C230 | C 6813-7 | 27pF |
| C132 C232 | C 6806-1 | .01µF |
| C133 C233 | C 6813-7 | 27pF |
| C134 C234 | C 6805-3 | .022µF |
| C135 C235 | C 6805-3 | .022µF |
| C136 C236 | C 6808-7 | 470pF |
| C137 C237 | C 6808-7 | 470pF |
| C138 C238 | C 6813-7 | 27pF |
| C139 C239 | C 6813-7 | 27pF |
| C140 C240 | C 6812-9 | 47pF |
| C141 C241 | C 6812-9 | 47pF |
| C144 C244 | C 8576-8 | 100µF |
| C145 C245 | C 6812-9 | 47pF |
| C146 C246 | C 6812-9 | 47pF |
| C147 C247 | C 6806-1 | .01µF |
| C148 C248 | C 6810-3 | 180pF |
| C149 C249 | C 6808-7 | 470pF |
| C150 C250 | C 6806-1 | .01µF |
| C151 C251 | C 6806-1 | .01µF |
| C152 C252 | C 6950-7 | 82pF 5% |
| C153 C253 | C 8897-8 | .1µF |
| C154 C254 | A10434-104JD | .1µF 250V |
| C155 C255 | C 8897-8 | .1µF |
| C156 C256 | C 8897-8 | .1µF |
| C158 C258 | C 6805-3 | .022uF |
| C159 C259 | C 6805-3 | .022uF |
| C160 C260 | C 8897-8 | .1uF |
| C161 C261 | C 8897-8 | .1uF |
DIODES
| D1 | C 2851-1 | 1N4004 |
| D2 | C 2851-1 | 1N4004 |
| D3 | C 2851-1 | 1N4004 |
| D4 | C 2851-1 | 1N4004 |
| D5 | C 2851-1 | 1N4004 |
| D6 | C 2851-1 | 1N4004 |
| D7 | C 2851-1 | 1N4004 |
| D100 D200 | C 3181-2 | 1N4148 |
| D101 D201 | C 3181-2 | 1N4148 |
| D102 D202 | C 3824-7 | 1N970B |
| D103 D203 | C 3181-2 | 1N4148 |
| D104 D204 | C 3181-2 | 1N4148 |
| D108 D208 | C 3181-2 | 1N4148 |
| D109 D209 | C 3181-2 | 1N4148 |
| D110 D210 | C 3181-2 | 1N4148 |
| D111 D211 | C 5061-4 | 1N3070 |
| D112 D212 | C 3181-2 | 1N4148 |
| D113 D213 | C 3181-2 | 1N4148 |
| D120 D220 | C 3181-2 | 1N4148 |
| D121 D221 | C 3181-2 | 1N4148 |
| D122 D222 | C 3181-2 | 1N4148 |
| D123 D223 | C 5061-4 | 1N3070 |
| D124 D224 | C 3181-2 | 1N4148 |
| D125 D225 | C 3181-2 | 1N4148 |
| D126 D226 | C 5061-4 | 1N3070 |
| D127 D227 | C 5061-4 | 1N3070 |
| D128 D228 | C 5061-4 | 1N3070 |
| D129 D229 | C 3181-2 | 1N4148 |
| D130 D230 | C 3181-2 | 1N4148 |
| D131 D231 | C 3181-2 | 1N4148 |
| D132 D232 | C 3181-2 | 1N4148 |
| D133 D233 | C 3181-2 | 1N4148 |
| D134 D234 | C 3181-2 | 1N4148 |
LED’s
| E100 E200 | C 9857-1 | RED |
| E101 E201 | C 9857-1 | RED |
RESISTOR NETWORKS
| N101 | N201 | D 7944-8 | Res. Net. |
| N102 | N202 | D 6082-8 | Res. Net. |
TRANSISTORS
| Q100 | Q200 | D 2961-7 | 2N3859A |
| Q101 | Q201 | C 3578-9 | MPSA93 |
| Q102 | Q202 | C 3810-6 | MPSA43 |
| Q103 | Q203 | C 3786-8 | PN4250 |
| Q105 | Q205 | C 3578-9 | MPSA93 |
| Q106 | Q206 | C 3625-8 | 2N4125 |
| Q107 | Q207 | C 3786-8 | PN4250 |
| Q108 | Q208 | C 5891-4 | MTS105 |
| Q109 | Q209 | D 2961-7 | 2N3859A |
| Q110 | Q210 | C 3810-6 | MPSA43 |
| Q112 | Q212 | C 3625-8 | 2N4125 |
| Q113 | Q213 | C 3625-8 | 2N4125 |
| Q115 | Q215 | D 2962-5 | MPS8097 |
| Q116 | Q216 | C 3786-8 | PN4250 |
| Q117 | Q217 | D 2961-7 | 2N3859A |
| Q118 | Q218 | D 2961-7 | 2N3859A |
| Q119 | Q219 | C 3625-8 | 2N4125 |
| Q120 | Q220 | C 3625-8 | 2N4125 |
| Q123 | Q223 | C 7458-0 | 2N4123 |
| Q124 | Q224 | C 3625-8 | 2N4125 |
| Q125 | Q225 | C 3786-8 | PN4250 |
| Q126 | Q226 | C 5891-4 | MTS105 |
| Q127 | Q227 | C 3625-8 | 2N4125 |
| Q128 | Q228 | C 7458-0 | 2N4123 |
| Q129 | Q229 | C 3625-8 | 2N4125 |
| Q130 | Q230 | C 7458-0 | 2N4123 |
| Q131 | Q231 | C 3625-8 | 2N4125 |
| Q132 | Q232 | C 3625-8 | 2N4125 |
| Q133 | Q233 | C 3625-8 | 2N4125 |
| Q134 | Q234 | C 3625-8 | 2N4125 |
| Q135 | Q235 | C 7458-0 | 2N4123 |
| Q136 | Q236 | C 7458-0 | 2N4123 |
| Q137 | Q237 | C 3625-8 | 2N4125 |
RESISTORS
| R1 | A10265-53621 | 53.6K 1% | |
| R2 | C 7340-0 | 24 5W | |
| R3 | C 7340-0 | 24 5W | |
| R4 | A10265-46421 | 46.4K 1% | |
| R5 | OPEN | ||
| R7 | A10266-4331 | 43K | |
| R8 | A10265-75021 | 75K 1% | |
| R10 | OPEN | ||
| R17 | A10265-75021 | 75K 1% | |
| R18 | A10266-4331 | 43K | |
| R100 | R200 | C 7409-3 | 5K Lin. Vol. |
| R101 | R201 | A10265-49911 | 4.99K 1% |
| R102 | R202 | A10266-5111 | 510 |
| R103 | R203 | A10265-10031 | 100K 1% |
| R104 | R204 | A10266-2721 | 2.7K |
| R105 | R205 | A10266-2721 | 2.7K |
| R106 | R206 | A10266-1231 | 12K |
| R107 | R207 | A10266-6831 | 68K |
| R108 | R208 | A10265-80601 | 806 |
| R109 | R209 | A10266-5601 | 56 |
| R110 | R210 | A10266-6831 | 68K |
| R111 | R211 | A10266-1231 | 12K |
| R112 | R212 | A10266-5131 | 51K |
| R113 | R213 | A10266-4721 | 4.7K |
| R114 | R214 | A10266-4721 | 4.7K |
| R115 | R215 | A10266-3341 | 330K |
| R116 | R216 | A10266-2751 | 2.7M |
| R117 | R217 | A10265-46421 | 46.4K 1% |
| R118 | R218 | A10265-28701 | 287 1% |
| R119 | R219 | A10265-68101 | 681 1% |
| R120 | R220 | A10265-28701 | 287 1% |
| R121 | R221 | C 5062-2 | 100K Pot |
| R122 | R222 | A10266-2741 | 270K |
| R123 | R223 | A10266-2732 | 27K .5W |
| R124 | R224 | A10266-6821 | 6.8K |
| R125 | R225 | C 8836-6 | 100 .5W FP |
| R126 | R226 | C 8836-6 | 100 .5W FP |
| R127 | R227 | A10266-6821 | 6.8K |
| R128 | R228 | A10266-1331 | 13K |
| R129 | R229 | A10265-10031 | 100K 1% |
| R130 | R230 | A10265-10031 | 100K 1% |
| R131 | R231 | A10266-1331 | 13K |
| R132 | R232 | C 5062-2 | 100K Pot |
| R133 | R233 | A10266-2741 | 270K |
| R134 | R234 | A10266-2732 | 27K .5W |
| R135 | R235 | A10266-1012 | 100 .5W |
| R136 | R236 | A10266-6821 | 6.8K |
| R137 | R237 | A10266-1012 | 100 .5W |
| R138 | R238 | A10266-6821 | 6.8K |
| R139 | R239 | A10265-80601 | 806 1% |
| R140 | R240 | A10266-5601 | 56 |
| R141 | R241 | A10266-1541 | 150K |
| R142 | R242 | A10266-1541 | 150K |
| R143 | R243 | A10266-4711 | 470 |
| R144 | R244 | A10266-4711 | 470 |
| R145 | R245 | A10266-4711 | 470 |
| R146 | R246 | A10266-1231 | 12K |
| R147 | R247 | C 8836-6 | 100 .5W FP |
| R148 | R248 | A10266-2721 | 2.7K |
| R149 | R249 | C 8836-6 | 100 .5W FP |
| R150 | R250 | A10266-2721 | 2.7K |
| R151 | R251 | A10266-1231 | 12K |
| R152 | R252 | A10265-11521 | 11.5K 1% |
| R153 | R253 | A10124-24 | JUMPER |
| R154 | R254 | A10266-5601 | 56 |
| R155 | R255 | A10266-1321 | 1.3K |
| R156 | R256 | A10266-1321 | 1.3K |
| R157 | R257 | A10266-1321 | 1.3K |
| R158 | R258 | A10265-11321 | 11.3K |
| R159 | R259 | A10265-10011 | 1K 1% |
| R160 | R260 | A10266-5601 | 56 |
| R161 | R261 | A10266-4701 | 47 |
| R162 | R262 | A10266-4701 | 47 |
| R163 | R263 | A10266-5601 | 56 |
| R164 | R264 | A10266-4711 | 470 |
| R165 | R265 | A10266-4711 | 470 |
| R166 | R266 | A10266-4711 | 470 |
| R167 | R267 | A10265-10011 | 1K 1% |
| R168 | R268 | A10265-10011 | 1K 1% |
| R170 | R270 | A10265-10011 | 1K 1% |
| R171 | R271 | A10265-10011 | 1K 1% |
| R173 | R273 | A10266-5601 | 56 |
| R174 | R274 | A10265-24921 | 24.9K 1% |
| R175 | R275 | A10265-78711 | 7.87K 1% |
| R176 | R276 | A10265-24921 | 24.9K 1% |
| R177 | R277 | A10265-19121 | 19.1K 1% |
| R179 | R279 | A10266-1321 | 1.3K |
| R180 | R280 | A10266-4711 | 470 |
| R181 | R281 | A10266-4721 | 4.7K |
| R182 | R282 | A10266-2201 | 22 |
| R184 | R284 | A10266-4741 | 470K |
| R186 | R286 | A10266-2751 | 2.7M |
| R187 | R287 | A10266-3321 | 3.3K |
| R188 | R288 | A10266-3321 | 3.3K |
| R189 | R289 | A10266-2731 | 27K |
| R190 | R290 | A10266-2051 | 2M |
| R193 | R293 | A10265-10021 | 10K 1% |
| R194 | R294 | A10265-10031 | 100K 1% |
| R195 | R295 | A10266-3021 | 3K |
| R196 | R296 | A10266-4721 | 4.7K |
| R197 | R297 | A10265-10021 | 10K 1% |
| R198 | R298 | A10266-4721 | 4.7K |
| R199 | R299 | A10265-10021 | 10K 1% |
| R300 | R400 | A10265-10031 | 100K 1% |
| R301 | R401 | A10265-10031 | 100K 1% |
| R911 | R1011 | A10266-1521 | 1.5K |
| R912 | R1012 | A10266-4711 | 470 |
| R913 | R1013 | A10265-10031 | 100K 1% |
| R914 | R1014 | A10266-5141 | 510K |
| R915 | R1015 | A10266-2201 | 22 |
| R916 | R1016 | A10266-2201 | 22 |
| R917 | R1017 | A10266-10021 | 10K |
| R918 | R1018 | A10266-10021 | 10K |
| R919 | R1019 | A10266-10021 | 10K |
| R920 | R1020 | A10266-10021 | 10K |
| R921 | R1021 | C 9079-2 | 200 Pot |
| R922 | R1022 | A10265-68101 | 681 1% |
| R923 | R1023 | A10265-35711 | 3.57K 1% |
| R924 | R1024 | A10265-60401 | 604 1% |
| R925 | R1025 | A10265-10031 | 100K 1% |
| R926 | R1026 | A10265-60401 | 604 1% |
| R927 | R1027 | A10265-10031 | 100K 1% |
| R928 | R1028 | A10265-35711 | 3.57K 1% |
| R929 | R1029 | A10266-1241 | 120K |
| R930 | R1030 | A10266-1241 | 120K |
| R931 | R1031 | A10266-3921 | 3.9K |
| R932 | R1032 | A10265-10021 | 10K 1% |
| R933 | R1033 | A10266-4731 | 47K |
| R934 | R1034 | A10265-10021 | 10K 1% |
| R935 | R1035 | A10266-4731 | 47K |
| R936 | R1036 | A10265-10021 | 10K 1% |
| R937 | R1037 | A10265-10021 | 10K 1% |
| R938 | R1038 | A10265-10021 | 10K 1% |
| R939 | R1039 | A10266-4731 | 47K |
| R940 | R1040 | A10266-4731 | 47K |
| R941 | R1041 | A10266-4731 | 47K |
| R942 | R1042 | A10266-4731 | 47K |
SWITCHES
| S2 | C 7325-1 | Ground Lift |
| S3 | C 7960-5 | Sensitivity |
| S4 | C 6781-6 | Stereo/Mon |
TEST POINTS
| TP1 | TP2 | C 6564-6 | HDR |
INTEGRATED CIRCUITS
| U1 | C 5095-2 | C 5095-2 | |
| U2 | C 5096-0 | C 5096-0 | |
| U100 | U200 | C 6911-9 | C 6911-9 |
| U101 | U201 | C 6411-0 | C 6411-0 |
| U102 | U202 | C 4345-2 | C 4345-2 |
| U103 | U203 | C 6910-1 | C 6910-1 |
| U104 | U204 | C 7558-7 | C 7558-7 |
MISC.
| Board | D 8679-9 | |
| Socket | C 3450-1 | 14 Pin (4) |
| U1X, U2X | C 9494-3 | Heatsinks |
| HW1-4 | C 8812-7 | 5.5″ Cal Tie |
| HW5-9 | C 9944-7 | Nyla. Spacer |
| J1 | C 7593-4 | 5 Pin HDR |
| J2 | C 4508-5 | 16 Pin |
| J11 | C 7526-4 | 3 Pin HDR |
| J100 J200 | C 6777-4 | Ph Jack, (2) |
| Cover | C 6778-2 | Ph Jk CVR |
| J500 J800 | D 8681-5 | 10 In. RBN |
| J600 J700 | D 8680-7 | 6 In. RBN |
| HW5-8 | C 8812-7 | 5.5″ Cal Tie |
| Z1-Z5 | OPEN |
Q43399-7 Main Module Parts List (D8827-4 Board)
Q43399-7 MT-2400 MAIN MODULE Use Schematic J 0691-6
| C1 | C 3913-8 | 470µF | |
| C2 | C 3913-8 | 470µF | |
| C4 | C 6802-0 | .47µF | |
| C5 | C 6806-1 | .01µF | |
| C6 | C 6806-1 | .01µF | |
| C7 | C 8897-8 | .1µF | |
| C8 | C 5362-6 | 2.2uF | |
| C100 | C200 | C 5311-3 | 22µF |
| C101 | C201 | C 9464-6 | 10pF |
| C102 | C202 | C 8576-8 | 100uF |
| C103 | C203 | C 6805-3 | .022µF |
| C104 | C204 | C 6805-3 | .022µF |
| C105 | C205 | C 6812-9 | 47pF |
| C106 | C206 | C 6812-9 | 47pF |
| C107 | C207 | C 8897-8 | .1µF |
| C108 | C208 | C 6814-5 | 12pF |
| C109 | C209 | C 8576-8 | 100µF |
| C110 | C210 | C 5362-6 | 2.2µF |
| C112 | C212 | C 8991-9 | .47µF |
| C113 | C213 | C 8996-9 | 15µF |
| C114 | C214 | C 8854-9 | 100µF |
| C115 | C215 | C 8854-9 | 100µF |
| C116 | C216 | C 8986-9 | 15µF |
| C117 | C217 | C 8991-9 | .47µF |
| C118 | C218 | C 6814-5 | 12pF |
| C119 | C219 | C 6802-0 | .47µF |
| C122 | C222 | C 6811-1 | 100pF |
| C123 | C223 | C 6812-9 | 47pF |
| C124 | C224 | C 6812-9 | 47pF |
| C129 | C229 | C 6814-5 | 12pF |
| C130 | C230 | C 6813-7 | 27pF |
| C133 | C233 | C 6813-7 | 27pF |
| C134 | C234 | C 6805-3 | .022µF |
| C135 | C235 | C 6805-3 | .022µF |
| C136 | C236 | C 6808-7 | 470pF |
| C137 | C237 | C 6808-7 | 470pF |
| C138 | C238 | C 6813-7 | 27pF |
| C139 | C239 | C 6813-7 | 27pF |
| C140 | C240 | C 6812-9 | 47pF |
| C141 | C241 | C 6812-9 | 47pF |
| C144 | C244 | C 8576-8 | 100µF |
| C145 | C245 | C 6812-9 | 47pF |
| C146 | C246 | C 6812-9 | 47pF |
| C147 | C247 | C 6806-1 | .01µF |
| C148 | C248 | C 6810-3 | 180pF |
| C149 | C249 | C 6808-7 | 470pF |
| C150 | C250 | C 6806-1 | .01µF |
| C151 | C251 | C 6806-1 | .01µF |
| C152 | C252 | C 6950-7 | 82pF 5% |
| C153 | C253 | C 8897-8 | .1µF |
| C154 | C254 | A10434-104JD | .1µF 250V |
| C155 | C255 | C 8897-8 | .1µF |
| C156 | C256 | C 8897-8 | .1µF |
| C158 | C258 | C 6805-3 | .022uF |
| C159 | C259 | C 6805-3 | .022uF |
| C160 | C260 | C 8897-8 | .1uF |
| C161 | C261 | C 8897-8 | .1uF |
| C113X | C213X | OPEN | |
| C116X | C216X | OPEN |
DIODES
| D1 | C 2851-1 | 1N4004 | |
| D2 | C 2851-1 | 1N4004 | |
| D3 | C 2851-1 | 1N4004 | |
| D4 | C 2851-1 | 1N4004 | |
| D5 | C 2851-1 | 1N4004 | |
| D6 | C 2851-1 | 1N4004 | |
| D7 | C 2851-1 | 1N4004 | |
| D100 | D200 | C 3181-2 | 1N4148 |
| D101 | D201 | C 3181-2 | 1N4148 |
| D102 | D202 | C 3824-7 | 1N970B |
| D103 | D203 | C 3181-2 | 1N4148 |
| D104 | D204 | C 3181-2 | 1N4148 |
| D105 | D205 | C 2851-1 | 1N4004 |
| D106 | D206 | C 2851-1 | 1N4004 |
| D108 | D208 | C 3181-2 | 1N4148 |
| D109 | D209 | C 3181-2 | 1N4148 |
| D110 | D210 | C 3181-2 | 1N4148 |
| D111 | D211 | C 5061-4 | 1N3070 |
| D112 | D212 | C 3181-2 | 1N4148 |
| D113 | D213 | C 3181-2 | 1N4148 |
| D120 | D220 | C 3181-2 | 1N4148 |
| D121 | D221 | C 3181-2 | 1N4148 |
| D122 | D222 | C 3181-2 | 1N4148 |
| D123 | D223 | C 5061-4 | 1N3070 |
| D124 | D224 | C 3181-2 | 1N4148 |
| D125 | D225 | C 3181-2 | 1N4148 |
| D126 | D226 | C 5061-4 | 1N3070 |
| D127 | D227 | C 5061-4 | 1N3070 |
| D128 | D228 | C 5061-4 | 1N3070 |
| D129 | D229 | C 3181-2 | 1N4148 |
| D130 | D230 | C 3181-2 | 1N4148 |
| D131 | D231 | C 3181-2 | 1N4148 |
| D132 | D232 | C 3181-2 | 1N4148 |
| D133 | D233 | C 3181-2 | 1N4148 |
| D134 | D234 | C 3181-2 | 1N4148 |
LED’s
| E100 | E100 | C 9857-1 | RED |
| E101 | E101 | C 9857-1 | RED |
RESISTOR NETWORKS
| N101 | N201 | D 7944-8 | Res. Net. |
| N102 | N202 | D 6082-8 | Res. Net. |
TRANSISTORS
| Q100 | Q200 | D 2961-7 | 2N3859A |
| Q101 | Q201 | C 3578-9 | MPSA93 |
| Q102 | Q202 | C 3810-6 | MPSA43 |
| Q103 | Q203 | C 3786-8 | PN4250 |
| Q105 | Q205 | C 3578-9 | MPSA93 |
| Q106 | Q206 | C 3625-8 | 2N4125 |
| Q107 | Q207 | C 3786-8 | PN4250 |
| Q108 | Q208 | C 5891-4 | MTS105 |
| Q109 | Q209 | D 2961-7 | 2N3859A |
| Q110 | Q210 | C 3810-6 | MPSA43 |
| Q112 | Q212 | C 3625-8 | 2N4125 |
| Q113 | Q213 | C 3625-8 | 2N4125 |
| Q115 | Q215 | D 2962-5 | MPS8097 |
| Q116 | Q216 | C 3786-8 | PN4250 |
| Q117 | Q217 | D 2961-7 | 2N3859A |
| Q118 | Q218 | D 2961-7 | 2N3859A |
| Q119 | Q219 | C 3625-8 | 2N4125 |
| Q120 | Q220 | C 3625-8 | 2N4125 |
| Q123 | Q223 | C 7458-0 | 2N4123 |
| Q124 | Q224 | C 3625-8 | 2N4125 |
| Q125 | Q225 | C 3786-8 | PN4250 |
| Q126 | Q226 | C 5891-4 | MTS105 |
| Q127 | Q227 | C 3625-8 | 2N4125 |
| Q128 | Q228 | C 7458-0 | 2N4123 |
| Q129 | Q229 | C 3625-8 | 2N4125 |
| Q130 | Q230 | C 7458-0 | 2N4123 |
| Q131 | Q231 | C 3625-8 | 2N4125 |
| Q132 | Q232 | C 3625-8 | 2N4125 |
| Q133 | Q233 | C 3625-8 | 2N4125 |
| Q134 | Q234 | C 3625-8 | 2N4125 |
| Q135 | Q235 | C 7458-0 | 2N4123 |
| Q136 | Q236 | C 7458-0 | 2N4123 |
| Q137 | Q237 | C 3625-8 | 2N4125 |
| Q138 | Q238 | C 3810-6 | MPSA42 |
| Q139 | Q239 | C 3578-9 | MPSA93 |
RESISTORS
| R1 | A10265-53621 | 53.6K 1% | |
| R2 | C 7340-0 | 24 5W | |
| R3 | C 7340-0 | 24 5W | |
| R4 | A10265-46421 | 46.4K 1% | |
| R5 | OPEN | ||
| R7 | A10266-4331 | 43K | |
| R8 | A10265-75021 | 75K 1% | |
| R10 | OPEN | ||
| R11 | OPEN | ||
| R12 | OPEN | ||
| R17 | A10265-75021 | 75K 1% | |
| R18 | A10266-4331 | 43K | |
| R100 | R200 | C 7409-3 | 5K Lin. Pot. |
| R101 | R201 | A10265-49911 | 4.99K 1% |
| R102 | R202 | A10266-5111 | 510 |
| R103 | R203 | A10265-10031 | 100K 1% |
| R104 | R204 | A10266-2721 | 2.7K |
| R105 | R205 | A10266-2721 | 2.7K |
| R106 | R206 | A10266-1231 | 12K |
| R107 | R207 | A10266-6831 | 68K |
| R108 | R208 | A10265-80601 | 806 |
| R109 | R209 | A10266-5601 | 56 |
| R110 | R210 | A10266-6831 | 68K |
| R111 | R211 | A10266-1231 | 12K |
| R112 | R212 | A10266-5131 | 51K |
| R113 | R213 | A10266-4721 | 4.7K |
| R114 | R214 | A10266-4721 | 4.7K |
| R115 | R215 | A10266-3341 | 330K |
| R116 | R216 | A10266-2751 | 2.7M |
| R117 | R217 | A10265-46421 | 46.4K 1% |
| R118 | R218 | A10265-28701 | 287 1% |
| R119 | R219 | A10265-68101 | 681 1% |
| R120 | R220 | A10265-28701 | 287 1% |
| R121 | R221 | C 5062-2 | 100K Pot |
| R122 | R222 | A10266-2741 | 270K |
| R123 | R223 | A10266-2732 | 27K .5W |
| R124 | R224 | A10266-6821 | 6.8K |
| R125 | R225 | C 8836-6 | 100 .5W FP |
| R126 | R226 | C 8836-6 | 100 .5W FP |
| R127 | R227 | A10266-6821 | 6.8K |
| R128 | R228 | A10266-1331 | 13K |
| R129 | R229 | A10265-10031 | 100K 1% |
| R130 | R230 | A10265-10031 | 100K 1% |
| R131 | R231 | A10266-1331 | 13K |
| R132 | R232 | C 5062-2 | 100K Pot |
| R133 | R233 | A10266-2741 | 270K |
| R134 | R234 | A10266-2732 | 27K .5W |
| R135 | R235 | C 8836-6 | 100 .5W FP |
| R136 | R236 | A10266-6821 | 6.8K |
| R137 | R237 | C 8836-6 | 100 .5W FP |
| R138 | R238 | A10266-6821 | 6.8K |
| R139 | R239 | A10265-80601 | 806 1% |
| R140 | R240 | A10266-5601 | 56 |
| R141 | R241 | A10266-1541 | 150K |
| R142 | R242 | A10266-1541 | 150K |
| R143 | R243 | A10266-4711 | 470 |
| R144 | R244 | A10266-4711 | 470 |
| R145 | R245 | A10266-4711 | 470 |
| R146 | R246 | A10266-1231 | 12K |
| R147 | R247 | C 8836-6 | 100 .5W FP |
| R148 | R248 | A10266-2721 | 2.7K |
| R149 | R249 | C 8836-6 | 100 .5W FP |
| R150 | R250 | A10266-2721 | 2.7K |
| R151 | R251 | A10266-1231 | 12K |
| R152 | R252 | A10265-11521 | 11.5K 1% |
| R153 | R253 | A10124-24 | JUMPER |
| R154 | R254 | A10266-5601 | 56 |
| R155 | R255 | A10266-1321 | 1.3K |
| R156 | R256 | A10266-1321 | 1.3K |
| R157 | R257 | A10266-1321 | 1.3K |
| R158 | R258 | A10265-11321 | 11.3K |
| R159 | R259 | A10265-10011 | 1K 1% |
| R160 | R260 | A10266-5601 | 56 |
| R161 | R261 | A10266-4701 | 47 |
| R162 | R262 | A10266-4701 | 47 |
| R163 | R263 | C10166-4 | 56 FP |
| R164 | R264 | A10266-4711 | 470 |
| R165 | R265 | A10266-4711 | 470 |
| R166 | R266 | A10266-4711 | 470 |
| R167 | R267 | A10265-10011 | 1K 1% |
| R168 | R268 | A10265-10011 | 1K 1% |
| R169 R170 | R269 R270 | OPEN | |
| R171 | R271 | A10265-10011 | 1K 1% |
| R172 R173 | R272 R273 | A10265-10011 | 1K 1% |
| R174 | R274 | OPEN | |
| R175 | R275 | C10166-4 | 56 |
| R176 | R276 | A10265-24921 | 24.9K 1% |
| R177 | R277 | A10265-78711 | 7.87K 1% |
| R179 | R279 | A10265-24921 | 24.9K 1% |
| R180 | R280 | A10265-19121 | 19.1K 1% |
| R181 | R281 | A10266-1321 | 1.3K |
| R182 | R282 | A10266-4711 | 470 |
| R184 | R284 | A10266-4721 | 4.7K |
| R186 | R286 | A10266-2201 | 22 |
| R187 | R287 | A10266-4741 | 470K |
| R188 | R288 | A10266-2751 | 2.7M |
| R189 | R289 | A10266-3321 | 3.3K |
| R190 | R290 | A10266-3321 | 3.3K |
| R193 | R293 | A10266-2731 | 27K |
| R194 | R294 | A10266-2051 | 2M |
| R195 | R295 | A10266-1031 | 10K |
| R196 | R296 | A10265-10031 | 100K 1% |
| R197 | R297 | A10266-3021 | 3K |
| R198 | R298 | A10266-4721 | 4.7K |
| R199 | R299 | A10265-10021 | 10K 1% |
| R300 | R400 | A10266-4721 | 4.7K |
| R301 | R401 | A10265-10021 | 10K 1% |
| R911 | R1011 | A10265-10031 | 100K 1% |
| R912 | R1012 | A10265-10031 | 100K 1% |
| R913 | R1013 | A10266-1521 | 1.5K |
| R914 | R1014 | A10266-4711 | 470 |
| A10266-1041 | 100K | ||
| A10266-5141 | 510K | ||
| R915 | R1015 | A10266-2201 | 22 |
| R916 | R1016 | A10266-2201 | 22 |
| R917 | R1017 | A10266-10021 | 10K |
| R918 | R1018 | A10266-10021 | 10K |
| R919 | R1019 | A10266-10021 | 10K |
| R920 | R1020 | A10266-10021 | 10K |
| R921 | R1021 | C 9079-2 | 200 Pot |
| R922 | R1022 | A10265-68101 | 681 1% |
| R923 | R1023 | A10265-35711 | 3.57K 1% |
| R924 | R1024 | A10265-60401 | 604 1% |
| R925 | R1025 | A10266-1041 | 100K |
| R926 | R1026 | A10265-60401 | 604 1% |
| R927 | R1027 | A10266-1041 | 100K |
| R928 | R1028 | A10265-35711 | 3.57K 1% |
| R929 | R1029 | A10266-1241 | 120K |
| R930 | R1030 | A10266-1241 | 120K |
| R931 | R1031 | A10266-3921 | 3.9K |
| R932 | R1032 | A10266-1031 | 10K |
| R933 | R1033 | A10266-4731 | 47K |
| R934 | R1034 | A10266-1031 | 10K |
| R935 | R1035 | A10266-4731 | 47K |
| R936 | R1036 | A10266-1031 | 10K |
| R937 | R1037 | A10266-1031 | 10K |
| R938 | R1038 | A10266-1031 | 10K |
| R939 | R1039 | A10266-4731 | 47K |
| R940 | R1040 | A10266-4731 | 47K |
| R941 | R1041 | A10266-4731 | 47K |
| R942 | R1042 | A10266-4731 | 47K |
| R943 | R1043 | A10266-1031 | 10K |
| R944 | R1044 | A10266-1031 | 10K |
| R945 | R1045 | A10266-4701 | 47 |
| R946 | R1046 | A10266-2031 | 20K |
| R947 | R1074 | A10266-2031 | 20K |
SWITCHES
| S2 | C 7325-1 | Gad Lift |
| S3 | C 7960-5 | Sensitivity |
| S4 | C 6781-6 | Stereo/Mon |
TEST POINTS
| TP1 | TP1 | C 6564-6 | HDR |
INTEGRATED CIRCUITS
| U1 | C 5095-2 | UA7815 | |
| U2 | C 5096-0 | UA7915 | |
| U100 | U200 | C 6911-9 | UPA75 |
| U101 | U201 | C 6411-0 | H11C2 |
| U102 | U202 | C 4345-2 | LM339 |
| U103 | U203 | C 6910-1 | UPA76 |
| U104 | U204 | C 7558-7 | MC33079P |
| U100A | U200A | OPEN |
MISC.
| Board | D 8827-4 | 14 Pin | |
| Socket | C 3450-1 | Heatsinks | |
| HW9-10 | C 9494-3 | Nyl. Spacer | |
| HW11-15 | C 9944-7 | 5 Pin HDR | |
| J1 | C 7593-4 | 16 Pin | |
| J2 | C 4508-5 | 3 Pin HDR | |
| J11 | C 7526-4 | ||
| J12 | J200 | Not Used | Ph. Jack |
| J100 | C 6777-4 | Ph Jk CVR | |
| Cover | J201 | C 6778-2 | |
| J101 | J800 | Not Used | 10 In. RBN |
| J500 | J700 | D 8681-5 | 6 In. RBN |
| J600 | D 8680-7 | 5.5″ Tie, (4) | |
| HW5-8 | C 8812-7 | ||
| Z1-Z5 | OPEN | ||
©1995 by CROWN INTERNATIONAL, INC.
Mailing Address: P.O. Box 1000
Elkhart, IN U.S.A. 46515-1000
Shipping Address: 57620 C.R. 105
Elkhart, IN U.S.A. 46517
Micro-Tech® , ODEP® and Crown® are registered trademarks of Crown International, Inc.
Crown
Technical Support Group Factory Service
Parts Department
Mailing Address: PO Box 1000
Elkhart, IN USA 46515-1000
Shipping Address: 57620 C.R. 105
Elkhart, IN USA 46517
Phone: (219) 294-8200
Toll Free: (800) 342-6939
FAX: (219) 294-8301

















