ANTOINE CFL-1061 Ceiling Fan with Light

Please contact us with following information
- Screen shot of your order page, including product picture, name and order ID number.
- Problem details with pictures / short video if possbile.
Email: [email protected].
Scan for Online Installation Video
Note: Product in the video may be different from this one.

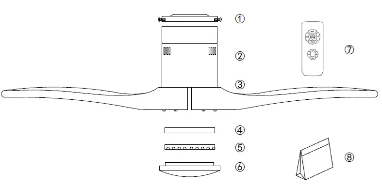
Packing List

| Name | QTY | Name | QTY |
| ① Mounting Bracket | 1 | ⑤ LED Panel | 1 |
| ② Fan Housing | 1 | ⑥ Light Shade | 1 |
| ③ Fan Blade | 3 | ⑦ Remote Control | 1 |
| ④ Blade Cover | 1 | ⑧ Hardware Bag | 1 Set |
NOTE
- Ceiling fan style may be different from the diagram.
- Remote control requires AAA 1.5V battery x 2pcs (not included).
- Mounting bracket, blade cover, LED panel and light shade may be pre-assembled onto the fan housing in the package.
Safety Rules
- Be sure the power to the wires you are working on is disconnected, either the fuse is removed or the circuit breaker is turned off. Turning the power off using the light switch is not sufficient to prevent electrical shock.
- A qualified licensed electrician is required for the installation.
- The outlet box and support structure must be securely mounted and capable of reliably /supporting a minimum of 50 pounds. Use only UL (cUL for Canadian Installation) listed mounting boxes marked “FOR FAN SUPPORT”.
- The fan must be mounted with a minimum of 7 feet clearance from the trailing edge of the blades to the floor.
- Do not operate reversing switch while fan blades are in motion (if applicable). Fan must be turned off and blades stopped before reversing blade direction.
- Do not place any objects in the path of the blades.
- To avoid personal injury or damage to the fan and other items, be cautious when working around or cleaning the fan.
- Do not use water or detergents when cleaning the fan or fan blades. A dry dust cloth or lightly dampened soft cloth will be suitable for the cleaning.
- After marking electrical connections, spliced conductors should be turned upward and pushed carefully up into outlet box. The wires should be spread apart with the grounded conductor on one side of the outlet box.
- Electrical diagrams are reference only, different fan light may have different light shade and bulbs.
Installation Preparation
Tools You Need

If mounting to a support structure, you will also need the optional tools.
What to Expect with Your Installation
- Must be able to secure the fan to building structure or fanrated outlet box.

- Assess location.

- Check box to see fan weight.

- Angled Ceiling not supported.

Assembling the Fan Blades

Step 1. Take out the fan housing and bracket assembly from the box.
Step 2. Remove the blade cover from the fan housing by loosing the screws on it.
Step 3. Secure the fan blades onto the fan housing with screws provided. Make sure the beveled side facing the ground.
Step 4. Place the blade cover back to the fan housing with screws taken off.
NOTE
Make sure to assemble the blades in sequence and fasten the screws with equal force.
Installing the Fan
NOTE: THIS FAN ONLY NEEDS ONE SET OF INPUT WIRES (black, white and ground wire). Both of the fan and lights will be controlled by the remote controller. The wall switch is not able to control the fixture full functionally.
THIS FAN CAN ONLY BE CONNECTED ONTO ON/OFF SWITCH IF YOU HAVE ONE, NOT SUITABLE FOR DIMMAER SWITCH.
Step 1. Install the Bracket Take out the mounting bracket from the motor housing by loosing the screws on the side. Secure the bracket to the ceiling outlet box with the screws and washers provided with your outlet box (Fig. 1).

Step 2. Connect the Wires
Connect the black wire from the remote receiver to your house live wire, white wire to your neutral wire, bare copper/ green/ yellow and green wire to your ground wire. Spread the wires apart so that the live wires are on one side of the outlet box and the neutral wires are on the other side (Fig. 2).

Step 3. Attach the Ceiling Fan
Attach the ceiling fan to the mounting bracket on the side of motor housing with screws provided (Fig. 3).

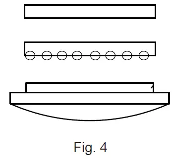
Step 4. Connect the LED Panel
Connect the wires from LED panel to the fan housing with wire connectors. Attach the light shade onto the blade cover by rotating clockwise (Fig. 4).

Remote Control Instructions

NOTE
Please insert 2 batteries before using. AAA 1.5V battery x 2pcs (not included).
- ①③⑤ refers to the speed of the fan. “LOW” for low speed, “MED” for medium speed, “HI” for high speed.
- ② is for the light on/off.
- ④ stop the fan.
- ⑥⑦⑨ refers the timing of the fan.
- ⑧ Reverse the fan, change the direction of the wind, forward or upward.
REMOTE SIGNAL PAIRING: If the remote control looses signal of the fan, turn off the power from wall switch, then turn it on, press ② and ③ buttons at the same time immediately and hold for around 3 seconds then it’s down.
Trouble Shooting
Fan doesn’t work
- Make sure the fixture is connected to an ON/OFF wall switch, not dimmer switch.
- Check the remote control battery (not included in this package).
- Check the circuit breaker to ensure the power is on.
- Turn off power from the circuit breaker, then loosen the canopy and check all the connections according to the wiring diagram.
Lights Do Not Light Up / Flicker / Noisy Operation
- Make sure the fixture is connected to an ON/OFF wall switch, not dimmer switch.
- Check your power and switch to make sure it’s power on.
Noisy Operation
- Re-tighten all screws on bracket.
- Check to see if any of the blades are cracked. If so, replace the blades.
Remote does not work
- Make sure the battery is installed correctly.
- Pair the remote control again (See page 8).
- Install 2 new batteries.
Clean And Care
To clean, wipe the fixture with soft cloth. Spray from chemical cleaners can discolor the finish of the fixture. Do not use scouring pads, powders, steel wool or abrasive paper to clean this fixture.
Ordering Parts
Keep this manual for future reference, and in case replacement parts are needed. Available parts can be ordered from place of purchase. Use exact wording from diagrams when ordering parts.


















