savr E-LSN05B-4U LED Linear Strip Light
IMPORTANT SAFEGUARDS
When using electrical equipment, basic safety precautions should always be followed including the following:
- DANGER- Risk of shock- Disconnect power before installation. DANGER – Risque de choc – Couper l’alimentation avant l’installation.
- This luminaire must be installed in accordance with the NEC or your local electrical code. If you are not familiar with these codes and requirements, consult a qualified electrician.
- SUITABLE FOR DAMP LOCATIONS. CONVIENT AUX EMPLACEMENTS HUMIDES..
- Min. 90°C supply conductors. Les fils d’alimentation 90°C min.
SURFACE MOUNT INSTALLATION- INDIVIDUAL FIXTURE
NOTE: Fixture can be ceiling or wall mounted.
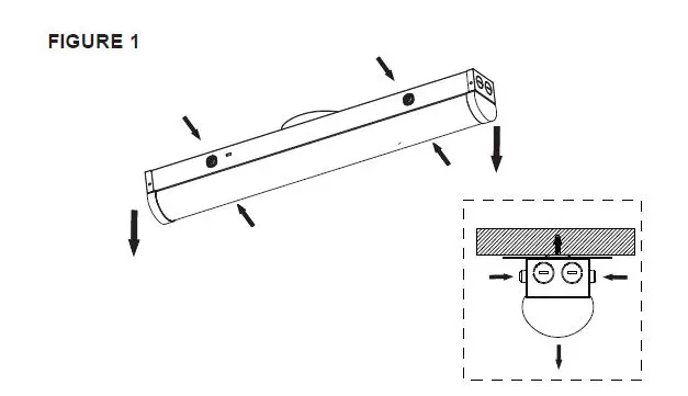
- Remove the lens assembly by simultaneously pushing both buttons at one end of the fixture to release the lens at that end. Repeat at the opposite end of the fixture. See Figure 1.

- Use the fixture housing to mark (2) fastener locations on the mounting surface at the ends of the fixture. See Figure 2.
Drill holes in the mounting surface for attachment with customer-supplied #8 fasteners appropriate for the surface.
NOTE: If intending to feed supply wiring from a recessed junction box, make sure the junction box is centered between the two ends of the housing. - If feeding supply wiring from a junction box:
NOTE: Junction box cover plate will work with a single gang junction box or 3″ or 4″ octagonal junction box.- Attach (2) supplied junction box cover plates to the back wall of the housing by inserting flanges of cover plates through square holes near the center of the back wall of the housing. Engage the flanges of the cover plates with the housing by sliding the cover plates to the side. Thread (2) supplied M3x4 mm retaining screws through cover plates into the housing to retain plates. See Figure 3.

If feeding supply wiring through surface conduit: - Remove chosen 1/2″ knockout on the end wall of the housing and attach 1/2″ conduit.
- Attach (2) supplied junction box cover plates to the back wall of the housing by inserting flanges of cover plates through square holes near the center of the back wall of the housing. Engage the flanges of the cover plates with the housing by sliding the cover plates to the side. Thread (2) supplied M3x4 mm retaining screws through cover plates into the housing to retain plates. See Figure 3.
- Pull supply wiring into fixture housing through the center hole in the back wall of the housing (if mounting over a recessed junction box) or through the surface conduit.
- Position mounting slots in housing over mounting locations prepared in Step 2 and attach the housing to the mounting surface. See Figure 4.

- Make wiring connections per the ELECTRICAL CONNECTIONS section.
- Reinstall the lens assembly by positioning the lens over the housing and carefully pushing the lens towards the housing to engage lens assembly with retention springs. Gently pull on lens assembly to make sure it is properly retained. See Figure 5

INSTALLATION INSTRUCTIONS E-LSN05B-4U
SURFACE MOUNT INSTALLATION CONTINUOUS ROW MOUNTING (REQUIRES USE OF E-LSNB-ENDBRKT KITS)
NOTE: Limits on the total number of fixtures to be linked are as follows
- 120V -13 fixtures MAX
- 208V -22 fixtures MAX
- 240V -25 fixtures MAX
- 1277V -30 fixtures MAX
- Follow Steps 1-6 under SURFACE MOUNT INSTALLATION- INDIVIDUAL FIXTURE
- Remove 1/2″ knockout at the chosen end of the first fixture that will connect to the next fixture in run. See Figure 6.

- Remove the corresponding knockout in next fixture in the run to allow wiring to pass from the first fixture into the second fixture.
- Slide the end-to-end bracket under the first fixture housing.
NOTE: Mounting screw closest to the end of the fixture that will be connected to the next fixture in run might have to be loosened slightly to slide the connection bracket in place. Retighten screw after siding connection bracket into position. See Figure 7.
- Insert the second fixture into the exposed end of the connection bracket. See Figure 8.

- Use second fixture housing to mark (2) fastener locations on the mounting surface at the ends of the fixture. Drill holes in mounting surface at marked locations and attach the second fixture to the mounting surface with customer-supplied #8 fasteners appropriate for the surface.
- Repeat Steps 2-6 to mount additional fixtures in the run.
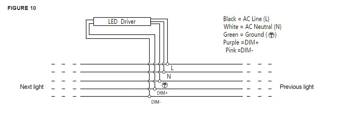
- Use the black/white/green wire harness and connect to the input wires/driver wires of the first fixture (or previous fixture) in the run. When dimming, use the purple and pink leads from the wire harness and make the corresponding connections to the dimming wires of the first fixture (or previous fixture) in the run. See Figure 9.
All wire connections should be made as shown in the wiring diagram in Figure 10.
- Once the wiring is completed, pass the wiring harness through the knockouts where the fixture connects to the next fixture and splice the wiring harness leads onto the same color leads from the driver for the next fixture. See Figure 11.

- Use provided self-adhesive cable ties to eliminate any cable tangles and clutter. See Figure 11.
- Repeat Steps 8-10 to wire all additional fixtures in run.
- Reinstall lens assemblies on all fixtures in run by positioning each lens over the corresponding housing and carefully pushing the lens towards the housing to engage lens assembly with retention springs. Gently pull on the lens assembly to make sure it is properly retained. Repeat for all lenses/housings in run. See Figure 12.

INSTALLATION INSTRUCTIONS E-LSN05B-4U
FCC NOTICE
CAUTION: Changes or modifications not expressly approved could void your authority to use this equipment. This device complies with part 15 of the FCC Rules. Operation is subject to the following two conditions: (1) This device may not cause harmful interference, and (2) this device must accept any interference received, including interference that may cause undesired operation.
Changes or modifications not expressly approved could void your authority to use this equipment.
This equipment has been tested and found to comply with the limits for a Class B digital device, pursuant to part 15 of the FCC Rules. These limits are designed to provide reasonable protection against harmful interference in a residential installation. This equipment generates, uses and can radiate radio frequency energy and, if not installed and used in accordance with the instructions, may cause harmful interference to radio communications. However, there is no guarantee that interference will not occur in a particular installation. If this equipment does cause harmful interference to radio or television reception, which can be determined by turning the equipment off and on, the user is encouraged to try to correct the interference by one or more of the following measures:
- Reorient or relocate the receiving antenna.
- Increase the separation between the equipment and receiver.
- Connect the equipment into an outlet on a circuit different from that to which the receiver is connected.
- Consult the dealer or an experienced radio/TV technician for help.
CAN ICES-005 (B)/NMB-005 (B)
ELECTRICAL CONNECTIONS
Make the following Electrical Connections:
- Connect the black fixture lead to the voltage supply lead (Hot 1 for 208/240V wiring)..
- Connect the white fixture lead to the neutral supply lead (Hot 2 for 208/240V wiring).
- Connect the green or green/yellow ground lead to the supply ground lead.
- If 0/1-10V Dimming is used, connect the violet fixture lead to the supply positive dimming lead. For dimming, use Class 1 wiring methods only. If dimming is not being used ensure to cap off the violet lead.
- If 0/1-10V Dimming is used, connect the pink fixture lead to the supply negative dimming lead. For dimming, use Class 1 wiring methods only. If dimming is not being used ensure to cap off the pink lead.
Tuck all wires carefully into wiring chamber ensuring that no wires are pinched.



Drill holes in the mounting surface for attachment with customer-supplied #8 fasteners appropriate for the surface.





All wire connections should be made as shown in the wiring diagram in Figure 10.




















