
tsi.com
AIR VELOCITY TRANSDUCER
MODEL 8455/8465/8475
OPERATION AND SERVICE MANUAL
1980239, REVISION J
AUGUST 2021
8455 Air Velocity Transducer

| Model 8455 | |
| Model 8455 | |
| Model 8465 | |
| Model 8475 |
START SEEING THE BENEFITS OF REGISTERI\G TODAY!
Thank you for your TSI instrument purchase. Occasionally, TSI releases information on software updates, product enhancements, and new products. By registering your instrument, TSI will be able to send this important information to you.
http://register.tsi.com
As part of the registration process, you will be asked for your comments on TSI products and services. TSI’s customer feedback program gives customers like you a way to tell us how we are doing.
Copyright©
TSI Incorporated / 2002-2021 / All rights reserved.
Address
TSI Incorporated / 500 Cardigan Road / Shoreview, MN 55126 / USA
Fax No.
(651) 490-3824
LIMITATION OF WARRANTY AND LIABILITY
(effective February 2015) (For country-specific terms and conditions outside of the USA, please visit www.tsi.com.)
Seller warrants the goods, excluding software, sold hereunder, under normal use and service as described in the operator’s manual, to be free from defects in workmanship and material for 24 months, or if less, the length of time specified in the operator’s manual, from the date of shipment to the customer. This warranty period is inclusive of any statutory warranty. This limited warranty is subject to the following exclusions and exceptions:
a. Hot-wire or hot-film sensors used with research anemometers, and certain other components when indicated in specifications, are warranted for 90 days from the date of shipment;
b. Pumps are warranted for hours of operation as set forth in product or operator’s manuals;
c. Parts repaired or replaced as a result of repair services are warranted to be free from defects in workmanship and material, under normal use, for 90 days from the date of shipment;
d. Seller does not provide any warranty on finished goods manufactured by others or on any fuses, batteries, or other consumable materials. Only the original manufacturer’s warranty applies;
e. This warranty does not cover calibration requirements, and seller warrants only that the instrument or product is properly calibrated at the time of its manufacture. Instruments returned for calibration are not covered by this warranty;
f. This warranty is VOID if the instrument is opened by anyone other than a factory-authorized service center with the one exception where requirements set forth in the manual allow an operator to replace consumables or perform recommended cleaning;
g. This warranty is VOID if the product has been misused, neglected, subjected to accidental or intentional damage, or is not properly installed, maintained, or cleaned according to the requirements of the manual. Unless specifically authorized in a separate writing by Seller, Seller makes no warranty with respect to, and shall have no liability in connection with, goods which are incorporated into other products or equipment, or which are modified by any person other than Seller.
The foregoing is IN LIEU OF all other warranties and is subject to the LIMITATIONS stated herein. NO OTHER EXPRESS OR IMPLIED WARRANTY OF FITNESS FOR PARTICULAR PURPOSE OR MERCHANTABILITY IS MADE. WITH RESPECT TO THE SELLER’S BREACH OF THE IMPLIED WARRANTY AGAINST INFRINGEMENT, SAID WARRANTY IS LIMITED TO CLAIMS OF DIRECT INFRINGEMENT AND EXCLUDES CLAIMS OF CONTRIBUTORY OR INDUCED INFRINGEMENTS. BUYER’S EXCLUSIVE THE REMEDY SHALL BE THE RETURN OF THE PURCHASE PRICE DISCOUNTED FOR REASONABLE WEAR AND TEAR OR AT SELLER’S OPTION REPLACEMENT OF THE GOODS WITH NON-INFRINGING GOODS. TO THE EXTENT PERMITTED BY LAW, THE EXCLUSIVE REMEDY OF THE USER OR BUYER, AND THE LIMIT OF SELLER’S LIABILITY FOR ANY AND ALL LOSSES, INJURIES, OR DAMAGES CONCERNING THE GOODS (INCLUDING CLAIMS BASED ON CONTRACT, NEGLIGENCE, TORT, STRICT LIABILITY OR OTHERWISE) SHALL BE THE RETURN OF GOODS TO SELLER AND THE REFUND OF THE PURCHASE PRICE, OR, AT THE OPTION OF SELLER, THE REPAIR OR REPLACEMENT OF THE GOODS. IN THE CASE OF SOFTWARE, THE SELLER WILL REPAIR OR REPLACE DEFECTIVE SOFTWARE OR IF UNABLE TO DO SO, WILL REFUND THE PURCHASE PRICE OF THE SOFTWARE. IN NO EVENT SHALL THE SELLER BE LIABLE FOR LOST PROFITS, BUSINESS INTERRUPTION, OR ANY SPECIAL, INDIRECT, CONSEQUENTIAL, OR INCIDENTAL DAMAGES. SELLER SHALL NOT BE RESPONSIBLE FOR INSTALLATION, DISMANTLING, OR REINSTALLATION COSTS OR CHARGES. No Action, regardless of form, may be brought against Seller more than 12 months after a cause of action has accrued. The goods returned under warranty to Seller’s factory shall be at Buyer’s risk of loss and will be returned, if at all, at Seller’s risk of loss.
Buyer and all users are deemed to have accepted this LIMITATION OF WARRANTY AND LIABILITY, which contains the complete and exclusive limited warranty of Seller. This LIMITATION OF WARRANTY AND LIABILITY may not be amended, modified or its terms waived, except by writing signed by an Officer of Seller.
Service Policy
Knowing that inoperative or defective instruments are as detrimental to TSI as they are to our customers, our service policy is designed to give prompt attention to any problems. If any malfunction is discovered, please contact your nearest sales office or representative, or call TSI’s Customer Service department at (800) 680-1220 (USA) and
(001 651) 490-2860 (International).
Trademarks
TSI and TSI logo are registered trademarks of TSI Incorporated in the United States and may be protected under other country’s trademark registrations.
Introduction
The TSI® air velocity transducer is a precision instrument designed to measure air velocity in fixed installations or test applications. TSI Transducers indicate velocity at standard conditions of 21.1°C (70°F) and 101.4 kPa (14.7 psia). Each transducer must be set up in the field for the desired velocity units, full-scale velocity, output signal, and time constant.
Parts Identification
Carefully unpack the instrument and accessories. Check the parts against Figure 1. If any are missing or damaged notify your local distributor or TSI’ immediately.

| 8455/65/75 | Transducer |
| 1980239 | Manual |
| 1309091 | Probe mounting clips |
| 5000285 | #6 Sheet Metal Screws |
| 5000286 | #10 Sheet Metal Screws |
| 2919020 | Compression Fitting |
| 2404624 | Instruction Labels |

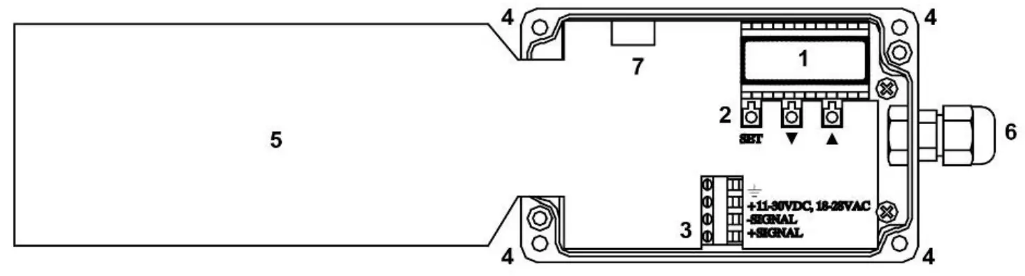
Figure 2: Inside of Electronic Enclosure
- Setup/Troubleshooting Display
- Push-Buttons (SET, ▲, ▼)
- Terminal Block
- Mounting Holes
- Programming Instructions (foldout)
- Compression Fitting (Power)
- Calibration Connector, Factory use only
Mounting the Transducer Electronics Enclosure
The electronics enclosure should be mounted to a secure surface.
WARNING: Do NOT change the length of the transducer probe cable. Changing the cable length will alter the performance and calibration of the Transducer.

Mounting the Transducer Probe
The probe should be securely mounted before use. If mounted in a duct or pipe the probe should be at least 7.5 duct diameters downstream and 3 duct diameters upstream of anything that could cause flow turbulence. The orientation dot on the probe should face upstream.

Wiring the Transducer
Position the wires away from the SET – ▲ – ▼ push-buttons
| Power Requirements | 11-30 VDC or 18-28 VAC 50/60 Hz, 350 mA |
| Recommended Wire | 18 gauge shielded cable. To avoid electrical interference, connect the shield to the ground on the transducer and the ground or minus(-) terminal on the power supply. |
| Recommended Transformer | 24 VAC, 20 VA. Each transducer should have a separate AC transformer to avoid shorting through the ground circuit. |

Output Measuring Device: Use a fully differential input device (no ground connection, plus (+) and minus (-) terminals are independent), so the signal can float at the measuring device. If fully differential input is not available, current (mA) output should be selected.
Setting Up the Transducer
- Turn the transducer power supply on. The instrument will go through a preprogrammed power-up sequence. The internal display will sequence through the current settings: Calibration date “CALdAtE”, “=“, month and year “03.2013”(March 2013), measurement units “mEtErS”(m/s) or “FEET”(ft/min), “=“, selected output type and range “0-5V” and the time constant “tc = 1.00” in seconds. The display will then show velocity readings.
- Push the SET button to enter setup mode. When setup mode is entered, the transducer voltage/current output will drop below zero.
- Use the ▲ and ▼ buttons to select the desired setting.
- Use the SET button to advance to the next setup message.
NOTE: The output signal is disabled during the 15 second warm-up period and when the transducer is in setup mode.
| Setup Message | Available Settings |
| Select UnitS | FEEt (ft/min) or mEtErS (m/s) |
| SELECt FULL SCALE | Select full scale of the velocity range |
| Select OUtPUt | Select Output Type: 0-5V, 0-10V, 1-5V, 2-10V, 4-20 mA, 0-20 mA |
| Select tc | Select Time Constant: 0.05 to 10 seconds (see page 12) |
| Adjust ZErO | Adjusts voltage/current output signal at zero velocity (see page 14) |
| Adjust SPAn | Adjusts the voltage/current output by ±15% (see page 13) |
More Detail on the Time Constant
In order to make a fluctuating display easier to read, the output time constant can be set between 0.05 and 10 seconds. The time constant is actually an averaging period. The output is the average of readings taken over the last time-constant period. Readings are taken 20 times per time constant period for a time constant greater than one second and 20 times per second for a time constant of one second or less.
More Detail on Span Adjustment
A span factor can be entered to adjust the output signal up or down by fifteen percent. While the span factor is shown on the display, the transducer will measure velocity and output the appropriate voltage or current for that velocity. (The time constant will not be active). By changing the span factor, the transducer’s output signal can be adjusted up or down by up to fifteen percent.
More Detail on Adjusting Output Signal at Zero Velocity
In certain cases, the remote display will not read the same as the transducer display output at zero velocity. To correct this discrepancy you will need to adjust the output signal at zero velocity. Put the transducer into setup mode and sequence through the setup messages until “AdJUSt ZErO” is shown on the display. The transducer then displays and outputs the voltage or current that has been set as the zero value. Adjust the transducer output voltage or current using the ▲ and ▼ pushbuttons. Adjust the output signal until the remote device displays the expected zero. The transducer displays the voltage or current that corresponds to the factory calibration. The velocity readings should now be the same on both the setup/troubleshooting display and the remote display.
Converting the Output Signal
In order to convert the transducer output signal into a velocity, use the following equation:
![]()
V = Measured Velocity
VFS = Full Scale Velocity Setting in ft/min or m/s
Eout = Measured output Voltage or Current Signal
Eo = Zero Flow Output Voltage or Current
EFS = Full Scale Voltage or Current Output
For example, if the actual output voltage is 2.6 volts for a transducer with Full scale Velocity = 50 m/s and output type = 1-5 Volts:
![]()
Troubleshooting
| Symptom | Possible Problem & Solutions |
| No output or low output | Incorrect input voltage |
| Sensor positioned incorrectly | |
| Sensor not extended beyond protective shield | |
| Wrong output type/range selected | |
| Loose power or signal connections | |
| Incorrect full-scale velocity range selected | |
| Displayed velocity is hard to read | Internal display is for setup/troubleshooting only |
| Accuracy of velocity reading suspect | Dirty sensor, check for dirt or dust buildup. |
| Erratic readings | Turbulent flow, check the positioning of the sensor, and increase the time constant to dampen reading. |
Cleaning the Sensor
Dust and dirt may build up on the sensor. If necessary, carefully clean the sensor using a soft bristle brush dipped in a mild solvent like alcohol.
Specifications
Models 8455, 8465, 8475
| 8455 | 8465 | 8475 | |
| Accuracy……………………… | ±2.0% of reading1 | ±2.0% of reading1 | ±3.0% of reading2 |
| ±0.5% of the full scale of the selected range | ±0.5% of the selected full-scale range | ±1.0% of the selected full-scale range | |
| Repeatability ……………….. | <±1.0% of reading3 | <±1.0% of reading3 | NA |
| Response Time to Flow… | 0.2 sec4 | 0.2 sec4 | 5 sec5 |
Common specifications to all models
Field Selectable Velocity Ranges
Model 8455/8465 ……….. 0.125 m/s to 1.0, 1.25, 1.50, 2.0, 2.5, 3.0, 4.0, 5.0, 7.5, 10.0, 12.5, 15.0, 20.0, 25.0, 30.0, 40.0, 50.0 m/s (25 ft/min to 200, 250, 300, 400, 500, 750, 1000, 1250, 1500, 2000, 2500, 3000, 4000, 5000, 7500, 10000 ft/min)
Model 8475 ……………….. 0.05 m/s to 0.5, 0.75, 1.00, 1.25, 1.50, 2.0, 2.5 m/s (10 ft/min to 100, 125, 150, 200, 250, 300, 400, 500 ft/min) Minimum Resolution …. 0.07% of the selected full scale
Input Power ………………. 11-30 VDC or 18-28 VAC, 350 mA max6
Output Impedance …….. Voltage mode: less than 1 ohm, 20 mA max source current
Output Resistance …….. Current mode: 500 ohms maximum load resistance
Output Signal (field selectable) ………. 0-5V, 0-10V, 1-5V, 2-10V, 0-20 mA, 4-20 mA
Output Time Constant (field
selectable) ………………. 0.05 to 10 seconds.
Probe Length …………….. 7.5 cm, 15 cm, 21.5 cm or 30 cm (3 in, 6 in, 9 in or 12 in)
Temperature ……………… Compensation Range: 0 to 60°C (32 to 140°F)
Sensor Operation: 0 to 93°C (32 to 200°F)
Electronics Operation: 0 to 93°C (32 to 200°F)
Storage: 0 to 93°C (32 to 200°F)
- from 18 to 28°C (64.4 to 82.4°F), outside this range add 0.2% per °C (0.11% per °F), within the temperature compensation range.
- from 20 to 26°C (68 to 78.8°F), outside this range add 0.5% per °C (0.28% per °F), within the temperature compensation range. Uncertainty increases in downward vertical
flow at velocities less than 0.25 m/s (50 ft/min). The directional sensitivity of Model 8475 is +5%/-20% of reading +0/-0.05 m/s (+0/-10 ft/min) over 270° solid angle
regardless of flow direction. - Standard deviation based on one-minute average from 0.5 to 5.0 m/s (100 to 1000 ft/min).
- For 63% of final value, tested at 7.5 m/s (1000 ft/min).
- For 63% of final value, tested at 2.5 m/s (500 ft/min).
- Input voltage must be maintained within specifications at the transducer.
Calibration occurs with a sensor oriented horizontally in a horizontal airflow.
UNDERSTANDING, ACCELERATED
TS! Incorporated — Visit our website www.tsi.com for more information.
USA Tel: +1 800 680 1220
UK Tel: +44 149 4 459200
France Tel: +33 1 41 19 21 99
Germany Tel: +49 241 523030
India Tel: +91 80 67877200
China Tel: +86 10 8219 7688
Singapore Tel: +65 6595 6388
PIN 1980239 Rev. J ©2021 TSI Incorporated Printed in U.S.A.



















