JS-3417-A 42 Inch White Storage Hutch
User Guide
Questions, problems, missing parts?
1-877-527-0313
HOMEDEPOT.COM
THANK YOU
We appreciate the trust and confidence you have placed in StyleWell through the purchase of this Craft 42 in. White Storage Hutch. We strive to continually create quality products designed to enhance your home. Visit us online to see our full line of products available for your home improvement needs.
Thank you for choosing StyleWell!
Safety Information
DANGER
- Keep small parts away from children during assembly.
- Read and follow instructions carefully.
WARNING
- Read these instructions carefully and keep in a safe place.
- TO GUARANTEE THE SAFE USE OF THIS PRODUCT, FOLLOW THE WARNINGS, GUIDELINES, AND RECOMMENDATIONS IN THIS MANUAL.
- Adult assembly required.
- Small parts may present a choking hazard prior to assembly.
- Do not stand, step, or climb on the unit.
CAUTION
- Do not use power tools to assemble your item. Power tools may strip or damage parts/product.
- Do not over tighten connectors (screws, bolts, etc.) Overtightening can lead to product damage.
- Be sure to check all packing materials carefully for small parts that may have come loose inside the carton during shipment. If parts are missing, contact THE HOME DEPOT to obtain any missing parts.
- DO NOT USE SUBSTITUTE PARTS.
- This product should only be used on a flat, level surface.
- Assembly requires 2 people; assembly alone may cause injury.
Warranty
1 YEAR WARRANTY
WHAT IS COVERED
We guarantee this product to be free of manufacturing defects to the original purchaser for one year.
WHAT IS NOT COVERED
This warranty does not cover commercial use, acts of nature, and abusive use.
Pre-assembly
PLANNING ASSEMBLY
Keep children and pets away from the building area. Make sure your area is large enough to unpack, sort, and assemble the unit.
TOOLS REQUIRED

HARDWARE INCLUDED
NOTE: Hardware not shown to actual size.


| Part | Description | Quantity |
| AA | Cam lock | 12+2 |
| BB | Cam lock bolt | 12+2 |
| CC | Wood dowel | 12+2 |
| DD | Metal shelf support | 16 |
| EE | Magnetic clamp | 4 |
| FF | Flathead screw | 26+2 |
| GG | Roundhead screw | 22+2 |
| HH | Fixed button | 16+2 |
| II | Anti-tipping hardware package | 1 |
PACKAGE CONTENTS

| Part | Description | Quantity |
| A | Top panel | 1 |
| B | Left side panel | 1 |
| C | Middle vertical panel | 1 |
| D | Right side panel | 1 |
| E | Bottom panel | 1 |
| F | Removable shelf panel | 4 |
| G | Left door panel | 1 |
| H | Right door panel | 1 |
| I | Back panel | 1 |
Notification
NOTE: UPON OPENING THOROUGHLY CLEAN ALL WOODS SURFACES TO REMOVE DUST AND DIRT THAT MAY HAVE SETTLED ONTO THE FINISH DURING SHIPMENT. IN ORDER TO PREVENT DAMAGE DURING ASSEMBLY, PLEASE ASSEMBLE THIS ITEM WITH AT LEAST TWO PEOPLE.

NOTE: TURN THE CAM-BOLT SCREWS UNTIL THEY ARE TIGHT, THE SHOULDER SHOULD BE AGAINST THE SURFACE OF THE PART.
HOW TO USE THE CAM TOOL

- NOTE: THE ARROWS ON THE HIDDEN CAM-LOCKS SHOULD POINT TO THE CAM BOLTS.
Assembly
Assemble the panels(B/C/D/E)
- a) Tighten the bolt(BB) onto the panels(B/D/E),then install the magnetic clamp(EE) with screw(FF).

- b) Insert the wood dowels(CC) into the panels as shown.

- c) Fix the panels(B/C/D/E) with cam lock(AA).


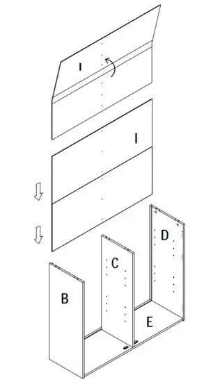
Assemble the panels(A/I)
- a) Insert the back panel(I) into the side panels(B/D).

- b) Tighten bolt{BB) into panel{A), then install the magnetic clamp(EE) with screw(FF).

- c) Insert wood dowel{CC) into the holes as shown.


3 Go on assembling panels(A/1)
- a) Fix the panels with cam lock(AA) as shown.

- b) Tighten screws(GG) into back panel.

- c) Install the fixed button(HH) with screws(GG) as shown.


Assemble door panels(G/H) and shelf (F)
- a) Install the door panels(G/H) with screws(FF) as shown.

- b) Insert shelf supports(DD) into panels(B/C/D), then place panel(F) on supports(DD) as shown.


Finalizing the assembly
- a) Adjust door panels.

- b) Lock the two hardware on the product and the other two hardware lock on the wall, then lock the product with a plastic strip.


Maintenance
- If your furniture is stained or otherwise damaged during use, contact a professional for repairs.
Care and Cleaning
- Use a soft, clean cloth that will not scratch the surface when dusting.
- Use of furniture polishes is not necessary. Should you choose to use polishes, test the polish in an inconspicuous area before using it over the entire surface of the product.
- Using solvents of any kind on your furniture may damage the finish.
- Never use water to clean your furniture as it may cause damage to the finish.
- Always use coasters under beverage glasses and flowerpots.
- Liquid spills should be removed immediately. Using a soft, clean cloth, blot the spill gently and avoid rubbing.
- Always use protective pads under hot dishes and plates. Heat can cause chemical changes that may create spotting within the furniture finish.
- Use care as stains or marks from crayons or ink markers will be difficult to remove.
- Be sure to immediately clean red wine or soda stains within 30 minutes or the surface will stain.
Troubleshooting
| PROBLEMS | SOLUTIONS |
| The panel can not be assembled | Make sure the panel is in the right direction. |
| The door can not be closed or without magnetic | Adjust the magnetic clamp, and make sure it is assembled in the appropriate position. |
| Doors are not flat | Adjust hinges in the appropriate position. |

Questions, problems, missing parts?
Before returning to the store, call Customer Service.
8 a.m. – 7 p.m., EST, Monday – Friday, 9 a.m. – 6 p.m., EST, Saturday
1-877-527-0313
HOMEDEPOT.COM
Retain this manual for future use.






























