iCON 56143 73-Inch Professional Work Center Hutch
![]()
IMPORTANT SAFETY INSTRUCTIONS
When using your garage equipment, basic safety precautions should always be followed, including the following:
- To prevent serious injury and DEATH from tipping, Do not have more than one drawer open at a time.
- DO NOT SIT, STAND OR CLIMB ON THIS ITEM. DO NOT STEP IN OR ON DRAWERS.
- Unplug roll cab before drilling mounting holes to mount workcenter hutch.
- Do not allow children to play with or near this item. This item is NOT children’s furniture.
- Do not exceed weight capacity. Do not exceed drawer weight capacity, based on connected pair of slides. Evenly distribute load from bottom up. Uneven loading causes tipping. Be aware of dynamic loading! Sudden load movement may briefly create excess load causing tipping.
- Close and lock drawer(s) before moving. Do not pull, push to move.
- Center an overhead or chest securely within lip on top of chest or cabinet.
- Place an overhead or chest on top of matching chest or cabinet only
- Do not place objects on top of an overhead or hang objects off side.
- Have assistant help place an overhead or chest on top of chest or cabinet.
- Use only on a flat, level, hard and smooth surface capable of safely supporting a fully loaded unit. Use care when rolling unit over concrete seams.
- Do not lift a roll cab using handle(s). Do not lift while loaded.
- Do not use as a stand-alone unit.
- Wear ANSI-approved safety goggles and heavy-duty work gloves during assembly.
- Read instruction manual before assembly and/or use.
- Close lid when not in use. Lid must be open for drawers to be unlocked.
- Lock swivel casters after moving.
- Do not mount on truck bed or any other moving object.
- Assemble only according to these instructions. Improper assembly can create hazards.
- Do not operate equipment with a damaged cord or if the equipment has been dropped or damaged – until it has been examined by a qualified service person.
- Do not let a cord hang over the edge of the table, bench, or counter or come in contact with hot manifolds or moving fan blades.
- If an extension cord is necessary, a cord with a current rating equal to or more than that of the equipment should be used. Cords rated for less current than the equipment may overheat. Care should be taken to arrange the cord so that it will not be tripped over or pulled.
- Always unplug equipment from electrical outlet when not in use. Never use the cord to pull the plug from the outlet. Grasp plug and pull to disconnect.
- Loop cord loosely around equipment when storing.
- To reduce the risk of electric shock or fire, never overload receptacles. Refer to markings for the proper load on receptacles.
- To reduce the risk of electric shock, do not use on wet surfaces or expose to rain.
- To reduce the risk of fire, do not operate equipment in the vicinity of open containers of flammable liquids (gasoline).
- Adequate ventilation should be provided when working on operating internal combustion engines.
- Keep hair, loose clothing, fingers, and all parts of body away from moving parts.
- Weight capacity and other product capabilities apply to properly and completely assembled product only.31. Use only as described in this manual. Use only manufacturer’s recommended attachments.
- Keep assembly area clean and well lit.
- Do not assemble when tired or when under the influence of alcohol, drugs or medication.
- Keep bystanders out of the area during assembly.
- To reduce the risk of injury, close supervision is necessary when this product will be used around children.
- Use as intended only.
- Inspect before every use; do not use if parts are loose or damaged.
- Maintain product labels and nameplates. These carry important safety information. If unreadable or missing, contact Harbor Freight Tools for a replacement
Specifications
Assembly Instructions
Read the ENTIRE IMPORTANT SAFETY INFORMATION section at the beginning of this document including all text under subheadings therein before set up or use of this product.
- Assemble on a flat, level, hard and smooth surface capable of safely supporting a fully loaded Roll Cab.
- Bolt Handles (2) to each end of the Housing using two M8 Handle Bolts (3) each. Tighten hardware securely.

- Workcenter can only be mounted to a Stainless Steel Top that is properly mounted to a Roll Cab (both sold separately).
- WARNING! TO PREVENT SERIOUS INJURY AND DEATH FROM ELECTRIC SHOCK, unplug power cord from Roll Cab before drilling holes into the Stainless Steel Top.
- Place the included hole Template firmly against one end of the Stainless Steel Top.
- Use a punch and hammer (both sold separately) to create a centered pin point for drilling by aligning punch and hitting the end of it with a hammer in the 2 hole locations on the template.

- Set the Template aside. 8. Use a Drill and 13/64″ Drill Bit (both sold separately) to drill 1″ deep holes straight down into the Top where marked. CAUTION! Do not drill holes deeper than 1″.
- Repeat steps 5 through 8 for the other end of the Stainless Steel Top.

- Place the Work Center on top of the Stainless Steel Top. Make sure it is properly aligned.
- Carefully open the Work Center’s door.
- Use the four M6x24mm Mounting Screws (27) to attach the Work Center to the Stainless Steel Top through the mounting holes.
- Check alignment one more time before tightening Screws down securely.

- Check alignment one more time before tightening Screws down securely.
Operation Instructions
Read the ENTIRE IMPORTANT SAFETY INFORMATION section at the beginning of this document including all text under subheadings therein before set up or use of this product.
- Do not exceed weight capacities.
- Close and lock Workcenter Hutch compartment before moving assembled Roll Cab
Maintenance and Serving
Procedures not specifically explained in this manual must be performed only by a qualified technician.
- PERIODICALLY, inspect the general condition of the Work Center. Check for:
- loose hardware,
- misalignment or binding of moving parts,
- cracked or broken parts,
- any other condition that may affect its safe operation.
- Wipe external surfaces of the Work Center with clean cloth.
PLEASE READ THE FOLLOWING CAREFULLY
THE MANUFACTURER AND/OR DISTRIBUTOR HAS PROVIDED THE PARTS LIST AND ASSEMBLY DIAGRAM IN THIS DOCUMENT AS A REFERENCE TOOL ONLY. NEITHER THE MANUFACTURER OR DISTRIBUTOR MAKES ANY REPRESENTATION OR WARRANTY OF ANY KIND TO THE BUYER THAT HE OR SHE IS QUALIFIED TO MAKE ANY REPAIRS TO THE PRODUCT, OR THAT HE OR SHE IS QUALIFIED TO REPLACE ANY PARTS OF THE PRODUCT. IN FACT, THE MANUFACTURER AND/OR DISTRIBUTOR EXPRESSLY STATES THAT ALL REPAIRS AND PARTS REPLACEMENTS SHOULD BE UNDERTAKEN BY CERTIFIED AND LICENSED TECHNICIANS, AND NOT BY THE BUYER. THE BUYER ASSUMES ALL RISK AND LIABILITY ARISING OUT OF HIS OR HER REPAIRS TO THE ORIGINAL PRODUCT OR REPLACEMENT PARTS THERETO, OR ARISING OUT OF HIS OR HER INSTALLATION OF REPLACEMENT PARTS THERETO.
Note: If product has no serial number, record month and year of purchase instead.
Note: Some parts are listed and shown for illustration purposes only, and are not available individually as replacement parts. Parts may not be interchangeable. Specify UPC number when ordering:
- 56″ Red: 792363561372
- 56″ Blue: 792363562904
- 56″ Black: 792363562911
- 56″ Green: 792363562928
- 73″ Red: 792363561433
- 73″ Blue: 792363563109
- 73″ Black: 792363563116
- 73″ Green: 792363563123
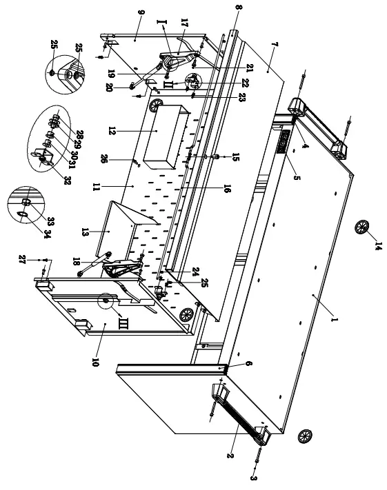
Parts List and Diagram
Parts List
- Housing 1
- Handle 2
- M8x65 Handle Bolt 4
- Front Trim End Cap 2
- Badge 1
- Front Trim 2
- Door 1
- Door Trim 1
- Left Panel 1
- Right Panel 1
- Back Panel 1
- Bin 1
- Shelf 1
- Strip Protector 8
- Lock 1
- Lock Bar 1
- Left Triangle Support 1
- Right Triangle Support 1
- 10X40 Screw 2
- Gas Strut 2
- 10X10 Screw 2
- Holder 2
- M5x12 Bolt 4
- Lock Bar Protector 2
- Lock Bar Protector 6
- M8x20 Bolt 12
- M6x24 Mounting Screw 4
- 12X16 Screw 2
- Washer 4
- Slide Sleeve 2 2
- Slide Sleeve 1 2
- M10 Nut 2
- Holder 2
- Shaft Ring 2
Assembly Diagram![]()
LIFETIME WARRANTY
Harbor Freight Tools makes every effort to assure that its products meet the highest quality and durability standards. Harbor Freight Tools warrants to the original purchaser of this ICON™ Tool Storage that the parts and components of the ICON™ Tool Storage will be free from defects in material and manufacturing workmanship during the ICON™ Tool Storage’s useful life. If the parts or components do not perform in accordance with this warranty, Harbor Freight Tools will provide the parts necessary to put the ICON™ Tool Storage back in working order. Replacement parts may be obtained by calling 1-888-866-5797 or by emailing [email protected]. Proof of purchase (original sales receipt) from the original consumer purchaser must accompany all warranty claims.
This warranty does not apply to damage due directly or indirectly, to misuse, abuse, negligence or accidents, unauthorized repair, improper installation, improper storage, normal wear and tear, neglect, alteration or modification, or to lack of maintenance. Abnormal use of tool storage units also includes, without limitation, situations when a unit is pulled using a vehicle, rolled over large drops, used in a highly corrosive environment, used as a step stool, overloaded or modified in any way. This warranty is in lieu of all other warranties, express or implied, including the warranties of merchantability and fitness. Harbor Freight Tools is not liable for incidental, indirect, special, consequential, or punitive damages or costs arising from the use of this product. Some states do not allow the exclusion or limitation of incidental or consequential damages, so the above limitation may not apply to you. This warranty gives you specific legal rights, and you may also have other rights which vary from state to state.



















