Teknik 5426910 Elstree Hutch with Drawer

Assembly Tools Required
![]() | No. 2 Phillips Screwdriver Tip Shown Actual Size |
Part Identification
While not all parts are labeled, some of the parts will have a label or an inked letter on the edge to help distinguish similar parts from each other. Use this part identification to help identify similar parts.
A RIGHT END (1)
B LEFT END (1)
C TOP (1)
D FIXED SHELF (1)
E ADJUSTABLE SHELF (1)
F BRACE (1)
G DRAWER BOX FRONT (1)
H DRAWER BACK (1)
J DRAWER SIDE (2)
K DRAWER FRONT (1)
L DRAWER BOTTOM (1)
M DRAWER BRACE (1)
N BACK (1)

Hardware Identification
Screws are shown actual size. You may receive extra hardware with your unit

Hardware Usage Guide
HOW TO USE A TWIST-LOCK® FASTENER

STEP 1
Assemble your unit on a carpeted floor or on the empty carton to avoid scratching your unit or the floor.
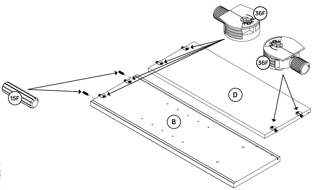
To begin assembly, push six SAUDER TWIST-LOCK® FASTENERS (36F) into the large holes in the LEFT END (B) and FIXED SHELF (D).
Insert two WOOD DOWELS (15F) into the LEFT END (B).

Do not tighten the TWIST-LOCK® FASTENERS in this step
STEP 2
Fasten the FIXED SHELF (D) to the LEFT END (B). Tighten two TWIST-LOCK® FASTENERS.
STEP 3
![]() | Just think. The sooner you do this, the sooner you do something else. |
To begin assembly, push four SAUDER TWIST-LOCK® FASTENERS (36F) into the large holes in the BRACE (F).

STEP 4
å Fasten the BRACE (F) to the LEFT END (B). Tighten two TWIST-LOCK® FASTENERS.

STEP 5
Push two SAUDER TWIST-LOCK® FASTENERS (36F) into the large holes in the RIGHT END (A).
Insert two WOOD DOWELS (15F) into the RIGHT END (A).
Fasten the RIGHT END (A) to the FIXED SHELF (D) and BRACE (F). Tighten four TWIST-LOCK® FASTENERS.

STEP 6
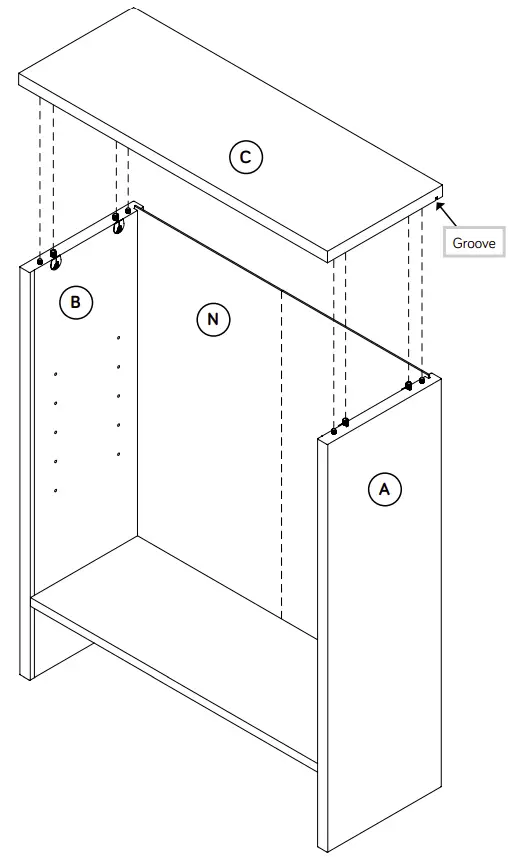
Carefully stand your unit upright.
Slide the BACK (N) into the grooves in the ENDS (A and B) and FIXED SHELF (D).

STEP 7
Fasten the TOP (C) to the ENDS (A and B). Tighten four TWIST-LOCK® FASTENERS.
NOTE: Be sure the WOOD DOWELS in the ENDS insert into the TOP.
NOTE: Be sure the groove in the TOP inserts into the BACK.

STEP 8
![]() | Now might be a good time to refresh your drink |
Fasten eight BACK CONNECTORS (39F) to the ENDS (A and B), TOP (C), BOTTOM (D), and BACK (G). Tighten the SCREW in each BACK CONNECTOR.

STEP 9
Carefully turn your unit onto its front edges.
Fasten the BRACKET CONNECTORS to the ENDS (A and B). Use four SILVER 1″ LARGE HEAD SCREWS (102S).

STEP 10
Open the FURNITURE TIPPING RESTRAINT KIT (97) and fasten the SAFETY STRAP to the TOP (C). Use the short screw provided
NOTE: Position the SAFETY STRAP exactly as shown.
NOTE: There is no pre-drilled hole in the TOP (C). Use extra force when turning this SCREW.

STEP 11
You have the option to attach this unit to the 426908 and 426909. Below shows how to attach it to either unit.
Fasten the unit to either the 426908 and 426909. Use four SILVER 1″ LARGE HEAD SCREWS (102S).

STEP 12

Fasten the DRAWER SIDES (J) to the DRAWER BACK (H). Use four BLACK 1-9/16″ FLAT HEAD SCREWS (30S).

Slide the DRAWER BOTTOM (L) into the grooves in the DRAWER SIDES (J) and DRAWER BACK (H)
Fasten the DRAWER BOX FRONT (G) to the DRAWER SIDES (J). Use four BLACK 1-9/16″ FLAT HEAD SCREWS (30S).

Turn the drawer onto its top.
Fasten the DRAWER BRACE (M) to the DRAWER BOX FRONT (G) and DRAWER BACK (H). Use two BLACK 1-9/16″ FLAT HEAD SCREWS (30S).
STEP 13
Apply the FELT STRIPS (180M) to the bottom, front and back edges of the DRAWER SIDES (J) as shown.
å NOTE: The FELT STRIPS should completely cover the bottom edges of the DRAWER SIDES and wrap equally around the front and back edges.

STEP 14
![]() | If you’re doing this to help a friend, don’t leave without a bite |
Turn your drawer onto its bottom.
Fasten the DRAWER FRONT (K) to the DRAWER BOX FRONT (G). Use four BLACK 7/8″ LARGE HEAD SCREWS (17S).
Fasten the PULL (189K) to the DRAWER FRONT (K). Use two BLACK 9/16″ LARGE HEAD SCREWS (1S).
STEP 15
Position your unit in its final location. We recommend using the SAFETY STRAP for added stability.
NOTE: Do not turn the SAFETY DRYWALL ANCHOR into a wall stud. If you prefer to fasten the SAFETY STRAP to a wall stud, go to your local hardware store for proper hardware.
INSTALLATION INSTRUCTIONS:
- Insert the SAFETY DRYWALL ANCHOR through the WASHER and the end of the SAFETY STRAP.
- Using a Phillips screwdriver or a hand drill, press the screw slightly onto the drywall.
- Apply pressure; turn the screw until a pilot hole is made and the nylon sheath slips through.
- Turn the screw until it is flush against the wall and you feel a firm resistance.
- Continue to turn until the screw starts spinning freely.
NOTE: Before moving your unit to a different location, unscrew the SAFETY DRYWALL ANCHOR from your wall. The nylon sheath will remain behind your wall.
Insert the DRAWER into the unit.

STEP 16
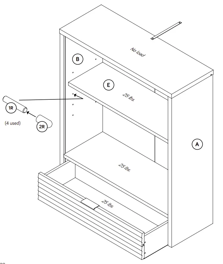
Push the RUBBER SLEEVES (2R) over one end of the METAL PINS (1R). Insert the METAL PINS into the hole locations of your choice in the ENDS (A and B). Set the ADJUSTABLE SHELF (E) onto the METAL PINS.
NOTE: Please read the back pages of the instruction booklet for important safety information.
This completes assembly. Clean with a damp cloth. Wipe dry.























