LUXOR AVJ42 Adjustable Height Metal Cart

Parts List
The cabinet comes pre-assembled on units that include a cabinet.
- Position the bottom shelf B so that the caster holes are facing up. Insert caster C into the caster holes on the bottom of shef B. Use a mallet to set the casters properly.

- Flip bottom shelf B so that it is on its side. Set-top shelf A so that it overlaps bottom shelf B. Align the screw holes so that the top shelf A is at the desired height.

- Insert screw D through the aligned screw hole of A and B and fasten nut E with pliers and a screwdriver. Place the Non-slip mat on the desired shelf. The cart is now complete.
Tools Required

Electric Assembly Instructions
The number of outlets may vary.
Parts List

Tools Required
- Screwdriver

- Push screw C through electric outlet A. Make sure the electric outlet A and cord wrap B align with the mounting surface screw holes. Push screw C through cord wrap B and the mounting surface screw holes. Use wing nut D and screwdriver to fasten.

CLAMP-ON DESKTOP CHARGING UNIT KBEP-CGR
In the Box

Ships/Sold Separately:

Tools Required:
8mm Hex Wrench

- Open the Clamp-On Desktop Charging Unit clamp by loosening the 8 mm bolt.

- Test clamp fit by sliding clamp over edge of desk or table.
- Ensure the outer edge of the desk fully reaches the inner edge of the clamp.
- Ensure there is adequate clearance to insert and remove the Rechargeable Batteries.

- Tighten the bolt until the clamp fits snugly on the desk. IMPORTANT: Do not over-tighten the bolt.

- Insert Rechargeable Battery into Clamp-On Desktop Charging Unit.
IMPORTANT: Battery must be fully charged before first use.
- Plug devices into corresponding AC outlet and USB ports.
USB-C and USB-A ports will immediately begin powering devices.
- Press the power button on top of the clamp to activate the AC outlet.

- Press the power button on the end of the Rechargeable Battery to activate indicator lights and monitor power consumption.
- When only one LED is illuminated on Battery, replace with a fully-charged Battery from Base Charging Station.
IMPORTANT:
Plug a maximum of one device into each corresponding outlet/port. Do not use a splitter to plug multiple devices into one outlet and/or port, as this will damage the Rechargeable Battery and Clamp-On Desktop Charging Unit.
TROUBLESHOOTING
Power Button Flashing Green
- Reset Clamp-On Desktop Charging Unit by unplugging the device(s) and pressing the power button.
- Plug the devise in again. If the power button continues to flash, the device is not compatible with EdgePower and should not be used.
Indicates a safety feature has been triggered by a device.
Device Not Charging when Plugged into AC Outlet:
- Confirm power button has been pressed and green light is on.
- Check the Rechargeable Battery’s indicator lights for power level.
- Recharge Battery if one or fewer indicator lights are illuminated.
Device Not Charging when Plugged into USB Ports.
- Check the Rechargeable Battery’s indicator lights for power level.
- Recharge Battery if one or fewer indicator lights are illuminated.
RECHARGEABLE BATTERY KBEP-BAT
In the Box

Ships / Sold Separately:

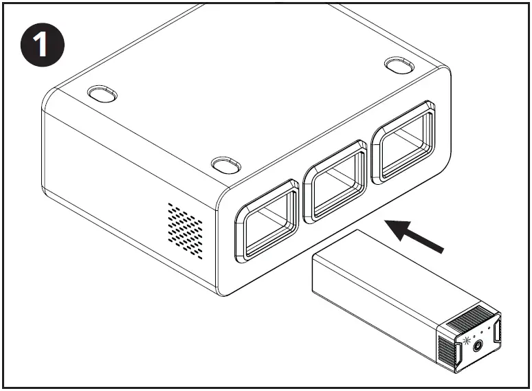
Insert Rechargeable Battery into Base Charging Station
When fully connected, Rechargeable Battery indicator lights will blink to show charging status.
- 1st dot blinking
= 0 to 24% charged - 2nd dot blinking, 1st dot solid
= 25 to 49% charge - 3rd dot blinking, 1st & 2nd dot solid
= 50 to 74% charged - 4th dot blinking, 1st, 2nd, & 3rd dot solid
= 75 to 99% charged
NOTE: Battery will ship only partially charged and must be fully charged before first use.
Allow two (2) hours for Batteries to fully charge
When all four indicator lights illuminate solid, the Battery is fully charged.
Remove fully-charged Battery from Base Charging Station and insert into Clamp-On Desktop Charging Unit.
The press power button on the end of the Rechargeable Battery activates indicator lights and monitor power consumption.
- When only one LED is illuminated on Battery, recharge using a Base Charging Station.

TROUBLESHOOTING
Indicator lights not illuminating
- Ensure Base Charging Station is fully plugged in and the power switch is turned on.
- Ensure the Rechargeable Battery is properly connected to Base Charging Station.
- If steps 1 and 2 do not work, contact customer service.
Indicates Rechargeable Battery is not charging when insterted into Base Charging Station.
SAFETY AND CARE
- Fully charge Battery before first use.
- Fully charge Battery at least once every three (3) months to maintain good battery health.
- Keep Battery away from spills and moisture.
- Never store Battery in a high-humidity environment.
- Cannot be used by children without adult supervision.
- Do not use if Battery is damaged.
- Properly dispose of a damaged or end-of-life Battery based on local laws and regulations, and recycle if possible.
SPECIFICATIONS
- Warranty: Limited 1-year
- Output: 146.52 Wh
- Cells: 18 at 2,200mAh, 3.7V each
- Indicator lights: Shows 25%, 50%, 75%, and fully-charged
- Power switch: Turns indicator lights on and off
- Designation: UN 3480 (primary lithium batteries — forbidden for transport aboard passenger aircraft)
SINGLE BATTERY CHARGER KBEP-BASE1
In the Box

Ships / Sold Separately:

Plug male end of power cord into Single Battery Charger.
Plug power cord into available AC wall outlet.
Connect Rechargeable Battery to Single Battery Charger
When fully connected, Rechargeable Battery indicator lights will blink to show charging status.
- 1st dot blinking
= 0 to 24% charged - 2nd dot blinking, 1st dot solid
= 25 to 49% charge - 3rd dot blinking, 1st & 2nd dot solid
= 50 to 74% charged - 4th dot blinking, 1st, 2nd, & 3rd dot solid
= 75 to 99% charged
NOTE: Batteries will ship only partially charged and must be fully charged before first use.
Allow two (2) hours for Battery to fully charge
When all four indicator lights illuminate solid, the Battery is fully charged.
TROUBLESHOOTING
Indicator lights not illuminating
- Ensure Single Battery Charger is fully plugged in and connected to Battery.
- If step 1 does not work, contact customer service.
Indicates Rechargeable Battery is not charging when connected to Single Battery Charger.
































