Programmable energy-saving radiator thermostat
HT 430-22
User Manual
HT 430-22 Programmable Energy-Saving Radiator Thermostat
User manual
Please read the user manual before you place the thermostat. Keep the documents for later questions and provide them if you pass the thermostat on to other persons.
Scope of delivery
1 HT 430-22 energy saving radiator thermostat
1 User manual
1 Connector
3 Adapters (Danfoss RA, Danfoss RAV, Danfoss RAVL)
2 batteries (mignon, AA)
Application as directed
By purchasing the HT 430-22 energy saving radiator thermostat you own a programmable radiator thermostat which can be used for temperature regulations in enclosed rooms and therefore, it can contribute to the reduction of heating energy. – Please use the thermostat only for this purpose. The programming port is intended ONLY for our programming stick. Never connect other devices with the programming port!
The Programming stick can be found on: www.addliving.com
By pressing MENU, you will arrive at the set up menu. Please choose one of the items with the selector wheel. With OK you can select one menu item and with the selection wheel they can be adjusted. The button OK confirms the setting. The button MENU leads to the previous level.
| MODE | Select the mode AUTO = automatic mode MANU = manual mode |
| PROG | Setting of time program |
| TEMP | Setting of comfort and economy temperature |
| ZEIT | Setting of date and time |
| FENS | Window function |
| RES | Reset of the device to factory preset |
| ADAP | Starting of a new adaptation to adjust the valve |
| URLA | Travel function |
| INST | Installation function (Please only attach the controller to the coupling ring in this position) |
| OFFS | Adaptation of temperature to the room situation |
| STBY | Standby mode |
| VERS | version |
| DST | Daylight saving time |
Display and control elements
| 1 | Union nut |
| 2 | Heating times |
| 3 | AUTO or MANU mode |
| 4a | MENU – Opens the main menu (starting from the standard display); within a menu, navigate one step back by pressing the button |
| 4b | OK – Confirm |
| 4c | TIME – Timer function |
| 5 | Adjusting wheel |
| 6 | Key lock |
| 7 | Battery low |
| 4a | Vacation function |
| 8b | Comfort temperature |
| 8c | Energy-save temp |
| 8d | Frost protection function |
| 9 | Battery compartment |
| 10 | USB-Port |

Inserting / replacing batteries
Remove the battery lid by pressing the battery lid upwards (1) at the highlighted point and then taking it out (2).

Then insert the batteries as represented in the appliance. Do not use accumulators! Ensure that the polarity is correct!
Safety information regarding handling batteries
Warning! Risk of suffocation through batteries.
- Keep batteries out of reach of children.
- Seek medical attention immediately if one is swallowed.
Caution! There are different risks involved when dealing with batteries.
- Never attempt to recharge standard batteries, never short circuit batteries and/or open batteries. Doing so leads to a potential risk of overheating, fire or explosion.
- Improper handling of batteries/rechargeable batteries can endanger your health and the environment. Batteries/rechargeable batteries may contain toxic and environmentally harmful heavy metals (Cd = cadmium, Hg = mercury, Pb = lead). Therefore, hand in used batteries at a municipal collection point. Therefore, separate disposal and recycling of spent batteries is essential for the environment and health.
- Ensure the connection terminals are not short-circuited.
- Never throw batteries into a fire or water.
- Never expose batteries to any mechanical loads.
- Leaking batteries could cause damage to the device. If a battery should start to leak, remove it from the device immediately to prevent any further damage. Take the
utmost care when handling damaged or leaking batteries and always wear protective gloves. - Avoid any contact with the skin, eyes, and mucous membranes. Rinse any parts of the body which have encounter battery acid with plenty of clean water and contact a doctor immediately. Avoid extreme conditions and temperatures which could affect the batteries, e.g. by placing them on radiators or exposing them to direct sunlight.
- Only use batteries of the type specified.
- Never use batteries of different types or new and old batteries together.
- Ensure batteries are inserted with the correct polarity.
- If the device will not be used for a longer period, switch the
device off and remove the batteries. - Remove empty batteries from the device and dispose of them according to the applicable directives.
- The batteries must be removed from the device before its disposal.
- You are legally obliged to dispose of batteries at your dealer or at the collection points provided by the responsible waste disposal authority.
Setting date and time
After inserting the batteries for the first time the date will flash on the display.
Now, date and time can be set.
Set date with the selector wheel. Confirm with OK.
Set month with the selector wheel.
Confirm with OK.
Set day with the selector wheel. Confirm with OK.
Set hour with the selector wheel. Confirm with OK.
Set minute with the selector wheel.
Confirm with OK.
– That’s it.
On the display PREP. will be shown. Now, the motor will completely move to the installation position to make the installation easier. As soon as HT 430-22 is ready for installation. INST will be shown on the display (INST – any time selected in the menu). Now please do not press any other buttons! Plug device for coupling ring.
→ see mounting.
The HT 430-22 automatically switches todaylight saving time.
You can also set date and time via themenu item later on. But in case of that, HT430-22 does not move to the installation position.
→ In case of replacing batteries, thestored time programme will remain active. You should check the specified time to ensure that.
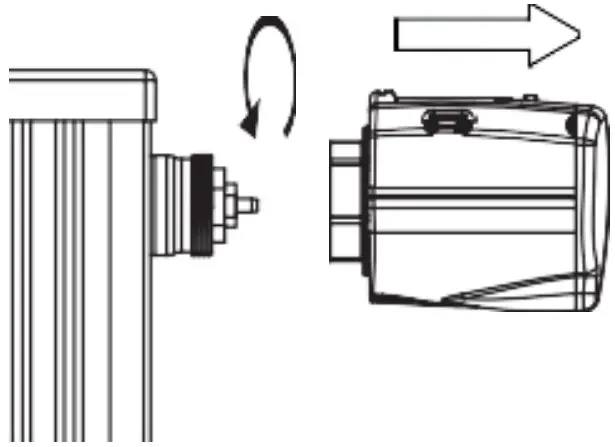
Mounting
HT 2000 can be quickly and easily mounted on all common valves (see adapter table). It can be installed without grime and water spots because the heating circuit is not interrupted.

- Turn the manual thermostat head up completely, loosen the fastening and pull the thermostat off the valve.
- Use an appropriate adapter, if required, and push it onto the valve.
- Screw the connector on the valve or the adapter.
- Now, you put HT 2000 on the connector until it noticeably clicks into place.
ATTENTION: It must be possible to insert the device without applying force, ensure that the appliance is in the INST or EIN position.
→ In case of a later installation, please switch in the menu to INST before you install the device. Herewith the installation is facilitated. Only mount it in this position.
Dismounting

To remove HT 430-22, remove this at theEIN (with the wheel turn on the highest temperature of over 28 C° to EIN position),wait for a short period and unscrew thecap nut and remove the device from thevalve.
Adaptation
Initial installation: Press the button OK until ADAP appears on the display so that HT 430-22 will be able to start its adaptation. The device will adapt itself to the stroke of your valve body. To do this the valve will now be opened and closed several times to store the end points. In some cases, this process can take a few minutes. After successful adaptation it returns to normal mode.
- Should adaptation become necessary again, e.g., if your radiator does not cool down in the -Position, please press in the menu the button until adaptation starts again.
- If the mistake is shown on the display place HT 2000 onto the radiator valve and then take the batteries out for a short time to execute a reset.
Adapter
| Heimeier, Junkers Landys+Gyr, MNG, Honeywell, Braukmann Gewindemaß von M 30×1,5 | No adapter required. |
| Danfoss RAV (accompanying pin must be plugged on the valve tapped) | ![]() |
| Danfoss RA | ![]() |
| Danfoss RAVL | ![]() |
NOTE: Use the enclosed letter and nut with Danfoss RA/RAV.

Please remove the marked connecting rods completely before mounting the adapters!
Basic operating modes
MANU-Modus
In the MANU-mode HT 430-22 adjusts to the manually specified temperature.
AUTO-Modus
In the AUTO-mode HT 430-22 changes between to temperatures according to the time program that has been set:
Comfort temperature (factory preset 21°C)
Economy temperature (factory preset 16°C)
The heating and economy times can be specified via the adjustable time program. It is possible to set 8 switch points (4 heating and 4 economy times) per day at the most. HT 43022 has the following factory preset:
Heating time:
Heating with comfort temperature (factory preset: 1st heating time at 07:00)
Economy time:
Lowering to economy temperature (factory preset: 1st economy time at 22:00)
Setting heating and economy times:
With HT 430-22 it is possible to set 4 heating and 4 economy times per day – one for each day or one for a block of several days. TAG1 to TAG7 represent the weekdays from Monday to Sunday. Additionally, the corresponding days are shown as abbreviation below the menu bar on the display.
Block construction:
T 1–5 = same program from Monday – Friday
T 1–6 = same program from Monday – Saturday
T 1–7 = same program from Monday – Sunday
→ For non-programmed days the factory preset remains active.
Setting of an individual program:
Press MENU. Select the menu item PROG with the selector wheel. Press OK. TAG1 for Monday is shown on the display. Select day/block with the selector wheel.
Confirm with OK.
Set the beginning of the 1st heating time (symbol
) with the selector wheel. Confirm with OK. Set the beginning of the 1st economy time (symbol ) with the selector wheel. Confirm with OK. Now, if desired, a 2nd, 3rd or 4th heating/economy time can be entered.
→ If you do not want to set a further heating/economy time confirm „– – –“ with OK.
The next day for programming is shown on the display.
→ If you do not want to enter a further day, leave the menu with MENU.
If the temperature is shown on the display the programming is finished. Within the blocks you can also overwrite single days with differing times.
Setting comfort and economy temperature
Press MENU. Select the menu item TEMP with the selector wheel. Confirm with OK. Set comfort temperature with the selector wheel. Confirm with OK. Set the economy temperature with the selector wheel. Confirm with OK.
Area OFF: 8°C, freeze protection is activated Area ON: valve is completely open By the way: Maximum energy saving can be obtained with an economy temperature which is about 5 °C below the comfort temperature.
Manual operation
With the selector wheel an adaptation of the room temperature is possible at any time. In the AUTO mode it remains active until the next switch point is reached. Now, the usual program becomes active again
Further functions
Timer function
The timer function is selected with the timer-button
. With this function a userdefined temperature for a programmable period can be entered. This can be very useful in case of a party, for example. Press
first, the time for which the time program has been deactivated is shown. Confirm with OK Now, the desired temperature can be set. Confirm with OK. In the selected period it is not possible to change the temperature manual, the wheel is locked. Press Menu and unlock it.
Offset
If the perceived temperature significantly differs from the set thermostat temperature a temperature set up can be executed. Press MENU Select the menu item OFFS with the selector wheel. Confirm with OK. The degree setting 0,0°C will flash on the display. Now, set up the desired adaptation for the temperature (from -5 up to +5°C) with the selector wheel.
Confirm your entry with OK. The temperature display does not change!
Window function
If you open a window and consequently thetemperature drops significantly, HT 430-22 will automatically close the heating valve to save energy. The display will show
. Afterwards, the device will resume normal operation. For the set up select FENS in the menu. Confirm with OK First, the sensibility is selected with the selector wheel (HIGH = high sensibility, MID = medium sensibility (factory preset), LOW = low sensibility). Confirm with OK. Now, you enter the time (10 min (factory preset) – 60 min) for which the valve should remain closed. Confirm with OK.
Travel function
For the time you are absent you can select an individual temperature. After this period the originally defined program becomes active again.
Press MENU. Select the menu item URLA. Confirm with OK (suitcase
appears on the display). Select with the selector wheel the end of the travel function (= date of the recommencement of the regular heating times). Confirm with OK. Set the time and confirm with the button OK. The signal AUS appears on the display. Now set the temperature and confirm with OK. appears on the display. With MENU the function can be deactivated.
Child lock
You can lock HT 430-22 to protect the device from unauthorized activation. Press the buttons OK +
at the same time for about 2 seconds until the signal
appears on the display to lock the device. By using this button combination again, the symbol disappears, and you release the lock.
Heating pause – Closing the valve
Press MENU. Select the menu item MODE with the selector wheel. Confirm with OK. Select MANU and confirm with OK. Set the temperature on the display to AUS. The valve is now closed and will work without a time program. The calcification protection function remains active once a week. After the heating pause you switch in the menu to the AUTO-mode and the personally set program will be executed again.
Daylight saving time
Press MENU. Select DST with the selector wheel. Confirm with the OK button and select ON / OFF with the selector wheel. HT 430-22 switches automatically from summer to wintertime.
LCD standby indicator
Press MENU. Select the menu item STBY with the selector wheel. Confirm with the OK button and select EIN / AUS with the selector wheel. After about 30 seconds, the LCD indicator switches into standby mode. By pressing any button, the display will be activated again. (by removing the battery, standby mode will be reseted). Increases the battery lifetime.
Going back to factory preset / All reset Press MENU. Select the menu item RES with the selector wheel. Confirm with OK. OK flashes, confirm with OK. HT 430-22 is reset again. Now, proceed as described for the initial operation.
Freeze protection and calcification protection function are active automatically:
Freeze protection function
If the temperature drops below 6°C, HT 430-22 opens the valve until the temperature again rises above 8°C. This prevents the radiators from freezing.
Calcification protection function
To prevent radiator valves from calcifying HT 2000 is submitted to calcification protection program once a week on Friday mornings.
Technical data
We reserve the right to make technical changes for the purpose of improvement.
| Model | HT 430-22 |
| Supply voltage | 3 V |
| Max. power consumption | 100 mA |
| Batteries | 2 x Mignon, 1,5 V |
| Display | LCD |
| Dimensions | 74 x 65 x 54 mm |
| Weight (incl. adapter and batteries) | 191 g |
| Connection | M30 x 1,5 mm |
| Ambient temperature | 5 to 55°C |
| Surface temperature | max. 90°C (at the radiator) |
| Linear stroke | 4,3 mm |
Cleaning
To clean the HT 430-22 use only a dry orlightly wet cloth. Avoid chemical solvent– it can probably damage the device.
Disposal:
Find out about thepossibilities of taking backold appliances and used batteries free of chargefrom your dealer.
The adjacent symbol indicates laws dictate that electrical and electronic apparatus no longer required must be disposed of separate from domestic waste. Dispose of your device at a collection point provided by your local public waste authority. Packaging materials must be disposed of according to local regulations.
Defective or empty batteries must be recycled in accordance with Directive 2006/66/EC and its amendments. Return batteries and the device via the collection points provided.
Packaging materials must be disposed of according to local regulations.
Observe the identification on the packaging materials during the waste sorting process; they are identified by abbreviations (b) and numbers (a) which have the following significance: 1–7: plastic/20–22: paper and cardboard/80–98: composite materials.
Help
| Problem | Cause | Solution |
| Batteries do not have enough power. | Replace batteries. | |
| Heating element does not warm up. | Is the boiler water temperature, O.K.? Valve does not open, is it calcified after the summer pause /heating pause? | Adjust the temperature of the boiler water. Remove the HT 430-22, move the valve stem back and forth per hand or with a tool. |
| Heating element does not cooldown. | Valve does not close completely. It may be that the closing point of your valve seat has shifted. | Adapt again (see “Adapting”) Move the valve stem several times by hand, it may be that adaptation is impossible because your valve is calcified or the seat no longer performs its function. |
| Pressure piece falls out (This can also cause an E1-error) | Due to an endless thread the pressure piece, which is situated at the bottom, can fall out if the device has not been affixed on the valve | Put in the pressure piece. The device can be adapted by pressing the MENU point or by removing and inserting the batteries. The endless thread is rotating now and fixes the pressure piece again. Just install it to the radiator and adapt it once again. |
| E1-E3 | By pressing any key, the error message will be deleted in the display and the adapter is restarted. | |
| E1 | No adaptation possible.HT 430-22 is not installed to the heater. | Is the installation, OK? Install HT 430-22 to the heater. |
| E2 | Valve stroke is too short. | Open and close the valve several times manually or replace the batteries. |
| E3 | Motor movement is not possible. | Does the valve stem move freely? |
V 1.15
08/22
ID: 73024






















