INTEX 28006 ZX100 Automatic Pool Cleaner

Product Information
The ZX100 Automatic Pool Cleaner by Intex is a pool cleaning device that operates from the pressure side of the pool water return connector. The device comes with a gear module, debris net, micro-screen, pressure release valve, swivel joint, hose collar nut, hose, hose elbow, brush support, brush (with two extra), and inlet connector adaptor. The product is designed to effectively clean dirt and debris from your pool, ensuring a clean and hygienic swimming experience.
Product Usage Instructions
- Before installing and using the product, read and understand all the instructions provided in the user manual carefully.
- Check the contents of the package and familiarize yourself with all the parts of the device.
- Unscrew the nozzle from the water return connector inside the pool.
- Make sure the micro-screen is inside the pressure release valve, then screw the pressure release valve set to the threaded strainer connector from inside the pool.
- For Intex small pools with 1-1/4 (32mm) inlet strainer connector fitting, screw the inlet connector adaptor to the inlet strainer connector first, then screw the pressure release valve set to the adaptor.
- Press the button on the cleaner top to release it from the gear module.
- Attach the hose collar nut to the gear module by aligning and snapping it into place.
- Insert the brush support into the cleaner base and attach it by turning it clockwise until it clicks into place.
- Screw the gear module onto the cleaner base until it is secure.
- Attach one end of the hose to the swivel joint and the other end to the inlet connector adaptor or pressure release valve.
- Place the cleaner in the pool and turn on the filter pump.
- Allow the cleaner to run for at least two hours to effectively clean the pool.
- When finished, turn off the filter pump and remove the cleaner from the pool.
- Clean the debris net and micro-screen using a hose and store the device in a dry place.
By following these instructions, you can effectively use the ZX100 Automatic Pool Cleaner to maintain a clean and hygienic swimming pool.
IMPORTANT SAFETY RULES
Read, understand, and follow all instructions carefully before installing and using this product. Keep for future reference.Don’t forget to try these other fine Intex products: pools, pool accessories, inflatable pools and in-home toys, airbeds and boats available at fine retailers or visit our website. Due to a policy of continuous product improvement, Intex reserves the right to change specifications and appearance, which may result in updates to the instruction manual without notice.
©2022 Intex Marketing Ltd. – Intex Development Co. Ltd. – Intex Recreation Corp. All rights reserved/Tous droits réservés/Todos los derechos reservados/Alle Rechte vorbehalten. Printed in China/Imprimé en Chine/Impreso en China/Gedruckt in China. www.intexcorp.com
IMPORTANT SAFETY RULES
Read, Understand and Follow All Instructions Carefully Before Installing and Using this Product.
WARNING
- TO REDUCE THE RISK OF INJURY, DO NOT PERMIT CHILDREN TO USE THIS PRODUCT.
- REMOVE THE PRODUCT FROM THE POOL WHILE THE POOL IS OCCUPIED OR IN USE.
- TURN OFF OR UNPLUG THE FILTER PUMP BEFORE ADJUSTING, CLEANING OR SERVICING.
- REMOVE THE PRODUCT FROM THE POOL BEFORE PLACING A POOL COVER OVER THE POOL.
- STORE THE PRODUCT AND ACCESSORIES IN A DRY AND SAFE PLACE INDOORS.
- FOR POOL AND FILTER PUMP PROBLEMS REFER TO THEIR RESPECTIVE OWNER’S MANUAL FOR ADVICE.
- THIS DEVICE IS INTENDED TO BE USED ONLY FOR THE PURPOSES DESCRIBED IN THE MANUAL.
FAILURE TO FOLLOW THESE WARNINGS MAY RESULT IN PROPERTY DAMAGE, SERIOUS INJURY OR DEATH.
PARTS REFERENCE
Before assembling your product, please take a few minutes to check the contents and become familiar with all the parts.
NOTE: Drawings for illustration purpose only. Actual product may vary. Not to scale.
| REF. NO. | DESCRIPTION | QTY. | SPARE PARTS NO. |
| 1 | CLEANER TOP | 1 | 13200 |
| 2 | GEAR MODULE | 1 | 13201 |
| 3 | DEBRIS NET | 1 | 13202 |
| 4 | CLEANER BASE | 1 | 13203 |
| 5 | CAP SEAL O-RING | 3 | 12861 |
| 6 | MICRO-SCREEN | 1 | 12860 |
| 7 | PRESSURE RELEASE VALVE | 1 | 13199 |
| 8 | SWIVEL JOINT | 1 | 13226 |
| 9 | HOSE COLLAR NUT | 2 | 12863 |
| 10 | HOSE | 1 | 12862G |
| 11 | HOSE ELBOW | 1 | 13227 |
| 12 | BRUSH SUPPORT | 2 | 13136 |
| 13 | BRUSH (WITH 2 EXTRA) | 4 | 13135 |
| 14 | INLET CONNECTOR ADAPTOR | 1 | 12486 |
SETUP INSTRUCTIONS
IMPORTANT PREPARATION INFORMATION
Please read, understand, and follow all instructions carefully before installing and using this product.
General
The auto cleaner is designed to clean the pool as follow:
- The brushes from the auto cleaner remove the fine dirt from the floor.
- The fine sediments and debris on the floor are agitated by the auto cleaner movement. This allows the filtration system to filter out the fine sediments suspended in the water, while the auto cleaner pick up the heavy debris
on the floor. - The movement of the auto cleaner around the pool prevents the water from stagnating. Thus helping circulate the pool water through the filtration system.

- The Auto Cleaner operates from the pressure side of the pool water return connector (water flowing from the filter pump to the pool). If the Auto Cleaner is attached to the pool “outlet” (water flowing from the pool to the filter pump) connector, it will not work.
- The Auto Cleaner will not work if there is an Intex Saltwater System or Ozone Generator connected to the same water circulation line as the Auto Cleaner. Disconnect these sanitation devices from the water circulation line before installing the Auto Cleaner. Once the Auto Cleaner has finished cleaning the pool, disconnect, remove the Auto Cleaner from the pool, reinstall and resume the sanitation device operation.
SETUP INSTRUCTIONS (continued)
- The Auto Cleaner must be connected to an Intex filter pump with a system flow rate between 1600 – 3500 gallons/hour (6056 – 13248 liters/hour). Not suitable for non-Intex filter pumps.
- For Intex® above ground frame pools.
- Up to 26 ft (7.92 m) round shape. Up to 18 ft (5.49 m) for Easy Set Pools.
- Up to 32 ft x 16 ft (9.75 m x 4.88 m) rectangular/oval shape. Not suitable for non-Intex pools.
- First assemble your filter pump and then set up the auto cleaner.
- If using a sand filter, ensure the sand media is clean by backwashing it first. Run the sand filter pump for 10-15 minutes before connecting the auto cleaner to the water return connector. If sand enters the auto cleaner, it may cause damage to the gear module.
- The auto cleaner will not work if the filter pump is not operating.
- Operating pool water temperature requirement: 25~45 °C (77~113 °F). Exceeding this range will reduce the performance and life expectancy of the Auto Cleaner.
Before setup, make sure that:
- The filter pump is turned off, and disconnect the power cord from the electrical outlet.
- The pool is free from objects that will hinder the auto cleaner free movements by removing the ladder, surface skimmer, water sprayer (if applicable), floats or any other objects from the pool.
- The pool wall or floor are free from algae. Algae will block the flow of water into the cleaner and hinder the auto cleaner movement. See your local pool supply specialist for algae treatment solutions.
- From inside of the pool, unscrew the nozzle from the water return connector. See Fig. 1.
NOTE: The device operates from the pressure side of the pool water return cnnector (water flowing back from the filter pump to the pool).
- Check your filtration system pump flow rate and adjust the pressure release valve (7) button as follow:
- For pump flow rate between 2100-2800 gph (7950-10600 L/h): press button for “DOWN” position.
- For pump flow rate greater than 2800 gph (10600 L/h) but not exceeding 3500 gph (13248 L/h): button shall be in the “UP” position. If the button is already in the “DOWN” position, press button once to return it to the “UP” position. See Fig. 2.

- Make sure the micro-screen (6) is inside the pressure release valve (7), then screw the pressure release valve set to the threaded strainer connector, from inside of the pool. See Fig. 3.
NOTE: For Intex small pools with 1-1/4 (32mm) inlet strainer connector fitting, screw the inlet connector adaptor (14) to the inlet strainer connector first, then screw the pressure release valve set to the adaptor (14).
- Push in and screw one end of hose with the collar nut (9) to the swivel joint (8) first, then screw the swivel joint (8) to the pressure release valve (7). See Fig. 4.

- Extend the hose (10) to the furthest opposite side of the pool wall or to the furthest corner of the pool so that it overhangs the wall, and then cut the excess hose with a scissor. See Fig. 5.
Note: Unscrew (clockwise direction) the hose collar nut (9) from the other end of the hose (10) before cutting the excess hose. Screw (counter-clockwise direction) the hose collar nut (9) back onto the main hose (10) after cutting.
- Brush assembly. See Fig. 6.
NOTE: Remove the brushes from underneath the device when vacuuming large debris or leaves on the pool floor.
- From outside of the pool, connect the other end of hose with the hose collar nut (9) to the auto pool cleaner water inlet. Vertically insert the hose collar nut (9) into the water inlet, while pushing down the hose collar nut, turn the hose collar nut clockwise to tighten the hose. To remove the hose, while pushing down the hose collar nut, turn the collar nut counter-clockwise. See Fig. 7.

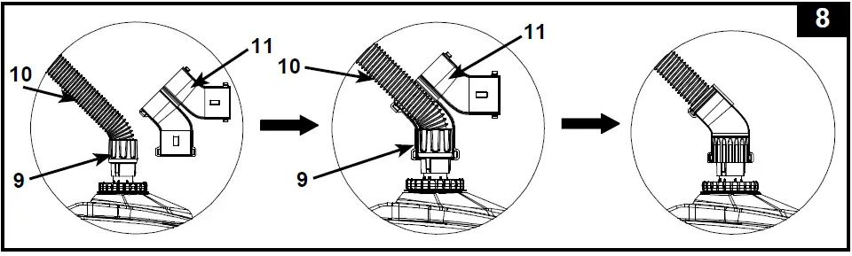
- Open the hose elbow (11) in half, bend the hose (10) at an angle next to the collar nut (9) attached to the auto cleaner, wrap the hose elbow over the hose and collar nut, and close the hose elbow. Make sure the hose elbow is securely locked. See Fig. 8.

- Hold the cleaner vertically. Slowly lower the device into the water to evacuate the air inside the cleaner and the cleaner will gradually sink to the bottom of the pool floor. Stretch out the hose by slowly pulling the auto cleaner across the pool to the opposite side. Make sure the hose is stretched out in order to prevent any entanglement. See Fig. 9.

- Turn on the filter pump and make sure water is flowing through the micro-screen (6) and the pressure release valve (7). The auto cleaner is now moving and vacuuming the pool floor and pool wall. See Fig. 10.
Note: The cartridge filter pump or sand filter pump will clean the pool water. It’s essential to clean or replace the filter cartridge or backwash sand media frequently to keep the water clean. If the Auto Cleaner is paired up with a sand filter pump, the system flow will diminish and the pressure will rise as indicated by the sand filter pump pressure gauge reading (from green to yellow zone), this is normal. Disconnect the Auto Cleaner from the pool and check if the sand filter pressure gauge reading will drop back to the green zone. Refer to the sand filter pump manual for more details.
IMPORTANT NOTE
If the auto cleaner starts to stir the debris, sediments on the pool floor, you will require to clean or replace the filter cartridge more frequently as the fine sediments are retained by the cartridge. In the case of a sand filter pump, backwash the sand media more frequently. Also clean the debris net (3) frequently.
DEBRIS NET CLEANING
- Make sure the filter pump is turned off, and disconnect the power cord from the electrical outlet.
- Lift the auto cleaner’s hose slowly then hold the auto cleaner up with one hand. See Fig. 11-12.
CAUTION: Do not pull the hose directly which could damage the auto cleaner hose connection fitting. - Once all the water has been released from the auto cleaner, hold the rim with one hand and turn the hose collar nut (9) counter-clockwise to remove the hose from the auto cleaner. See Fig. 13.
- Remove the auto cleaner from the pool and place it on the ground. See Fig. 14.

- Push the left and right levers to the unlock position. See Fig. 15.

- Remove the debris net (3) from the cleaner base (4). If debris is on the debris net and cleaner base, use a garden hose to flush the debris off. See Fig. 16.

- Reassemble auto cleaner debris net and base by reversing previous steps.
TROUBLESHOOTING GUIDE
| TROUBLE | SOLUTION |
| AUTO CLEANER DOESN’T MOVE | • Ensure the filter pump is operating. Lift the auto cleaner out of the water and check if water is flowing out from the exhaust port located on the front or rear of the device. The flow of water shall alternate between the front and rear exhaust ports, and this cycle is about 30-100 seconds. • If there is no water flowing out from either the front or rear ports, check that the auto cleaner hose is correctly attached to the pool “water return connector” (water returning from pump to the pool), see “Setup” section. • Make sure the pool floor is flat and level, any wrinkles, folds, bulges, pits, will hinder the free movement of the auto cleaner. |
| MOVEMENT IS VERY SLOW | • Check and clean the debris net and micro-screen. • Clean or replace the filter pump cartridge. • If using a sand filter, ensure the sand media is clean by backwashing it. See sand filter owner’s manual. • The auto pool cleaner running speed is directly related to the filtration system flow rate. Change the filtration system to a higher pump flow rate. |
| CLEANER FLOATS FROM THE BOTTOM OF THE POOL | • Evacuate all the air in the hose and auto cleaner, see “Setup” section. • Pool water too dirty. Ensure the pool water chemistry is balanced. If the pool water is green, brown or black, adjust the chlorine and pH level. See pool owner’s manual. • Check if the pump flow rate is within the specified range 1600-3500 gph (6056-13248 L/h). Check if the pressure release valve “button” is in the correct setting according to the filtration system pump flow rate, see “Setup” section. |
| CAN NOT PICK UP THE LEAVES ON POOL FLOOR | • If the size of the leaves at the bottom of the pool is larger than the size of the suction outlet, use a skimmer net before using the auto cleaner. • If the size of the leaves at the bottom of the pool is smaller than the size of the suction outlet, remove the brush set (12 & 13) of the cleaner for better effect. See “Setup” for details. • If there are too many leaves at the bottom of the pool, empty the dirt from the cleaner base more frequently. |
| TROUBLE | SOLUTION |
| HOSE IS TANGLED | • A dirty filter screen will reduce the force of the auto cleaner and therefore unable to pull the hose. Check and clean the debris net (3), micro-screen (6) and the filter cartridge more frequently. • Make sure the pool water temperature is within the recommended range: 25-45 ºC (77~113 ºF). • Make sure the hose elbow is closed and securely locked over the hose and collar nut. • If the hose is coiled in a circle, it will not affect the auto cleaner movement around the pool. This is normal. • If the hose is tangled or twisted, this will prevent the auto cleaner reaching the farthest end of the pool. Stretch out the hose by slowly pulling the auto cleaner across the pool to the opposite side. Make sure the hose is stretched out before operating the auto cleaner. • Alternatively disconnect the hose from the pool and the auto cleaner, stretch out the hose on a flat surface and let it warm up under the sun (10-24 hours) before using it. • When not in use, clean the hose inside and outside with a garden hose, air dry thoroughly, coil the hose loosely and store indoors in a dry and cool place. |
| SEDIMENTS ARE STIRRED UP FROM THE POOL FLOOR | • As the auto cleaner move around, fine sediments on the pool floor will be stirred up causing the water to be cloudy. This is normal. It helps the filter pump to clean the pool water. • Run the filtration system and the auto cleaner longer. The filtration system will filter out the fine sediments suspended in the water, while the auto cleaner will pick up the heavy debris on the floor. Check and clean the filtration media and the debris net more frequently. |
| DEBRIS NET IS CLOGGED AND AUTO CLEANER IS SHUT OFF | • Present of algae in the pool. Treat the pool water with algaecide and wait for the algae to shed before using the auto cleaner. See your local pool supply specialist for algae treatment solutions. Check and clean the debris net more frequently. • Too much algae or dust in the water, clean the debris net, filter cartridge or backwash the sand media more frequently during the initial stage until a noticeable water clarity is observed. • Maintain proper pool water chemistry, see pool owner’s manual or check with your local pool supply specialist for more details. |
| IMPORTANT | |
| If you continue to experience difficulty, please contact our Consumer Service Department for assistance. See separate “Authorized Service Centers” sheet. | |
LONG TERM STORAGE
- Make sure the filter pump is turned off, and disconnect the power cord from the electrical outlet.
- Using the Set Up instructions in reverse, disassemble the auto cleaner.
- Clean and air dry all the accessories and parts thoroughly.
- Loosely roll up and avoid twisting the hose during storage. Do not put heavy objects on top of the hose.
- Remove the brushes (13) and keep them flat and straight during storage.
- The original packaging can be used for storage. Store in a dry, cool storage location.
GENERAL AQUATIC SAFETY
Water recreation is both fun and therapeutic. However, it involves inherent risks of injury and death. To reduce your risk of injury, read and follow all product, package and package insert warnings and instructions. Remember, however, that product warnings, instructions and safety guidelines cover some common risks of water recreation, but do not cover all risks and or dangers. For additional safeguards, also familiarize yourself with the following general guidelines as well as guidelines provided by nationally recognized Safety Organizations:
- Demand constant supervision. A competent adult should be appointed as a “lifeguard” or water watcher, especially when children are in and around the pool.
- Learn to swim.
- Take the time to learn CPR and first aid.
- Instruct anyone who is supervising pool users about potential pool hazards and about the use of protective devices such as locked doors, barriers, etc.
- Instruct all pool users, including children what to do in case of an emergency.
- Always use common sense and good judgement when enjoying any water activity.
- Supervise, supervise, supervise.
Limited Warranty
Your ZX100 Automatic Pool Cleaner has been manufactured using the highest quality materials and workmanship. All Intex products have been inspected and found free of defects prior to leaving the factory. This Limited Warranty applies to the ZX100 Automatic Pool Cleaner only. This limited warranty is in addition to, and not a substitute for, your legal rights and remedies. To the extent that this warranty is inconsistent with any of your legal rights, they take priority. For example, consumer laws across the European Union provide statutory warranty rights in addition to the coverage you receive from this limited warranty: for information on EU-wide consumer laws, please visit the European Consumer Center website at http://ec.europa.eu/consumers/ecc/contact_en/htm. The provisions of this Limited Warranty apply only to the original purchaser and are not transferable. This Limited Warranty is valid for the period noted below from the date of the initial retail purchase. Keep your original sales receipt with this document, as proof of purchase will be required and must accompany warranty claims or the Limited Warranty will be invalid.
ZX100 Automatic Pool Cleaner Warranty “ 1 Year Hose Warranty “ 180 Days
If you find a manufacturing defect in the ZX100 Automatic Pool Cleaner during the warranty period, please contact the appropriate Intex Service Center listed in the separate “Authorized Service Centers” sheet. If the item is returned as directed by the Intex Service Center, the Service Center will inspect the item and determine the validity of the claim. If the item is covered by the provisions of the warranty, the item will be repaired or replaced, with the same or comparable item (at Intex’s choice) at no charge to you.
Other than this warranty, and other legal rights in your country, no further warranties are implied. To the extent possibly in your country, in no event shall Intex be liable to you or any third party for direct or consequential damages arising out of the use of your ZX100 Automatic Pool Cleaner, or Intex or its agents’ and employees’ actions (including the manufacture of the product). If your country does not allow the exclusion or limitation of incidental or consequential damages, this limitation or exclusion does not apply to you. You should note that this limited warranty does not apply in the following circumstances:
- If the ZX100 Automatic Pool Cleaner is subject to negligence, abnormal use or application, accident, improper operation, improper voltage or current contrary to operating instructions, improper maintenance or storage;
- If the ZX100 Automatic Pool Cleaner is subject to damage by circumstances beyond Intex’s control, including but not limited to, ordinary wear and tear and damage caused by exposure to fire, flood, freezing, rain, or other external environmental forces;
- To parts and components not sold by Intex; and/or.
- To unauthorized alterations, repairs or disassembly to the ZX100 Automatic Pool Cleaner by anyone other than Intex Service Center personnel.
Injury or damage to any property or person is not covered by this warranty. Read the owner’s manual carefully and follow all instructions regarding proper operation and maintenance of your ZX100 Automatic Pool Cleaner. Always inspect your product prior to use. This limited warranty will be void if use instructions are not followed.
































