cardo PACKTALK Outdoor Sports Communicator

Contents hide
Package Content


Installation Video | ![]() |
INSTALL THE SPEAKERS
Option 1: In Ear Pockets

Place speakers into ear pockets
Option 2: Velcro on Inner Padding



SET WIRE ON HELMET

Position wire under padding and place stickers
ATTACH THE MICROPHONE


MOUNT THE CRADLE
Option 1




Option 2




INSERT UNIT


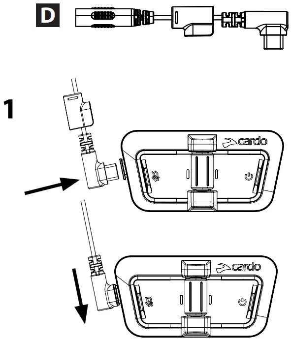
CONNECT AUDIO KIT


REMOVE THE UNIT


OPTIONAL: CONNECT YOUR OWN HEADPHONES




cardosystems.com/outdoor
cardosystems.com/support
![]()
Follow Cardo Outdoor
Download:
Cardo Connect App
![]() | ![]() |
![]() |




















