Armour Home Electronics M20BT HD Wireless Music System

Introduction
Thank you for purchasing the Q Acoustics M20 HD Wireless Music System.
This manual is intended to take you through setup and installation and will help provide optimum performance from the product.
Please read the instructions, important safety information and warnings carefully before installation and use, to ensure the safe and satisfactory operation of this product.
The Q Acoustics M20 system combines exceptional stereo sound performance with convenient connectivity and integrated amplification.
Package contents

Feature summary
Wired connectivity
- Analogue audio input – Stereo phono sockets or 3.5mm stereo jack allow a connection to an external analogue audio source such as a CD player
- Optical digital input – Allows connection to an external digital audio source such as a TV
- Speaker output – Stereo 4mm sockets, allowing connection from the amplified speaker to the passive speaker
- USB – A USB type B socket, allowing connection to a computer device
- Sub Out – A Phono subwoofer output for connection to an external subwoofer.
Wireless connectivity
- Bluetooth® – An international wireless connection used for streaming audio from all compatible devices.
- AVRCP – A Bluetooth control protocol that synchronises your device control of Volume and Mute for easy integration of our Q Acoustics speaker.
Acoustic
Left / Right position switch – Enables the amplified speaker to be placed as the left or right speaker of the pair, whichever is closest to a mains outlet. Boundary control switch – User control of EQ setting for best acoustic performance. This can be changed dependent upon speaker position, mounting, or user preference.
Remote batteries
Fitting or replacing batteries
- Slide the battery cover off the remote control in the direction shown.
- Lift the cover off the remote control.
- Remove the expired batteries (if necessary).
- Fit new batteries observing polarity as shown.
When replacing the batteries, use only the same AAA type. Alkaline batteries are recommended. Other types of battery may leak and cause damage.
Battery disposal
Dispose of used batteries with regard to the recycling regulations in your area. Do NOT short circuit batteries or throw them into water, the general rubbish or in a fire.

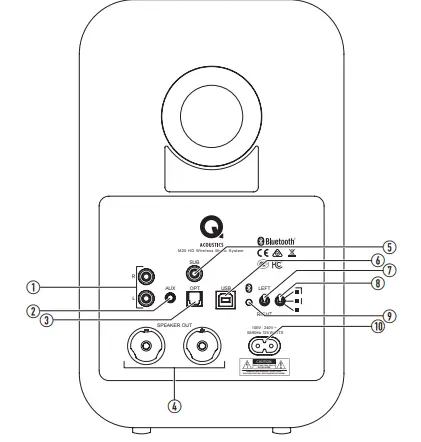
Speaker rear connections and controls

- Analog phono –
Connect analog audio source - Analog 3.5mm jack –
Connect analog audio source (disables phono sockets) - Optical Toslink –
Connect digital optical audio source - Speaker out –
Connect passive speaker - Sub –
Connect optional external subwoofer - USB –
Connect computer audio source - Speaker position –
Select left or right position in the room from the listening position - Boundary condition –
Select for corner , wall , free space - Bluetooth –
Press to enter BT pairing mode - AC Power –
Connect to mains power 100v – 240v
Speaker controls

- Press to decrease volume by a single step Press and hold to decrease volume continuously
- Standby / Source
Press to switch on and change source Long press to enter standby Very long press when in standby will enter deep standby - Press to increase volume by a single step Press and hold to increase volume continuously
Remote control

- Puts system into standby, turns on to optical input
- Mutes / unmutes the speakers
- Pauses / plays the audio only on Bluetooth input
- Short press decreases the volume by one step
Press and hold will continuously decrease the volume - Short press increases the volume by one step
Press and hold will continuously increase the volume - Skips a track back only on Bluetooth input
- Skips a track forward only on Bluetooth input
- BLU
Selects Bluetooth input, sets system into pairing mode with long press - OPT
Selects optical input - ANA
Selects analogue input - . USB
Selects USB input
Operation
Connecting between the speakers
Firstly, connect the supplied speaker cable between the amplified and passive speaker. The wires are coloured differently to identify + and – polarity. Ensure you always use the gold wire for + and silver wire for – at both ends.

Speaker positioning and assembly
Simply place the speakers either side of the main listening position on an appropriate flat surface, ideally about 2.0 – 4.0m (2-4 yards) apart. Alternatively you can use M20 with the Q Acoustic 3000i speaker stands or 3000WB wall brackets (available separately), follow the supplied instructions with the stands. Once the speakers are assembled and put into position, the correct configuration can be made using the switches on the rear of the amplified speaker.
- Set the Left / Right Speaker Position switch. The switch sets left or right channel for the amplified speaker.
- Set the boundary switch to the correct position.
Select if the speakers are standing in corners of the room.
Select if the speakers are standing close to a wall or on a shelf.
Select if the speakers are standing away from walls or corners on stands.
Port damping
The M20 speakers are rear ported and designed to work best with some space behind them i.e. 200mm or so away from a wall. If you position your speakers close to a wall / corner then the foam plugs should be inserted into the rear ports or there could be too much bass.
Ensure the plugs are fitted snugly into the port without inserting them too far.

You will find the level of bass is reduced but definition and bass extension is increased. Experiment to see what you prefer and try making small changes to the position of the speaker to optimise the final result.
Powering on
- Connect the power cable to the amplified speaker and plug into a mains outlet.
Once powered up the standby LED will be on red. - To switch the speaker to or from Standby, press on the remote or hold down on the control panel.
Auto standby
The M20 system includes an energy saving auto standby feature. If no music has played for twenty minutes the system will automatically set to Standby.
Playing audio using Bluetooth
You can use many Bluetooth devices to play audio through the M20 system. Firstly you will have to pair your Bluetooth device with the speaker using the following instructions.
- Press and hold the Bluetooth input button on the remote control until the blue LED flashes on the speaker. Alternatively, press the Bluetooth button on the back of the amplified speaker, the LED will flash blue.
- Select the Bluetooth settings on your device, and look for Q M20 HD in devices.
- Select the M20 HD device in the new Bluetooth device list. Once connected, the LED will stop flashing and remain on blue.
- You can now play audio from your device.
Once you have paired a device, you can simply connect to the M20 next time which will turn on and select the Bluetooth input. When playing audio, you can use the device, the remote control or the buttons on the amplified speaker to alter the volume. You can also use the remote control to play, pause and skip tracks.
Clearing the Bluetooth pairing list
You can clear all the devices from the Bluetooth pairing list memory if required by using the following steps:
- Put the speakers into Bluetooth pairing mode with a long press of the BLU source button on the remote control, the LED will be flashing Blue.
- Press and hold the BLU source button on the remote control again, until the LED goes out and then flashes three times.
The Bluetooth pairing list is now cleared from the memory and devices must pair again in order to connect.
Playing audio using optical digital
Use a standard TOSLINK optical cable to connect your digital audio source to the amplified M20 speaker.
Press the OPT button on the remote control or press the button on the speaker until the LED is on white. You can use the remote control or the buttons on the amplified speaker to alter the volume.
Playing audio using analogue
Use the phono sockets or the 3.5mm stereo jack socket to connect your analogue audio source. Press the ANA button on the remote control or press the button on the speaker until the LED is on green. You can use the remote control or the buttons on the amplified speaker to alter the volume.
Playing audio using USB
Connect a USB A-B type cable from your computer device to the M20 amplified speaker.
Press the USB button on the remote control or press the button on the speaker until the LED is on yellow.
You will then need to download the correct USB driver from the Q Acoustics website here:
https://desk.zoho.com/port a l /armourhomeelectronics/en/kb/acoustics
Save the file on your computer, then follow these instructions for Windows 10
- Open ‘Device manager’
- Select ‘USB2.0 High-Speed True HD Audio’ in ‘Sound, video and game controllers’
- Select ‘Driver’ and then ‘Update Driver’
- Select ‘Browse my computer for drivers, then browse to the downloaded folder and select
- Windows will then update the driver
- Once finished, you can select ‘SPDIF (USB2.0 High-Speed True HD Audio)’ from the speaker selection.
- Open your music playing application and enjoy. You can use the remote control or the buttons on the amplified speaker to alter the volume.
You can use the remote control or the buttons on the amplified speaker to alter the volume.
LED states
| Red | System is in standby |
| Dark red | System is in deep standby |
| White | System is playing optical source |
| White, flashing | Adjusting volume |
| White, double flash every 3 seconds | The optical input is receiving multichannel or dolby digital audio which cannot be played |
| Blue | System is playing Bluetooth source |
| Blue flashing | Bluetooth pairing mode |
| Blue, triple flash | The Bluetooth pairing list has been cleared |
| Green | System is playing analogue source |
| Yellow | System is playing USB source |
| Source colour (white, blue, green, yellow) pulsing | Muted |
Specification
Amplifier performance
- Power output 2 x 44W//4Ω
- THD (at rated power) <1%
- Freq resp (DSP set flat) 20Hz to 20kHz ±0.5dB
- S/N ratio (aux, A-Wtd, max vol, ref 1W) >-94dB
- Analogue input sensitivity (for 44W) 480mV
- Analog input overload 2.35V
- Minijack input sensitivity (for 44W) 290mV
- Minijack input overload 1.4V
- Sub out (100Hz, at 44W main channels)1.4V
- Optical in Toslink
- Optical in sample rate range ??? k
- USB in sample rate range ??? k
Speakers
- Enclosure type 2-way reflex
- Mid-range driver 125mm (5”)
- Tweeter 20mm (25/32”)
- Crossover frequency 2.4kHz
- Frequency response ???
Power
- Supply voltage 100V – 240V, 50-60Hz
- Maximum consumption ??W
- Standby consumption <0.5 Watts
Bluetooth
- Bluetooth specification V????
- Music enhancements aptX HD®, AVRCP
Dimensions
- (W x H x D) 170mm x 279mm x 296mm 611/16” x 11” x 115/8”
Weight
- Amplified speaker 5.5kg 12lb 2oz
- Passive speaker 5.1kg 11lb 4 oz
Safety Information
Important information – please read carefully
CAUTION!
RISK OF ELECTRIC SHOCK DO NOT OPEN TO REDUCE THE RISK OF ELECTRIC SHOCK DO NOT REMOVE COVER (OR BACK) NO USER-REMOVEABLE PARTS INSIDE
REFER SERVICING TO QUALIFIED PERSONNEL
This symbol indicates that there are important operating and maintenance instructions in the literature accompanying this unit.
This symbol indicates that dangerous voltage constituting a risk of electric shock is present within this unit.
This equipment is a Class II or double insulated electrical appliance. It has been designed in such a way that it does not require a safety connection to electrical earth.
Read and keep these instructions. Heed all warnings and follow all instructions.
- Do not use this apparatus near water. Clean only with a dry soft cloth.
- Do not block any ventilation openings. Install in accordance with the manufacturer’s instructions.
- Do not install near any heat sources such as radiators, heat registers, stoves, or other apparatus (including amplifiers) that produce heat.
- Protect the mains power cord from being walked on or pinched, particularly at plugs, convenience receptacles, and the point where they exit from the apparatus.
- Use only attachments/accessories specified by the manufacturer.
- Use only with the cart, stand, tripod, bracket, or table specified by the manufacturer, or sold with the apparatus.
- When a cart is used, use caution when moving the cart/apparatus combination to avoid injury from tip-over.
- Unplug this unit during lightning storms or when unused for long periods of time.
- Do not defeat the safety purpose of the polarized or grounding type plug. A polarized plug has two blades with one wider than the other. A grounding type plug has two blades and a third grounding prong. The wider blade or the third prong are provided for your safety. If the provided plug does not fit into your outlet, consult an electrician for replacement of the obsolete outlet.
- No naked flame sources such as candles should be placed on the product.
- Batteries (a battery pack or installed batteries) shall not be subject to excessive heat such as sunshine, fire or the like.
- Take note of all warnings on the appliance, under no circumstances disassemble the unit or remove covers to prevent the risk of fire or electrical shock.
- The mains operating voltage of this unit is marked on a rating plate on the back of the unit. Before connecting to mains power, check that the voltage is the same as your mains supply.
- Caution: Changes or modifications not expressly approved by the manufacturer could void the user’s authority to operate this device.
- Caution: Usage of controls or adjustments or performance of procedures other than those specified herein may result in hazardous exposure.
- Warning: The AC Input connector is used as a safety disconnect device. It must be easily accessible after installation.
- Warning: To reduce the risk of fire or electrical shock, do not expose this product to rain or moisture. The product must not be exposed to dripping and splashing and no object filled with liquids such as a vase of flowers should be placed on the product.
- To avoid the danger of suffocation, keep all polythene bags and packaging away from babies and children.
- Third parties: In the unlikely event that you pass this product on to a third party, include these operating instructions with the product.
Correct disposal of this product
This marking indicates that this product should not be disposed of with other household wastes throughout the EU. To prevent possible harm to the environment or human health from uncontrolled waste
disposal, recycle it responsibly to promote the sustainable reuse of material resources. To return your used device, please use the return and collection systems or contact the retailer where the product was purchased. They can take this product for environmentally safe recycling.
FCC Statement (For US Customers)
This device complies with Part 15 of the FCC Rules. Operation is subject to the following two conditions:
- this device may not cause harmful interference, and
- this device must accept any interference received, including interference that may cause undesired operation.
This equipment has been tested and found to comply with the limits for a Class B digital device, pursuant to part 15 of the FCC Rules. These limits are designed to provide reasonable protection against harmful interference in a residential installation. This equipment generates, uses and can radiate radio frequency energy and if not installed and used in accordance with the instruction manual, may cause harmful interference to radio communications. However, there is no guarantee that interference will not occur in a particular installation. If this equipment does cause harmful interference to radio or television reception, which can be determined by turning the equipment off and on, the user is encouraged to try to correct the interference by one or more of the following measures:
- Reorient or relocate the receiving antenna.
- Increase the separation between equipment and receiver.
- Connect the equipment into an outlet on a circuit different from that to which the receiver is connected.
- Consult the dealer or an experienced radio/TV technician for help.
CAUTION!
Any changes or modifications made to this device that are not expressly approved by the manufacturer may void the user’s authority to operate the equipment.
This equipment complies with FCC radiation exposure li mits set forth for an uncontrolled environment.
This equipment should be installed and operated with minimum distance 20cm between the radiator & your body.
Industry Canada Statement (for Canadian Customers)
CAN ICES-3 (B)/NMB-3(B)
The device meets the exemption from the routine evaluation limits set out in section 2.5 of RSS 102 and is in full compliance with RSS-102 RF. Users can obtain information on RF exposure and compliance from Industry Canada.
This device complies with Industry Canada licence-exempt RSS standard(s). Operation is subject to the following two conditions:
- This device may not cause harmful interference, and
- This device must accept any interference received, including interference that may cause undesired operation.



















