steinel IR Quattro HD-2 COM1 Concealed Wiring Instruction Manual
About this document
- Please read carefully and keep in a safe place.
- Under copyright.
Reproduction either in whole or in part only with our consent. - Subject to change in the interest of technical progress.
Symbols
- Hazard warning!
- Reference to other information in the document.
General safety precautions
Disconnect the power supply before attempting any work on the sensor.
- During installation, the electric power cable being connected must not be live. Therefore, switch off the power first and use a voltage tester to make sure the wiring is off-circuit.
- Installing the sensor involves work on the mains power supply. This work must therefore be carried out professionally in accordance with national wiring regulations and electrical operating conditions.
- Only use genuine replacement parts.
- Repairs may only be made by specialist workshops.
- Terminal B1/B0 is a switching contact for low-energy circuits, no more than 1 A. This must be protected by a fuse of the appropriate rating.
IR Quattro HD-2 COM1/COM2/BT IPD
Proper use
- Motion sensor for ceiling mounting indoors.
The IR Quattro HD-2 provides high-resolution, highly sensitive motion detection. The square detection zone can be set with absolute precision. The sensor is particularly suitable for offices, classrooms and large industrial spaces.
Interface types
- COM1: relay 1
- COM2: relay 1 and relay 2 (for HVAC: heating/ventilation/air-conditioning)
- BT IPD: no relay/no control
The COM1 and COM2 versions switch loads ON and OFF. Signals are processed and sent out.
The BT IPD version can be interconnected with other sensors via Bluetooth to extend the detection zone. It passes on the detected signals (presence and light level) via Bluetooth. This is controlled in the sensor interconnected with other interface.
- UP: concealed version
- AP: surface-mounted version
Package contents (Fig. 3.1, Fig. 3.4)



Product dimensions (Fig. 3.2, Fig. 3.5)
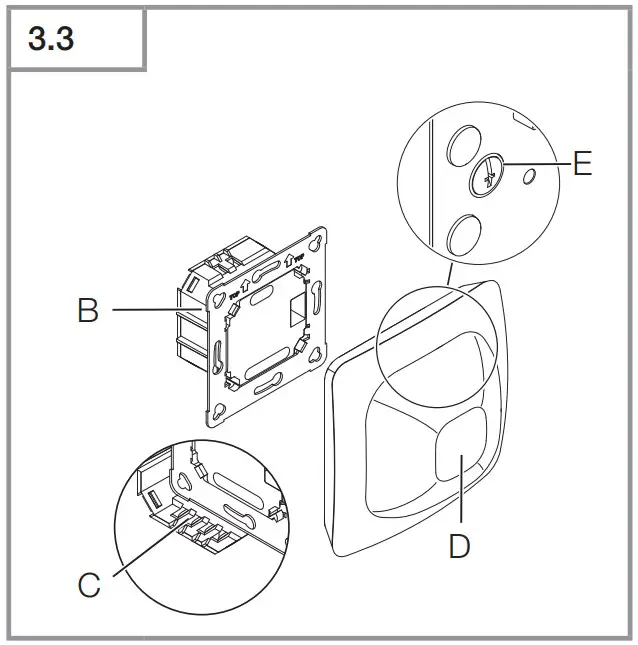
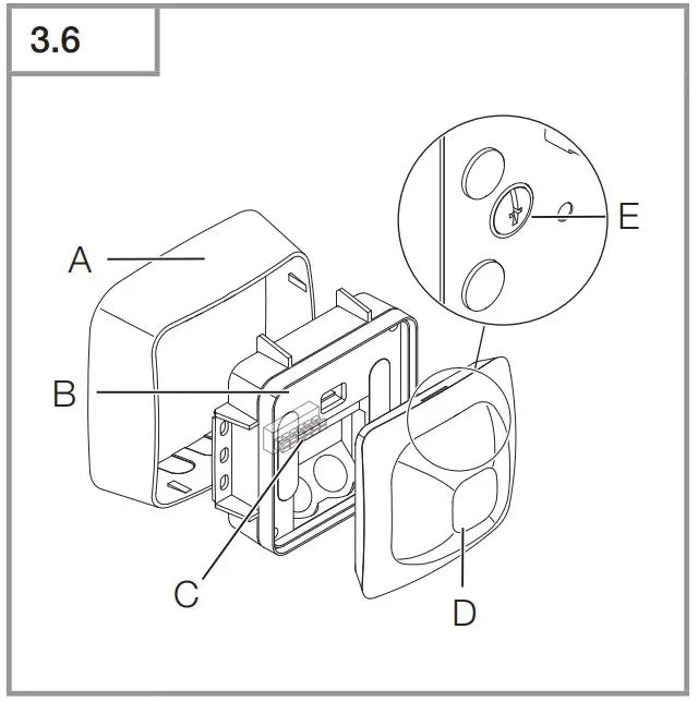
Product components (Fig. 3.3, Fig. 3.6)
- A Surface-mounted surround
- B Load module
- C Connecting terminal
- D Sensor module
- E Reach adjustment
Detection zone (Fig. 3.7)
Electrical connection
The mains supply lead is a multiple-core cable (max. conductor Ø 2.5 mm):
- L = Phase conductor (usually black or brown)
- N = Neutral conductor (usually blue)
- PE = Protective-earth conductor (usually green/yellow)
- ↓ = Switched phase conductor (usually black, brown or grey)
- S = Switch
- B0/B1 = Floating relay for controlling HVAC
Cable length between sensor and button < 50 m.
Important: Incorrectly wired connections will produce a short circuit later on in the product or fuse box. In this case, you must identify the individual cables and re-connect them.
- Connect the mains power supply lead COM1 (Fig. 4.1/4.4/4.7)



- Connect the mains power supply lead COM2 (Fig. 4.2/4.5/4.8)



- Connect the mains power supply lead BT IPD (Fig. 4.3/4.6/4.9)



Installation
- Check all components for damage.
- Do not use the product if it is damaged.
- Select an appropriate mounting location, taking the reach and presence detection into consideration (Fig. 3.7)
Mounting procedure
- Switch off power supply. (Fig. 4.1/4.2/4.3)
Concealed mounting
- Connect to mains power supply. (Fig. 5.1)

- Fit load module and screw into place. (Fig. 5.2)

- Fit magnetic sensor module. (Fig. 5.3)
- Switch ON power supply. (Fig. 5.3)

Surface mounting
- Mark drill holes and drill. (Fig. 5.4)

- Screw load module into place. (Fig. 5.5)

- Connect to mains power supply. (Fig. 5.6)

- Fit surface-mounted surround. (Fig. 5.7)

- Fit magnetic sensor module. (Fig. 5.8)
- Switch ON power supply. (Fig. 5.8)

- Make settings.
(➜ „6. Function and settings“)
Function and settings
Factory settings
The factory settings are activated when the presence detector is put into operation for the first time as well as after resetting by the app.
The following factory settings are provided:
Sensitivity:
- Sensitivity A: 100%
- Sensitivity B: 100%
- Sensitivity C: 100%
- Sensitivity D: 100%
COM1/COM2 only:
- Twilight level: 500 lux
- Time setting for COM1: 5 min
- Time setting for HVAC: 15 min
- Fully/semi-automatic mode: fully automatic
- Switch-ON delays for HVAC: OFF
Setting detection
The detection zone can be also set via the potentiometer (E) on the back of the sensor module in accordance with the table. (Fig. 3.7/6.1)
The sensitivity of the four pyros (A to D) can be set via the app.
Bluetooth grouping
The sensors can be operated as individual sensors or as a group. The group is interconnected via wireless communication.
The COM1 and COM2 versions additionally provide the following functions:
Twilight setting
The chosen response threshold can be set from approx. 2 to 2,000 lux.
Daytime operation
When movement is detected, the sensor switches the load ON irrespective of ambient brightness.
Teach-IN
The Teach-IN function is to be selected at the level of light at which you want the sensor to respond to movement from now on. The level of ambient brightness measured in this way will be saved after 10 seconds. The load is deactivated during this period.
Time setting
The chosen stay-ON time can be set from a minimum of 5 seconds to a maximum of 60 minutes. If no movement is detected, the sensor switches OFF after the stay-ON time expires.
Neighbouring-light function
The neighbouring-light function can be activated and deactivated via the Steinel Connect app. This function assigns the neighbouring groups to the active sensor group. The group responds to activation signals from the neighbouring group assigned to it and switches the light ON as defined in the settings.
Operating mode
Semi-automatic mode
The light now only switches OFF automatically. Light is switched ON manually.
Light must be requested using the button and stays ON for the time set.
Fully automatic mode
The light automatically switches ON and OFF in relation to light level when someone is present. Light can be switched ON and OFF manually at any time.
This temporarily interrupts the automatic switching function.
Presentation mode
If light is switched OFF via a push-button, the sensor activates the presentation mode. The load remains switched OFF as long as movement is being detected. As soon as movement is no longer being detected and the stay-ON time has elapsed, the sensor returns to normal sensor mode.
Button input
Push-buttons can be integrated and configured via the STEINEL Connect app. In addition to input S, further push-buttons can be assigned to the sensor from the BT Mesh network. A function can also be assigned to each of these buttons. A pushbutton with the “ON / OFF” function provides the option of switching lighting ON and OFF by hand. However, the “ON” function cannot be used for switching light OFF again. In this case, the stay-ON time is re-started each time the button is pressed. The “OFF” function can only be used to switch lighting OFF manually. “ON x min” and “OFF x min” functions are also available that can be used for switching lighting ON or OFF for a defined period of time. A pushbutton is required for operating the sensor in semi-automatic mode.
Pulse mode
The pulse function activates the output for 2 seconds (E.g. for an automatic staircase lighting time switch). The sensor will then be in a dead time for 8 seconds.
Steinel Connect App
To read off the sensor via smartphone or tablet, you must download the Steinel Connect app from your app store. You will need a Bluetooth-capable smartphone or tablet.
Bluetooth interconnection (Bluetooth Mesh)
The sensor switch complies with the Bluetooth Mesh standard. It can be interconnected with all products complying with the Bluetooth Mesh standard.
The sensor switch is configured via the Steinel Connect app. Appropriate network keys are saved on a smartphone or tablet the first time a connection is made between the sensor switch and
Steinel Connect app. The key rules out any unauthorised access to the sensor.
The network key must be shared for access via another smartphone or tablet.
LED function
- Starting up: The LED flashes white slowly for 10 seconds
- Initialisation: The LED lights up blue permanently
- Normal mode: LED OFF
- Identification: The LED flashes blue slowly
- Error: The LED flashes red rapidly
- Teach-IN successfully completed:
The LED lights up green for one second - No application available: The lights up in cyan permanently
- Movement test mode:
The LED flashes green rapidly - Firmware update: The LED flashes cyan rapidly
Maintenance and care
The tool requires no maintenance.
Hazard from electrical power.
Contact between water and live parts can result in electric shock, burns or death.
- Only clean tool in a dry state.
Risk of damage to property!
Using the wrong cleaning product can damage the light.
- Clean tool with a moist cloth without detergent.
Disposal
Electrical and electronic equipment, accessories and packaging must be recycled in an environmentally compatible manner.
Do not dispose of electrical and electronic equipment as domestic waste.
EU countries only
Under the current European Directive on Waste Electrical and Electronic Equipment and its implementation in national law, electrical and electronic equipment no longer suitable for use must be collected separately and recycled in an environmentally compatible manner.
Conformity
STEINEL Vertrieb GmbH hereby declares that the IR Quattro HD-2 COM1/COM2/ BT IPD radio equipment type conforms to Directive 2014/53/EU. The full wording of the EU Declaration of Conformity is available for downloading from the following Internet address: www.steinel.de
Manufacturer’s Warranty
As purchaser, you are entitled to your statutory rights against the vendor. If these rights exist in your country, they are neither curtailed nor restricted by our Warranty Declaration. We guarantee that your STEINEL Professional sensor product will remain in perfect condition and proper working order for a period of 5 years. We guarantee that this product is free from material-, manufacturing- and design flaws. In addition, we guarantee that all electronic components and cables function in the proper manner and that all materials used and their surfaces are without defects.
Making Claims
If you wish to make a claim, please send your product complete and carriage paid with the original receipt of purchase, which must show the date of purchase and product designation, either to your retailer or contact us at STEINEL (UK) Limited, 25 Manasty Road, Axis Park, Orton Southgate, Peterborough, PE2 6UP, for a returns number. For this reason, we recommend that you keep your receipt of purchase in a safe place until the warranty period expires. STEINEL shall assume no liability for the costs or risks involved in returning a product. For information on making claims under the terms of the warranty, please go to
www.steinel-professional.de/garantie
If you have a warranty claim or would like to ask any question regarding your product, you are welcome to call us at any time on our Service Hotline 01733 366700.
Technische Daten
| Dimensions | IR-Quattro HD UP: 103 × 103 × 69 | |
| (L × D × H in mm) | IR-Quattro HD AP: 123 × 123 × 64 | |
| Input voltage | 220-240 V, 50/60 Hz | |
| Power consumption | < 0,5 W | |
| Stand-by | ||
| Capacity, switching | Incandescent/halogen lamp load | 2,000 W |
| output 1: (COM 1/COM 2) | Fluorescent lamps, electronic ballast | 1,500 W |
| Fluorescent lamps, uncorrected | 1,000 VA | |
| Fluorescent lamps, series-corrected | 400 VA | |
| Fluorescent lamps, parallel-corrected | 1,000 VA | |
| Low-voltage halogen lamps | 2,000 VA | |
| LED < 2 W | 100 W | |
| 2 W < LED < 8 W | 300 W | |
| LED > 8 W | 600 W | |
| Capacitive load | 176 μF | |
| Capacity, switching | AC: max. 1 A @ 230 V AC / 240 W (cos phi = 1) | |
| output 2: (COM 2 only) | min 0.08 mA @ 230 V AC | |
| DC: max 2 A @ 24 V | ||
| min 10 mA @ 5 V, 50 mW | ||
| Time setting | 10 s to 60 min, | |
| Twilight setting | 2-2,000 lux | |
| Reach | Presence 9 × 9 m | |
| Max. 24 × 24 m | ||
| Angle of coverage | 360° | |
| Mounting height | 2,5-10 m | |
| IP rating | IP54 (surface-mounted version only) | |
| Temperature range | -20°C to +50°C | |
| Bluetooth frequency | 2,4-2,48 GHz | |
| Bluetooth transmitter power | 5 dBm/3 mW | |
Troubleshooting
| Malfunction | Cause | Remedy |
| Light does not switch ON |
|
|
| Light does not switch OFF |
|
|
| Sensor switches OFF despite persons being present |
|
|
| Sensor does not switch OFF quickly enough | Stay-ON time too long | Reduce stay-ON time |
| Sensor does not switch ON quickly enough when approached from the front | Reach is reduced when approached from the front |
|
| Sensor does not switch ON when persons are present despite it being dark |
|
|
| Sensor not connecting with the app | App or smartphone system crash | Restart mobile end device |
Support
Contact
www.steinel.de/contact
STEINEL Vertrieb GmbH
Dieselstraße 80-84
33442 Herzebrock-Clarholz
Tel: +49/5245/448-188
www.steinel.de





































