CG26ESL EGMC 2.66 Inch Electronic Shelf Label
User Manua
The contents of this manual will be modified without further notice.
- The operation temperature for the product is between 0℃~40℃.
- Operating in an environment with a temperature over 40℃ might cause the system to malfunction. However, this should be considered a normal phenomenon. Please do not operate under extreme temperatures.
Preface
We appreciate your purchase of the Electronic Shelf Label of the CGMC.
Please read all instructions thoroughly for a full understanding of the products’ features.
Note:
- The illustrations and images used in the manual are for reference only and may differ from the actual product.
Federal Communication Commission Interference Statement
This device complies with Part 15 of the FCC Rules. Operation is subject to the following two conditions: (1) This device may not cause harmful interference, and (2) this device must accept any interference received, including interference that may cause undesired operation. This equipment has been tested and found to comply with the limits for a Class B digital device, pursuant to Part 15 of the FCC Rules. These limits are designed to provide reasonable protection against harmful interference in a residential installation. This equipment generates uses and can radiate radio frequency energy and, if not installed and used in accordance with the instructions, may cause harmful interference to radio communications. However, there is no guarantee that interference will not occur in a particular installation. If this equipment does cause harmful interference to radio or television reception, which can be determined by turning the equipment off and on, the user is encouraged to try to correct the interference by one of the following measures:
- Reorient or relocate the receiving antenna.
- Increase the separation between the equipment and receiver.
- Connect the equipment into an outlet on a circuit different from that to which the receiver is connected.
- Consult the dealer or an experienced radio/TV technician for help.
FCC Caution: Any changes or modifications not expressly approved by the party responsible for compliance could void the user’s authority to operate this equipment.
This transmitter must not be co-located or operating in conjunction with any other antenna or transmitter.
Radiation Exposure Statement:
The product complies with the FCC portable RF exposure limit set forth for an uncontrolled environment and are safe for intended operation as described in this manual. The further RF exposure reduction can be achieved if the product can be kept as far as possible from the user body or set the device to lower output power if such function is available.
Safety Precautions
- Select the install location must be cautious. CGMC will not bear any responsibility if the user does not follow the correct device installing procedure.
- Do not drop, puncture or disassemble the device; otherwise, the warranty will be voided.
About the battery:
- Keep the battery out of the reach of infants or children.
- Please take out the coin-cell battery from the device and collect it again when recycling the device.
- Regulations must be observed when recycling or disposing of batteries.
Warranty
CGMC warrants to the original end-user customer that its Sable-branded products are free from defects in material and workmanship. Any claim alleging that any product fails to conform to the foregoing warranty may be made only by the customer who purchased such product and only while such customer owns such product. Subject to the conditions and limitations set forth below, Sable will, at its option, either repair or replace any part of its products that prove defective by reason of improper workmanship or materials. Repaired parts or replacement products will be provided by Sable on an exchange basis and will be either new or recertified. All recertified products have been tested to ensure that they are functionally equivalent to new products.
This limited warranty covers only repair, replacement, refunds or credit for defective Sable-branded products. Sable is not liable for and does not cover under warranty, any damages or losses of any kind whatsoever resulting from loss of, damage to, or corruption of, content or data or any costs associated with determining the source of system problems or removing, servicing or installing Sable products. This warranty excludes third-party software, connected equipment or stored data. Sable is therefore not liable for any losses or damage attributable to third-party software, connected equipment or stored data.
This limited warranty does not cover any damage to the product that results from improper installation, accident, abuse, misuse, natural disaster, insufficient or excessive electrical supply, abnormal mechanical or environmental conditions, or any unauthorized disassembly, repair or modification. This limited warranty shall not apply if: (i) the product was not used in accordance with any accompanying instructions, or (ii) the product was not used for its intended function. This limited warranty also does not apply to any product on which the original identification information has been altered, obliterated or removed, that has not been handled or packaged correctly, that has been sold as second-hand or that has been resold contrary to U.S. and other applicable export regulations.
Product Introduction
Overview
Front View
Rear View
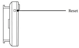
Left View

Key Type Reset
Description Insert a stretched paperclip or a small pin into the hole and press it once to reset the device. The screen will display the information.
Replace Battery
Install the new coin-cell battery as shown, ensuring the positive (+) ends are pointing up.
Please Note:
- Please replace both new CR2450 button batteries at the same time. Do not mix old and new batteries.
- Please use batteries of the same brand.

Screen Content

| Item | Description |
| FW Version | Firmware version |
| TX/ RX channel MAC Address ADC of Battery | TX, RX channel of Zigbee, default is T25 R25 |
| MAC Address of Zigbee | |
| Measurement value of the battery | |
| Mode | UO: Sleep mode U2: Operation mode |
Product Specifications
| Model | CG26ESL |
| Display Size | 2.66″ |
| Display Resolution | 296 x 152 pixels (125 dpi) |
| Display Colors | Black/ White/ Red |
| Status LED | Red/ Green/ Blue |
| Wireless Interface | Zigbee 2.4GHz |
| Battery | Changeable battery CR2450 X2 |
| Operating Voltage | 3V |
| Operating Temperature Dimension (W x H x D) | 0°C — 40°C 83.65 x 40.03 x 13.17 mm |
| Weight | 39g (including battery) |
| Certification | NCC, FCC |
CGMC Electronic Shelf Label User Manual



















