Dimplex ML2BT Convector Heater Instruction Manual
IMPORTANT: THESE INSTRUCTIONS SHOULD BE READ CAREFULLY BEFORE USE AND RETAINED FOR FUTURE REFERENCE
IMPORTANT SAFETY ADVICE
WARNING: To avoid danger of suffocation please remove all packaging materials particularly plastic and EPS and keep these away from vulnerable people, children and babies.
WARNING: To avoid the risk of accidental strangulation from the supply cord all children and vulnerable people must be supervised when in the vicinity of the product whether it is working or not.
DO NOT pull, carry or move the appliance using the power cable.
DO NOT use the heater in the immediate surroundings of a bath, a shower or a swimming pool.
DO NOT place the heater directly below a fixed socket outlet.
The socket-outlet must be accessible at all times to enable the mains plug to be disconnected as quickly as possible.
WARNING: In order to avoid overheating, do not cover the heater.
This heater carries the warning symbol indicating that it must not be covered.
DO NOT cover or obstruct the air inlet and outlet openings in any way.
DO NOT use this heater in small rooms when they are occupied by persons not capable of leaving the room on their own, unless constant supervision is provided.
IMPORTANT: If the mains lead of this appliance is damaged, it must be replaced by the manufacturer or its service agent or a similarly qualified person in order to avoid a hazard.
CAUTION: In order to avoid a hazard due to inadvertent resetting of the thermal cut-out, this appliance must not be supplied through an external switching device, such as a timer, or connected to a circuit that is regularly switched on and off by the utility.
This appliance can be used by children aged from 8 years and above and persons with reduced physical, sensory or mental capabilities or lack of experience or knowledge if they have been given supervision or instruction concerning the use of the appliance in a safe way and understand the hazards involved. Children shall not play with the appliance. Cleaning and user maintenance shall not be made by children without supervision.
Children of less than 3 years should be kept away unless continuously supervised.
Children aged from 3 years and less than 8 years shall only switch on/off the appliance provided that it has been placed or installed in its intended normal operating position and they have been given supervision or instruction concerning the use of the appliance in a safe way and understand the hazards involved. Children aged from 3 years and less than 8 years shall not plug in, regulate and clean the appliance or perform user maintenance.
CAUTION: Some parts of this product can become very hot and cause burns. Particular attention has to be given where children and vulnerable people are present.
DO NOT use this heater if it has been dropped.
DO NOT use if there are visible signs of damage to the heater.
Use this heater on a horizontal and stable surface with the feet securely fitted or fix to the wall as applicable.
WARNING: To reduce risk of fire, keep textiles, curtains, or any other flammable material a minimum distance of 1m from the appliance.
WARNING: Risk of fire – Do not use this appliance connected through an extension lead or any external switching device such as a plug in timer or remote control plug in adaptor. All heating appliances draw high current through the mains supply and any weakness in the design, connections or components in these devices can easily result in overheating of the connection points resulting in melting, distortion and even the risk of fire!
DO NOT use the heater on deep pile carpets or the long hair type of rugs, or less than 750mm (30”) away from any overhanging surface. Keep combustible materials such as drapes and other furnishings clear from the front, sides and rear of the heater. Do not use heater to dry your laundry.
DO NOT operate the heater with the mains lead overhanging the outlet grill.
DO ENSURE that the mains lead cannot be tripped over.
If the radiator is tipped over, unplug it and allow it to cool before standing it back up.
IMPORTANT: The feet supplied with the appliance must be used.
This instruction leaflet belongs to the appliance and must be kept in a safe place. If changing owners, the leaflet must be surrendered to the new owner.
Dimensions & Clearances

Technical Data
| Model Identifier(s): | ML2BT | ML3BT | ||
| Specification | ||||
| Electronic Time & temperature control | Yes | Yes | ||
| Heat Selection | Yes | Yes | ||
| Feet for portable use | Yes | Yes | ||
| Wall mountable | Yes | Yes | ||
| Heat output | ||||
| Nominal heat output | Pnom | 2.0 | 3.0 | kW |
| Minimum heat output (indicative) | Pmin | 1.2 | 2.0 | kW |
| Maximum continuous heat output | Pmax,c | 2.0 | 3.0 | kW |
| Auxiliary electricity Consumption | ||||
| At nominal heat output | elmax | 0.0 | 0.0 | kW |
| At minimum heat output | elmin | 0.0 | 0.0 | kW |
| In standby mode | elSB | 0.0 | 0.0 | kW |
| Type of heat output/ room temperature control | ||||
| Electronic room temperature control with 7 day programmable timer | Yes | |||
| Contact details | UK: Glen Dimplex UK Ltd., Millbrook House, Grange Drive, Hedge End, Southampton SO30 2DF ROI: Glen Dimplex Europe Limited, Airport Road, Cloghran, County Dublin, K67 VE08 | |||
Electrical Connection
WARNING: THIS APPLIANCE MUST BE EARTHED
The use of an extension lead or multi-plug adaptor is not advised when connecting this product to the mains.
Connection through these devices could lead to risk of overloading, overheating and even fire at the extension lead or adaptor due to inadequate connection quality.
This heater must be used on an AC (~) supply only and the voltage marked on the heater must correspond to the supply voltage. This heater is fitted with a rewirable plug incorporating a 10/13 amp fuse. In the event of replacing the fuse in the plug supplied, an equivalent 10/13 amp fuse approved by ASTA to BS 1362 must be used. If any other type of plug is used, a 15 amp fuse must be fitted in the plug, the adaptor, or at the distribution board.
IMPORTANT: If the plug is not suitable for your socket, the 13 amp plug should be removed. Before wiring the appropriate plug, please note that the wires in this mains lead are coloured in accordance with the following code:
GREEN AND YELLOW: EARTH
BLUE: NEUTRAL
BROWN: LIVE
Connect the GREEN AND YELLOW wire to the terminal marked ‘E’ or by the earth symbol
, or coloured GREEN or GREEN AND YELLOW. Connect the BROWN wire to the terminal marked ‘L’ or coloured RED. Connect the BLUE wire to the terminal marked ‘N’ or coloured BLACK.
General
The heater is designed for operation on an AC electricity supply, and is suitable for use in domestic dwellings and similar indoor locations.
The heater is supplied with feet and wall brackets to provide the customer with the flexibility to choose between portable or installed use. A rotary selector switch provides the ability to select between Lo and High heat output, each model contains a seven day electronic timer with an integrated room sensing thermostat. It is supplied with a cord and plug and is ready for use once the feet have been fitted or the heater is mounted correctly.
Assembly and Positioning
The ML Convector can be used as a portable heater or can be installed.
For portable use, always ensure that the heater is stood on a firm, level base near to, but not directly underneath a suitable mains supply socket.
Ensure that curtains and furniture are not positioned close to the chosen position.
We recommend that the heater should be wallmounted in rooms where children may be left unattended, see ‘Important Safety Advice’.
If young children, the aged or infirm are likely to be left in the vicinity of the heater, we advise that the adequate precautions should be taken. We recommend that a guard be fitted to ensure contact with the heater is avoided and objects cannot be inserted into the product.
WARNING: PLEASE ENSURE THE MINIMUM CLEARANCE DIMENSIONS INDICATED IN Fig.1 ARE MAINTAINED
WALL MOUNTING
The brackets for wall mounting the heater are supplied fitted to the base of the heater. To wall mount the appliance, first remove the brackets as follows:
Lay the heater on its back and remove the screw holding the brackets in place. The brackets can then be removed from the heater.
Select a suitable position on a wall, close to a suitable power socket, making sure that the minimum clearances outlined in
Fig.1 are maintained.
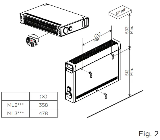
The position of the top two wall mounting brackets can be marked using the dimensions included in Fig.2 for reference.
Drill and fix the top two brackets to the wall using suitable screw fixings.
Locate the heater on the top brackets and allow it to hang in place. Fit the bottom bracket into the slot in the heater and then mark and fix it to the wall.
Note: The heater should be hanging on the top brackets with the bottom bracket in position before the bottom bracket is fixed to the wall.

PORTABLE USE
WARNING The heater must only be operated with the feet securely fitted and in the upright position.
Never use the heater as a portable appliance without the feet securely fitted using the screws provided.
To assemble the feet, lay the heater on its back and remove the wall mounting brackets – see Fig.3, these can be discarded or stored for future use.
Remove the two foot fixing screws, highlighted in Fig.3. Assemble the feet by pressing them firmly into the convector body as indicated in Fig.3, the foot should clip into position.
Secure using the foot fixing screw,
Return the convector to the upright position, The appliance is now ready for use.

Operation
IMPORTANT – OBJECTS OR CLOTHING MUST NOT BE PLACED ON THIS HEATER.
Before using the heater ensure that all warnings and instructions have been carefully read.
CONTROLS

FIRST TIME STARTUP
To activate the heater, after installation or assembly, simply plug it in. You will hear an audible beep and the standby button will illuminate. This indicates the appliance is energised and ready for use.

STANDBY MODE
Standby mode is an inactive mode where the appliance will not emit any heat. In this mode the appliance is plugged in ready for use. Power is going to the product but the product is not turned ON. This mode is indicated by a red standby button/indicator.
The screen will be off and no other buttons will be visible, see Fig. 5.
To activate the appliance you can choose to press the Standby button or pair to a remote wireless connection via the Dimplex
app. The icon will change to green and the screen and buttons will illuminate, see Fig. 6.
For first time startup, the product will start with default settings of 25°C in ECO Mode and Manual operation.

If not the first time startup, and when the product is subsequently turned on, the product will return to the last used settings for Heat Mode, Temperature Setting, Sound ON/OFF. If wireless connection was selected before, then it will attempt to re-pair, see Remote Wireless Connectivity/Pairing.
If the product is powered on and the standby button is pressed, there is a countdown timer from 10 to 1 before shutting down.
When disconnected from the power supply (plugged out/power cut/tilt switch) then reconnected and turned back on, the product will return to last used settings for Heat Mode, Temperature Setting, Sound ON/OFF. Wireless connection will attempt to re-pair.
Note: The element has been coated with a protective film which will burn off during the first few minutes of use, this may cause a small amount of fuming. This is quite normal – the fumes are non-toxic and will quickly disappear.
We recommend that you open a window to ventilate the room when using the heater for the first time.
Screen & Button sleep mode
If no buttons have been pressed for 20 seconds, the display screen and buttons will enter sleep mode, all buttons except the Standby will disappear. Selected screen icons will remain visible to indicate the active mode but the brightness of the screen icons will dim 50%. To reactivate buttons, place your hand on the display.
The appliance will continue to function as required once the unit is in sleep mode.
REMOTE WIRELESS CONNECTIVITY PAIRING
The appliance can be controlled remotely using a smartphone or similar device. To facilitate this remote operation, it is necessary to first download the Dimplex
app. The app is available on both android and IOS devices and is available free from the Apple or Android App store. The App is compatible with Android version 4.3 and above and IOS version 5 and above.
Once the App has been downloaded it is necessary to pair the appliance with the smartphone to complete the remote setup. Please follow the steps shown below:
- Launch the Dimplex Remo app on the smartphone or similar device.
- To initiate pairing mode on the appliance press and hold the
key for two seconds. The wireless connectivity logo
will start flashing, see Fig. 7. This indicates that the device is advertising to be paired with the app. – This step is only required for initial pairing; in future the product will automatically search for a previously connected device for 200 seconds. If previous device is not found after 200 seconds the appliance will then exit pairing mode and the wireless connectivity icon will turn off. - On the smart phone the appliance should now be visible on the pairing screen, this will be a unique 6 digit code but will always start with CV, for example ‘CV7214’ and the ‘Appliance type: C4’. Select this device and press connect to initiate pairing.

- Once the paring process is complete the app can be used to control the appliance.
- Once paired successfully the wireless connectivity logo will stop flashing and will stay solid.
OPERATIONAL MODES
The appliance has the following operational modes:
- Manual mode, this is a continuous active heating mode.
It is possible to select a heat mode and a desired room temperature and the appliance will continue to control the room until the mode is changed or the appliance is switched off. - Boost mode, this is a time limited active heating mode. The appliance will operate continuously for the preselected time duration.
- Auto mode, this is a scheduled heating mode, the time, heat mode and room temperature can be programmed for up to four heating periods per day, for all seven week days.
ACTIVE MODE SELECTION
With the appliance activated, press the
key to toggle through the operational modes. Select the desired mode using the
key.
Note: If an Auto program has not been set, the Auto mode will not be visible when toggling through the options.

HEAT SELECTION
There are three heat modes to select from, these can be selected during the Operational mode setup:

Intelligent (Eco) Heat: The product will automatically regulate the output power depending on requirements.
In this mode the product operates at full power, however the output of the product is automatically reduced and regulated as the room temperature approaches the desired level. This mode optimises the energy usage by calculating the most efficient and effective way to achieve the desired temperature setting. The desired room temperature can be adjusted at any time during operation by pressing the appropriate button.

Low Heat: In this mode, the appliance will operate at a low heat setting, the appliance will automatically cycle at this setting to achieve and maintain the desired room temperature.

High Heat: In this mode, the appliance will operate at a high heat setting, the appliance will automatically cycle at this setting to achieve and maintain the desired room temperature.
Note: If the temperature set is lower than the room temperature then the product will not emit heat.
The temperature display will be flashing to indicate this. The product is still actively controlling the room temperature and will automatically turn back on if additional heat is required, i.e. the room temperature lowers or the set temperature is increased higher than the room temperature.
| Heat settings | |||
| Low (w) | High (w) | Eco (w) | |
| ML2BT | 800 | 2000 | 2000 or 1200 or 800 |
| ML3BT | 1000 | 3000 | 3000 or 2000 or 1000 |
SETTING THE TIME
To set the time press and hold ‘ P ’ key for two seconds, the digits form 1 to 7 representing week days will begin flashing, see Fig. 4. Select the proper day using the + or – keys (1 corresponds to Monday, 2 to Tuesday etc.), then press the
key to confirm the day. Hour digits will start flashing. Select the proper hour using the + or – keys and then press the
key. Minute digits will start flashing. Select the proper minute using the + or – keys and then press the
key. The time is set.
SETTING THE ‘DESIRED’ ROOM TEMPERATURE
The temperature is set using the temperature increase ‘ + ’ and temperature decrease ‘ – ’ buttons, see Fig.4. The room temperature can be set in the range between 5°C to 30°C.
Please note the temperature indicated on the display represents the desired room temperature. It does not display the actual room temperature.
MANUAL MODE
To select Manual mode navigate to the mode using the
key and confirm selection using the
Key, see Fig. 8. Use the + or – keys to select the desired heat setting (see HEAT SELECTION for details) and confirm the selection by pressing the
key. The desired room temperature can be adjusted at any point during the Manual mode operation, see Setting the Desired temperature.
FROST PROTECTION (MANUAL MODE)
Within the manual mode the appliance has a frost protection function. This setting is useful in areas such as garages to assist in the prevention of frost damage.
To activate this mode, while in MANUAL MODE set the temperature to its minimum setting ‘5°C’, the frost protection symbol
will illuminate. When set, the heater will cycle ON and OFF to try to maintain a temperature of approximately 5°C and help protect against frost conditions.
Note: This appliance cannot guarantee total frost protection, external factors such as room size, outside temperature, room insulation properties, etc. will effect the reliability of this mode.
BOOST MODE OPERATION
The boost function allows the appliance to be operated for a predetermined time period. There are three options to choose from, 30 minutes, 1 hour or 2 hours. During a boost period the appliance will operate in Eco mode. The desired room temperature can be adjusted at any stage during the period. At the end of the Boost period the appliance will enter the standby mode.
To select Boost mode, navigate to the mode using the
key and confirm selection using the
Key.
Highlight the desired Boost duration using the + or – keys and confirm the selection by pressing the
key. The desired temperature can be adjusted at any point during the Manual mode operation, see Setting the Desired temperature.
When the boost mode is active, the display will show the boost mode symbol, timer period selected, time remaining and the desired set temperature, see Fig. 9.

AUTO MODE OPERATION
To select Auto mode navigate to the mode using the
key and confirm selection using the
Key, see Fig. 8.
The time and day must be set beforehand.
SETTING AN AUTO PROGRAM
Up to four programs (ON/OFF) can be set for each day.
A room temperature and heat mode can be specified for each heating program.
The program can be set with the following steps:
- Press the program button. The weekdays numbered 1-7 will be displayed at the top of the screen and the actual day will be flashing.
- Use the + or – keys to move to the day where you wish the program to begin, selected day will be flashing. Press
to start programming for your chosen day. - The program start time will need to be set first. When the hours are flashing on the time display, use the + or – buttons to select the hour you wish the program to start. Press
. Now the minutes will flash on the time display. Again, use the + or – buttons to select the minute you wish the program to start. Press to confirm. - Select the desired heat mode and confirm using the
key. - Select the desired room temperature to be maintained during the period. Use the + or – keys to increase/ decrease to your desired room temperature and confirm the selection using the
key. - Select the program end time. Follow the same procedure described in step 3 to set program end time.
Steps 3-6 can be repeated for setting up to 4 programs per day.
Notes
It is possible to set up just 1 program or up to 4 programs per day, please note the following:
- When setting up an auto program/schedule, It is possible to skip through the programs by pressing the P button while the hours are flashing on the time display during setting up the program start time.
- It is not possible to run a program from start time until midnight (00:00), it must end at or before 23:59 so that the next day program can begin at or after 00:00.
- It is possible to overlap programs. Example: Program 1 could be 13:00-17:00 at 22°C, Program 2 could be 15:00-22:00 at 25°C. In this case, the product will run at 22°C from 13:00 until 15:00, at 15:00 program 2 will operate but only if set temperature of program 2 is greater than set temperature of program 1. If set temperature of program 2 is lower than program 1, then program 1 will run until 17:00 and then program 2 will run from 17:00 until 22:00.
- It is possible to make a mistake while setting up the programs. If this happens you can hold the ” – ” button for 2 seconds to escape without saving changes or hold the ” + ” button for 2 seconds to save what you have programmed and then go back to edit the mistake.
- It is possible to manually change the set room temperature of any auto program during the program by using the + or – keys. This will have a temporary effect and will not change the program settings.
COPYING & PASTING AN AUTO PROGRAM
If you have set up an auto program for any one day and would like to run the same program another day, you can copy this day to the five weekdays, the two weekend days or any other day. To do this, move to the day that you want to copy, press and hold the
button, “COPY” should appear on the screen. Now use the + or – buttons to select the day/group of days you want to paste to. Press and hold the
button and “PSTE” should appear on the screen. Now your program has been copied.
ADAPTIVE START
Adaptive start is a function available for Auto mode that ensures that the room temperature has reached the desired room temperature at the beginning of the programmed on period. it will cause the product to switch on before the scheduled on time to preheat the room.
This is a self learning function and will automatically calculate the time it needs to switch on at based on the desired room temperature and its current environment.
Example:
In the timer menu, a set room temperature of 22°C is specified between 07:00 and 09:00. The current room temperature is 17° C. The heating
device switches on early so that the specified room temperature of 22° C is reached by 07:00.
- Use the
key to select the operating mode AUTO - Press and hold the
& + keys for two seconds - Adaptive Start icon
will appear on the screen - Activate / deactivate the function by repeating the button press for two seconds.
Note: The appliance may not switch on early for the first set auto program but the appliance will self learn and switch on early for subsequent programs.
KEY LOCK
It is possible to lock the controls so that the settings cannot be changed. To activate the key lock press and hold both ‘ P ’ and
buttons together for 2 seconds, see Fig. 10. The Key Lock icon ‘
’ will appear on the display. To unlock the control repeat the action by pressing both ‘ P ’ and
buttons for 2 seconds.
Note: The Standby button will still work when the Key Lock is active. If the standby button is used again to re energise the appliance then the last heat settings and key lock will still be active.

SOUND ON/OFF
The heater creates the audible beeps when pressing the buttons. To turn off the sound press and hold ‘ P ’ and ‘ – ’ buttons together for 2 seconds, see Fig. 11. To turn on the sound you have to repeat the action.

Sound OFF – product will not ‘beep’ on button presses and icon
will be illuminated.
Sound ON – product will ‘beep’ on button presses and icon will be Off.
SWITCHING BETWEEN TEMPERATURE UNITS
To switch temperature from degrees Celsius to degrees Fahrenheit and reverse press and hold ‘ P ’ and ‘ + ’ buttons together for 2 seconds, see Fig. 12.

Safety Features
This appliance incorporates a number of safety devices. In addition to the ‘Important Safety Advice’ section your attention is drawn to the following:
SAFETY OVERHEAT PROTECTION
The heater is fitted with a thermal cutout which will switch off the heater should it overheat for any reason. If the thermal cutout operates, unplug the unit immediately. Allow the heater to cool down completely and remove the cause of the over heating.
TILT SWITCH
The product is fitted with a safety tilt switch which will prevent the heater from working if the heater is accidentally tipped over in any direction.
If the heater is tipped over while it is hot, disconnect the power and allow it to cool, then stand the heater back upright.
Reconnect the power – normal operation should be resumed.
Note: The tilt switch mechanism makes a muted rattling noise when the product is moved or tilted, this is not a fault, this noise is normal.
Additional
IMPORTANT NOTES
Although this heater is manufactured to comply with the relevant safety standards, certain types of carpets could become discoloured by the temperatures under a portable heater. If you are concerned about this, we recommend that you contact the carpet manufacturer for guidance.
Alternatively, stand the heater on a suitable base to shield the carpet – call our Helpline for further advice.
You may notice some parts of the element appearing to be hotter from time to time because of the variable airflow through the heater. This does not cause a safety hazard.
The heat outlet grille may become discoloured with use – this is caused by airborne pollution and is not a fault.
STORAGE
If the radiator is not required for long periods, for example during the summer, it should be stored in a dry place and preferably covered to prevent the accumulation of dirt and dust.
If left unplugged for a long duration, resetting the time and the programmed settings will be necessary.
CLEANING
WARNING – ALWAYS DISCONNECT THE POWER SUPPLY BEFORE CLEANING THE HEATER.
Do not use detergents, abrasive cleaning powder or polish of any kind on the body of the heater.
Allow the heater to cool, then wipe with a dry cloth to remove dust and a damp cloth (not wet) to clean off stains. Be careful not to allow moisture in to the heater.
RECYCLING
For electrical products sold within the European Community.
At the end of the electrical products useful life it should not be disposed of with household waste.
Please recycle where facilities exist. Check with your Local Authority or retailer for recycling advice in your country. If you don’t intend to keep the packaging of this product for later use or storage, please dispose of it in an eco-friendly way, please dispose of it in your recycling bin or nearest recycling facility, thank you.
Guarantee
What does a Dimplex Guarantee cover?
Dimplex products deliver reliable service for normal, household use in domestic settings. All Dimplex products are individually tested before leaving the factory.
If you are a consumer and you experience a problem with your Dimplex product, which is found to be defective due to faulty materials or workmanship within the Guarantee Period, this Dimplex Guarantee will cover repair or – at the discretion of Dimplex – replacement with a functionally equivalent Dimplex product.
Your product is under Guarantee for 1 year from the date of purchase or the date of delivery of the product, if later. The 1 year Guarantee is extended for an additional 2 years when you register the product with Dimplex, within 28 days of purchase. If you do not register the product with Dimplex within 28 days, your product will remain warrantied for 1 year only. To validate your extended Guarantee register with us online at: http://register.dimplex.co.uk. N.B. Each qualifying product needs to be registered with Dimplex individually. Please note that the extended Guarantee is only available in the UK and Ireland.
The Dimplex Guarantee is conditional upon you providing the original purchase receipt as proof of purchase. Please therefore retain your receipt as proof of purchase.
If you do experience a problem with your Dimplex product please call the Helpline on +44 [0]344 879 3588 or visit https://www.dimplex.co.uk/support. For ROI please email [email protected] or call +353(0)1 842 4833. We will need details of your Dimplex product and a description of the fault which has occurred. Once we receive your information and proof of purchase we will contact you to make the necessary arrangements. If your Dimplex product is not covered by this Dimplex Guarantee there may be a charge to repair your product. However, we will contact you for agreement to any charges before any chargeable service is carried out.
What is not covered by a Dimplex Guarantee?
The Dimplex Guarantee does not cover any of the following:
Any fault or damage to your Dimplex product due to faulty materials or workmanship occurring outside the Guarantee Period.
Normal wear and tear including parts that might wear out over time or consumables, such as filters.
Any fault or damage occurring to any pre-owned Dimplex product or to any other equipment or property.
Accidental damage to your Dimplex product or damage to your Dimplex product from external sources (for example, transit,
weather, electrical outages or power surges).
Fault or damage to your Dimplex product which is:
- Not due to faulty materials or workmanship or which is due to circumstances outside Dimplex’s control.
- Caused by use of your Dimplex product for anything other than normal domestic household purposes in the country where it was purchased.
- Caused by any misuse, abuse or negligent use of the Dimplex product, including but not limited to any failure to use it in accordance with the Operating Instructions supplied with the product.
- Caused by any failure to assemble, install clean and maintain your Dimplex product in accordance with the Operating Instructions supplied with the product unless this was carried out by Dimplex or its authorised dealers.
- Caused by repairs or alterations to your Dimplex product not carried out by Dimplex service personnel or its authorised dealer(s).
- Caused by use of any consumables or spare parts for your Dimplex product which are not Dimplex – specified.
Terms and Conditions
The Dimplex Guarantee is valid for 1 calendar year, plus 2 if registered, from the date of purchase of your Dimplex product from a recognised retailer in the country of purchase and use, or the date of delivery of the product if later, always provided the original receipt has been retained and is produced as proof of purchase.
You must provide to Dimplex or its authorised agents on request the original receipt as proof of purchase and – if required by Dimplex – proof of delivery. If you are unable to provide this documentation, you will be required to pay for any repair work required.
Any repair work under the Dimplex Guarantee will be carried out by Dimplex or its authorised dealer(s) and any parts that are replaced will become the property of Dimplex. Any repairs performed under the Dimplex Guarantee will not extend the Guarantee Period.
The Dimplex Guarantee does not entitle you to recovery of any indirect or consequential loss or damage including but not limited to loss or damage to any other property.
The Dimplex Guarantee is in addition to your statutory rights as a consumer and your statutory rights are not affected by this Dimplex Guarantee.
Contact Dimplex A brand of the Glen Dimplex UK Limited, trading as Glen Dimplex Heating & Ventilation
If you have any questions about what the Dimplex Guarantee covers and does not cover or how to claim under the Dimplex Guarantee, please contact us:
Glen Dimplex Heating & Ventilation, Grange Drive, Hedge End, Southampton SO30 2DF
Telephone: 0344 879 3588
Visit: www.dimplex.co.uk
[c] Glen Dimplex
All rights reserved. Material contained in this publication may not be reproduced in whole or in part, without prior permission in writing of Glen Dimplex.
Designed to provide gentle background heating, to take the chill off a room. Ideally to be used with a principal source of heating.
![]()
These products comply with all the required European and UK Product Safety, Electromagnetic Compatibility and Environmental Standards.
They are fully compliant with the LVD, EMC, RoHS and Eco Design Directives and Regulations.




















