KOHLER 72582, 72584, 32806 Artifacts Double Wall Sconce

PREPARATION
- Record your model number for future reference.
- DANGER: Risk of electric shock. To avoid electric shock, the power must be turned off at the circuit breaker or fuse box before beginning the installation procedure.
- DANGER: Risk of electric shock. To avoid electric shock, the outlet box must be properly grounded.
- Important Information. Inspect the product for any damage. This product is for indoor use
Please see next page for a larger installation image
TOOLS AND MATERIALS NEEDED
- Phillips & Flathead Screwdriver

- Wire Cutter/stripper

- Electrical Current Teste

- Electrical Tape

FIXTURE INSTALLATION


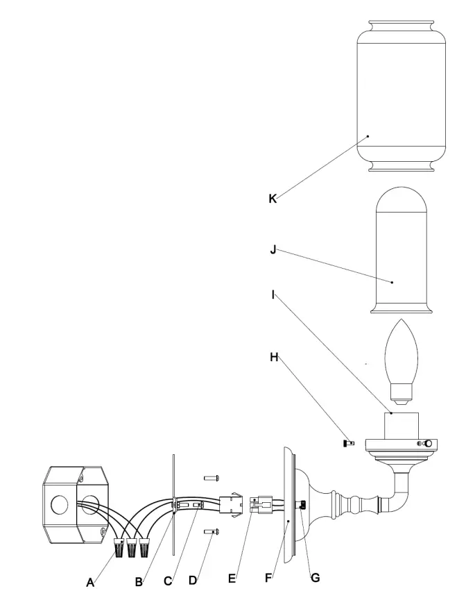
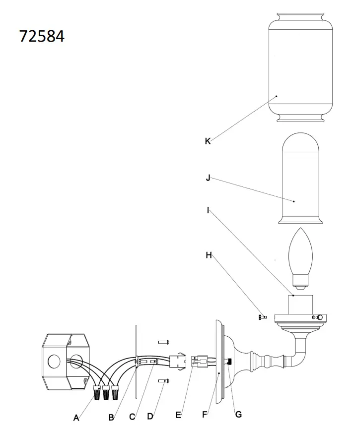
- Remove the fixture and parts bag(s) from the carton. Put them onto a clean and soft cloth to protect finish. Confirm all parts are included.
- Loosen knurled nuts (G) and then remove mounting plate (B) from canopy (F).
- Attach mounting plate (B) onto outlet box with screws (D). Ensure ground screw (C) is attached to mounting plate (B).
- NOTICE: To avoid short circuit, make sure wires are not exposed. Fasten fixture green or bare ground wire to the green or bare copper wire in outlet box with wire nut (A) or fasten onto ground screw (C) on mountingplate.
- NOTICE: To avoid short circuit, make sure wires are not exposed. Fasten fixture white wire to the white wire in outlet box with wire nut (A). Wrap the wire connector with electrical tape so that the tape seals the end ofwire nut (A), see diagram 1.
- NOTICE: To avoid short circuit, make sure wires are not exposed. Fasten the fixture black wire to the black wire in outlet box with wire nut (A). Wrap the wire connector with electrical tape so that the tape seals theend of wire nut (A), see diagram 1.
- Insert quick connector (E) into the opposing quick connector end.
- Tuck wires carefully inside outlet box. Attach the canopy (F) onto mounting plate (B) with knurled nuts (G).
- NOTICE: Do not exceed recommended wattage. Rated Max 40 W, Type B. (Bulb(s) not included).
- Install bulb to the socket (I).
- Remove screws (H), place inner glass (J) over the bulb and then install outer glass (K) over the inner glass (J) with screws (H). NOTICE: Tightening the screws (H) too tight will cause the glass crack.
- Repeat steps 9-11 until all shades are installed
- Restore power to circuit at breaker or fuse box.
CLEANING: Please clean fixture with a soft and dry cloth ONLY. Clean glass with a mild soap.
Model
72584

72582

32806-SC03

USA/Canada: 1-800-4 KOHLER 1473943-2_B
www.kohler.com





















