
USER MANUAL
Portable Thermometers
Models TM20, TM25, and TM26
TM20 Thermometer
Standard Probe
TM25 Thermometer
Penetration Probe 
TM26 Thermometer Penetration Probe NSF Certified
Sound Additional User Manual translations available at www.extech.com
Introduction
Thank you for selecting the Extech Portable Thermometer. The TM series thermometers are ideal for home use. Measure the temperature of air, liquid, paste, or semi-solid materials. The TM20 uses a standard temperature probe while the TM25 and TM26 are equipped with a penetration probe for insertion into materials under test. The TM26 functions the same as the TM25 but the TM26 includes a sound reflector for amplifying its beeper and is NSF certified, meeting the requirements for use in the food service industry. These devices are shipped fully tested and calibrated and, with proper use, will provide years of reliable service. Please visit our website (www.extech.com) to check for the latest version of this User Guide, Product Updates, Product Registration, and Customer Support.
Specifications
| Display | Multi-function LCD |
| Measurement range | TM20: -40 to 158 o F (-40 to 70 o C) TM25/TM26: -40 to 392 o F (-40 to 200 o C) |
| Resolution | o 0.1 o F/ C |
| Accuracy | ± 0.9 o F: 32 o to 75 o F ±1.8 o F: -4 o to 31 o F and 76 o to 120 o F ± 3.6 o F: -40 o to -5 o F and 121o to 392 o F ± 0.5 o o C: 0 to 24 oC ± 1.0 o C: -20 o to -1 o C and 25o to 49 o C ± 2.0 o C: -40 o to -21 o C and 50 o to 200 o C |
| Protection safety rating | IP 65 rating on meter and sensors |
| Low battery indication | Battery symbol appears on the LCD |
| Power supply | CR2032 3V button battery |
| Meter Dimensions | 3.4(L) x 2.2(H) x 1.2(D)” / 86(L) x 57(H) x 30(D) mm |
| Cable length | TM20 cable: 9.6’ (2.9m) TM25/TM26 cable: 5’ (1.5m) |
Safety
International Safety Symbols
This symbol, adjacent to another symbol or terminal, indicates the user must refer to the manual for further information.
This symbol, adjacent to a terminal, indicates that, under normal use, hazardous voltages may be present
Double insulation
General Safety
- Please read all safety and instructional information before using these products.
- These products are intended for home use only on air, liquid, pastes, and semi-solid materials.
- Unauthorized repairs, modifications, or other changes to the products are not supported.
- This product is not intended for use in medical practice.
Caution! Risk of Injury!
- Keep these products, their probes, and batteries out of the reach of children and pets
- Use extreme caution when handling the probes
- Batteries must not be placed in fire, short-circuited, taken apart, or discharged. Risk of explosion!
- Batteries can be fatal if swallowed. Contact medical emergency personnel if batteries are swallowed.
- Batteries contain harmful acids. Low batteries should be changed as soon as possible to prevent damage caused by leaking batteries.
Product Safety!
- Do not place these products near extreme temperatures, vibration, or shock
- Only the probes are heat resistant to 392 F 70 o F (200 o C) for the TM25/TM26 probe and to 158 o C) for the TM20 probe, not the meters themselves
- Never hold a probe directly in or over fire
- Do not immerse the meters in any liquid
Description
Meter Description
| 1. Meter 2. LCD display 3. Power ON/OFF button 4. MAX/MIN button 5. ALARM/SET button | 6. Temperature units/up arrow button 7. Meter stand/base 8. Sensor cabling 9. Sensor tips 10. Probe mounting bracket |

Note: Wall mount access hole, magnet, and sound reflector (TM26 only) on rear of the instrument, not pictured.
Display Symbols
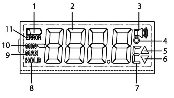
| 1. Battery power status 2. Measurement reading 3. Alarm armed symbol 4. Temperature Degrees symbol 5. High Alarm symbol 6. Low Alarm symbol | 7. C or F unit of measure 8. Data (Display) Hold 9. MAX reading display 10. MIN reading display 11. ERROR (Battery voltage too low to display accurate readings) |

Operation
Display Protective Foil
The meter’s display is shipped with a protective foil covering. Please remove carefully before use.
Powering the meter
Open the battery compartment by loosening the two screws located on the back of the meter (on either side of the magnet). Insert a new CR2032 3V lithium button battery and close the cover. If a battery is already installed, remove the insulation strip so that the battery can make proper circuit contact.
The instrument is now ready for use. Press the ON/OFF key once to power the meter. The meter’s previous settings will be preserved.
Selecting o C/ F units of measure Press the oo C/ F key to select the desired temperature unit of measure.
MAX-MIN and HOLD Function
- To freeze (hold) the displayed reading, press the MAX/MIN key. The current reading will be held on the display and the HOLD display icon will be visible.
- Press MAX/MIN again to view the Maximum reading captured since the last reset; the MAX indicator will be visible along with the MAX reading.
- Press MAX-MIN again to view the Minimum (MIN) temperature reading; the MIN icon will be visible along with the lowest reading captured since the last reset.
- To reset the MAX and MIN values press and hold the MAX-MIN button for 3 seconds while the MAX or MIN icon is visible.
- To return to normal operation press the MAX/MIN key again; the HOLD-MIN-MAX indicators should now be off.
Sound Reflector (TM26 only)
The TM26 includes a sound reflector on the rear of the unit. This device amplifies the audible beeper so as to be heard from greater distances.
NSF Certified (TM26 only)
The TM26 is NSF Certified, meeting the requirements for use in the food service industry.
Temperature Alarms
Set high/low alarm limits as described below. The meter will then audibly and visually alert the user if either limit is exceeded:
- Press the ALARM/SET button once from the normal operating mode; the upper limit value and its symbol (up arrow) will flash.
- Set the temperature limit by pressing the ▲ button (press and hold for fast scrolling).
- Now use the MAX/MIN button to activate/deactivate the alarm (the alarm symbol will appear in the upper right-hand corner of the LCD when activated).
- Verify the setting by pressing ALARM/SET.
- Perform the same steps for the low alarm limit.
After setting the alarms, the upper and lower limit symbols (▲▼) will be displayed on the LCD indicating that an upper and a lower alert value has been set. If the measured temperature exceeds either limit, the alarm beeper will sound for 1 minute. The alarm beeper icon and the corresponding arrow will flash. Pressing any button will switch off the alarm. When the temperature returns to the desired range the audible alarm will stop sounding. The arrow will remain to flash however to show that the temperature was higher or lower than a set value at least once in the past. Press the ▲ button to switch OFF the flashing arrow.
Two-year Warranty
Teledyne FLIR LLC warrants this Extech brand instrument to be free of defects in parts and workmanship for two years from date of shipment (a six-month limited warranty applies to sensors and cables). To view the full warranty text please visit: http://www.extech.com/support/warranties.
Calibration and Repair Services
Teledyne FLIR LLC offers calibration and repair services for the Extech brand products we sell. We offer NIST traceable calibration for most of our products. Contact us for information on calibration and repair availability, refer to the contact information below. Annual calibrations should be performed to verify meter performance and accuracy. Product specifications are subject to change without notice. Please visit our website for the most up-to-date product information: www.extech.com.
Contact Customer Support
Customer Support Telephone List: https://support.flir.com/contact
Calibration, Repair, and Returns: [email protected]
Technical Support: https://support.flir.com
Copyright © 2021 Teledyne FLIR LLC
All rights reserved including the right of reproduction in whole or in part in any form
www.extech.com
Downloaded from Arrow.com.
TM2x-en-US_V2.2 11/21

















