maxim integrated DS9092 Connector Probe Driver Instructions
PACKAGE DESCRIPTION



FEATURES
- Simple, low-cost metal stampings form a read/write probe for the iButton® family
- Probe guides the entry of the iButton
- iButton slides over the surface to self-clean contacts
- Accessible shallow probe cavity simplifies removal of debris such as mud
- Flexible design supports panel mount or hand-grip mount with optional tactile feedback
- Bright tarnish-resistant metal surface provides millions of operations
- Panel-mount probe, pre-wired for easy installation
- Hand-grip probe mates to RJ-11 jack for quick installation
- DS9092 probes both F3 and F5 cans. Extra consideration is required for operation with the F3 can. The attachment method of the F3 can must not interfere with the cavity dimensions of the probe, otherwise the data signal will not make contact.
ORDERING INFORMATION
- DS9092+: Panel-mount probe, solid face
- DS9092T#: Panel-mount probe with tactile feedback
DS9092GT#: Hand-grip mount with tactile feedback
+Denotes a lead(Pb)-free/RoHS-compliant product.
# Denotes an RoHS-compliant device that may include lead(Pb) that is exempt under the RoHS requirements.
DESCRIPTION
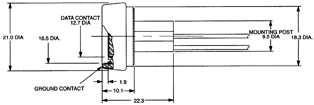
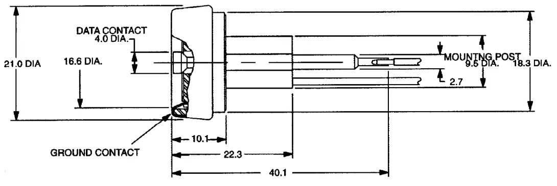
The DS9092 iButton Probe provides the electrical contact necessary for the transfer of data to and from the DS19xx family of iButtons. The round probe shape provides a self-aligning interface that readily matches the circular rim of the iButton’s MicroCan package. Metal contacts resist wear and are easy to keep clean.
The DS9092 is available with a flat faceplate (standard) or with optional tactile feedback. The center contact of the standard reader has no moving parts, making this a more rugged interface for harsh environments. This type of probe is best suited for designs where the iButton is brought into contact with the reader.
The tactile feedback probe is ideal for situations where the iButton is stationary and the movable reader is brought in contact with it.
Both types of probes are available in a panel-mount version. The tactile feedback probe is also available in a grip-mount version. The panel-mount probes are fastened behind the panel with a push-on type spring nut.
The two 15 cm 22AWG wires are provided for easy connection to the system microcontroller. The handgrip mount probe comes attached to a 10 cm handle and 1-meter cable which is terminated with an RJ11 jack.
STANDARD PROBE Figure 1
OPTIONAL TACTILE FEEDBACK Figure 2
OPTIONAL HAND-HELD WAND Figure 3
REVISION HISTORY
REVISION DATE | DESCRIPTION | PAGES CHANGED |
| 8/09 | Added plus signs (+) and # in the Ordering Information to indicate which products have been converted into lead-free or RoHS-compliant devices. | 1 |
Support
iButton is a registered trademark of Maxim Integrated Products, Inc For pricing, delivery, and ordering information, please contact Maxim Direct at 1-888-629-4642, or visit Maxim’s website at www.maximintegrated.com.
Maxim cannot assume responsibility for use of any circuitry other than circuitry entirely embodied in a Maxim product. No circuit patent licenses are implied. Maxim reserves the right to change the circuitry and specifications without notice at any time. The parametric values (min and max limits) shown in the Electrical Characteristics table are guaranteed. Other parametric values quoted in this data sheet are provided for guidance.
Maxim Integrated 160 Rio Robles, San Jose, CA 95134 USA 1-408-601 1000 3 Maxim Integrated 160 Rio Robles, San Jose, CA 95134 USA 1-408 601-1000 3
©2009 Maxim Integrated
The Maxim logo and Maxim Integrated are trademarks of Maxim Integrated Products, Inc.




















