BZBGEAR BG-BWEB-S Desktop HD Video Camera User Manual
Attention
This manual briefly introduces the camera functions, installation and operation. Please read carefully before application.
- Application instructions
To prevent damages to this camera or any products connected to it, this product can only be used within the specified parameters: - Do not expose the camera to rain or moisture;
- To prevent the risk of electric shock, do not disassemble the camera, only qualified technical personnel to perform installation and maintenance;
- Do not use the camera in situations which is excess of the specified temperature, humidity or power specifications;
- When cleaning the camera lens, wipe with a soft and dry cloth. If with too much dust, wipe gently with a mild detergent. Do not use strong or corrosive detergent, so as not to scratch the lens, affecting the image effect.
- Electrical Safety
This product must be installed in strict compliance with local electrical safety standards. - Caution during transport
Avoid heavy pressure, severe vibration, and moisture damage to the product in transportation, storage and installation. - Careful installation
The camera body is made of organic material, please keep way from corrosive liquid, gas or solid material. - Do not disassemble
We are not responsible for any damage caused by unauthorized disassembling. - Magnetic field interference
The electromagnetic field at a specific frequency may affect the camera image. As this is a Class A product, in household environment it may cause radio interference, users need to take appropriate measures.
Quick Installation Instructions
Product Interfaces



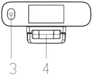
Picture 1.1 Interfaces Instructions
1. Lens(fixed) | 3.USB2.0 cable outlet hole(unplug) | 5.Screw hole for tripod |
| 2. Audio IN (built in pick-up) | 4. Flexible clip/base | 6.mounting and locating holes |
Usage of the Product
- Attach the webcam to LCD screen, the top of laptop, desk or tripod
- Connect the USB cable with computer, video conference devices or other USB input
- Open the video software, select the video device to get video
Product Introduction
Product Dimension


Accessories
- User Manual x 1
- Warranty Card x 1
Product Features
BG-BWEB-S / BG-BWEB-W offers excellent performance. It utilizes advanced ISP processing algorithms to provide vivid images with evenly clear brightness, strong color layering, high resolution, and fantastic color rendition. Easy and convenient to install and maintain, stable and reliable.
Advantages
- High-definition Image: high quality CMOS sensor. Supports resolutions up to 1920×1080 with framerate up to 30fps. Provides clear, vivid HD
- Multiple installation: Flexible installation options, the device is equipped with a clamp which enables it to be installed on a LCD screen, the top of a laptop or directly on a desk or
- Wide Application: Personal Video Platform, Videoconferencing, Cooperative Office
- Convenient operation: No need to download driver or extra software, it is used-conveniently and
Features
- USB2.0: Easy plug and play, power and upgrade support
- Multiple Lens Optional: 80 degree, 120 degree wide angle lens with free distortion.
- Advanced Focus Technology: VCM motor auto focusing lens and advanced focus algorithm to auto focus fast, accurately and stably.
- Built-in Mic: Integrated microphones for clear and natural stereo sound without external pickup equipment.
- Multiple Video Encoding: Support H.264, H.26, .MJPEG, YUV video encoding which enables the video to play more fluently.
Specification
Specification | BG-BWEB-S | BG-BWEB-W |
| Camera Parameter | ||
Image Sensor | high quality CMOS sensor | |
Effective Pixels | 2.07MP,16:9 | |
Video Resolution | USB Output: 960×540/320×180/432×240/640×360/800×448/800×600/864×480/960×720/1024×576/ | |
View Angle | 88°(D) /80°(H)/ 50°(V) | 113°(D) /120°(H)/ 57°(V) |
Focal Length | 3.24mm | 2.90mm |
Minimum Illumination | 0.5Lux(F1.8, AGC ON) | |
Focus | Manual | |
AF | Fixed | |
Backlight contrast | On/off | |
Exposure | Auto / Manual | |
Video Adjustments | Brightness, Definition, Saturation, Contrast, white balance, gain, anti-flicker, low brightness compensation adjustable | |
SNR | >50dB | |
Output Parameter | |
Video Output | USB2.0 (Power, upgrade support) |
| Video Compression | MJPEG,YUV2,H.264,H.265 |
| Audio Input | Inbuilt omni-directional mics |
Other Parameter | |
Input Voltage | 5V |
| Input Current | 500mA (max) |
Power | 2.5W(max) |
| Store Temperature | -10℃ ~ +60℃ |
Store Humidity | 20% ~ 95% |
| Working Temperature | -10℃ ~ +50℃ |
Working Humidity | 20% ~ 80% |
| Dimension | 102mm*46mm*30mm |
Weight | 0.15kg |
| Accessories | User Manual, Warranty card |
Maintenance and Troubleshooting
Maintenance
- If camera is not used for a long time, please turn off power adapter switch and AC plug.
- Use soft cloth or tissue to clean the camera cover.
- Use soft cloth to clean the lens; Use neuter cleanser if bad smeared. Do NOT use strong or corrosive cleanser.
Trouble shooting
No video output & video staccato
- Make sure camera USB Cable is connected properly, USB Port is normal, Power indication light on.
- Disconnect the camera with computer and re-connect by USB.
- Make sure video software selects the right device.
Warranty
BZBGEAR wants to assure you peace of mind. All BZBGEAR cameras and camera-related products include our Stress-Free Three-Year Warranty.
For complete warranty information, please visit BZBGEAR.com/warranty.
For questions, please call 1.888.499.9906 or email [email protected].
Mission Statement
BZBGEAR manifests from the competitive nature of the audiovisual industry to innovate while keeping the customer in mind. AV solutions can cost a pretty penny, and new technology only adds to it. We believe everyone deserves to see, hear, and feel the advancements made in today’s AV world without having to break the bank. BZBGEAR is the solution for small to medium-sized applications requiring the latest professional products in AV.
We live in a DIY era where resources are abundant on the internet. With that in mind, our team offers system design consultation and expert tech support seven days a week for the products in our BZBGEAR catalog. You’ll notice comparably lower prices with BZBGEAR solutions, but the quality of the products is on par with the top brands in the industry. The unparalleled support from our team is our way of showing we care for every one of our customers. Whether you’re an integrator, home theater enthusiast, or a do-it-yourselfer, BZBGEAR offers the solutions to allow you to focus on your project and not your budget.
All the contents in this manual and its copyright are owned by BZBGEAR. No one is allowed to imitate, copy, or translate this manual without BZBGEAR’s permission. This manual contains no guarantee, standpoint expression or other implies in any form. Product specification and information in this manual is for reference only and subject to change without notice.
All rights reserved. No reproducing is allowed without acknowledgement.



















