SALAMANDER 537SLPM2B Synergy Triple Panel Mount
BEFORE YOU BEGIN
- This TV mount is intended for use with Flat-Panel TV 60” or smaller and a maximum weight of 175lbs.
- Use with products heavier than the maximum weight or larger than the size indicated may result in instability causing possible injury.
- Carefully inspect the mount for shipping damage or missing parts. If any damage is apparent or you are missing parts contact Salamander Designs at 800-535-5659.
- Read ALL instructions before assembly. If you have any questions, please contact your installation contrator or Salamander Designs.
- Mounts must be attached as specified in assembly instructions. Improper installation can result in serious personal injury.
PARTS

SYNERGY TRIPLE MOUNT HARDWARE BAG -PHK-516

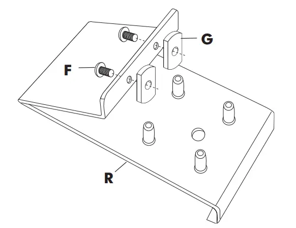
INSTALL BASE PLATES
- A. Loosely assemble 2 flat nuts (G) with 2 button head screws (F) through each base plate (R).

- B. Secure the base plates (R) to the two rear center posts with the 2” button head screws (K) and washers (L) Tighten firmly w ith hex k ey (J).

NOTE:
If installing mount to an assembled triple unit, remove the two rear center connector bolts. Replace with base plates (R).
INSTALL POSTS

- A. Align thru holes in posts over the pins in the base plates. Guide the flat nuts (G) through the front of the posts. If necessary, use rubber mallet or other device to ensure the posts fits snugly against the top surface. Tighten the screws (F) w ith hex key (H)
- B. Assemble 8 flat nuts (G) with 8 set screws (M) and drop into the left and right sides of each post.

- C. Position the set screws (M) into the thru holes and tighten through to the base plate pins. This will lock the posts to the top of your Synergy cabinet. Tighten firmly w ith hex key (O).

ATTACH TV BRACKETS TO TV
- Refer to Step 2 of the Flexo 100/L Manual.
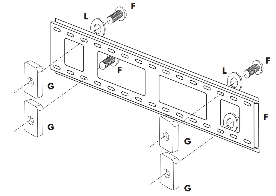
ASSEMBLE POST BRACKET
- Assemble 1 Button Head Screw with Washer through the indicated slot (4 places) with flat nuts loosely on each.
- Thread the screws loosely to the nuts just enough to ensure the nut does not fall off.

INSTALL POST BRACKET WIRE MANAGERS & CAPS
- Slide the post bracket into the posts as shown below, guiding the flat nuts (G) to ensure all parts slide freely.
- Position the post bracket vertically along the posts where you wish the center of the television to rest
- Tighten button head screws (F) with hex key (H) to firmly set the bracket onto the posts

HANG TV

- Pull on black cord to unlock Click Fasteners and hook TV Brackets (II) onto Wall Bracket (I) from top.
- Center TV Brackets (II) on Wall Bracket (I) and push black Click Fasteners up into lock position.
- Install Pad Lock (IV).






















