Janome 202441009 Ruler Foot for High Shank Instruction Manual
Ruler Foot for High Shank
Use
The ruler foot can be used for free motion quilting along your ruler.
It can also be used to sew straight lines, curved lines, and complex quilting lines such as circles and feathers.
Note
- Before sewing your project, sew trial stitches on a piece of scrap fabric that is the same as that used in your projec
How to use a ruler foot
- Remove the presser foot and presser foot holder from your machine.
- Attach the ruler foot to the machine. (Fig. A)

- Set the machine to the free motion mode. (Fig. B)

- For machines with a built-in automatic presser foot lowering function, set [Auto Down] to [OFF] in the settings screen.
*This makes it easier to adjust the position of the ruler before starting sewing. - Select straight stitch in center position.
- Pull the bobbin thread to the right side of the fabric at the sewing start position. Lightly hold the thread that was pulled up, and sew 4 reinforcement stitches at the sewing start position to prevent fraying.
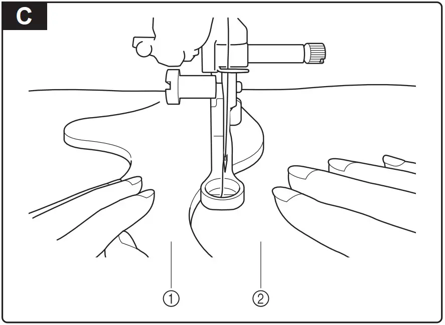
- Sew using your own ruler (5 mm thickness). (Fig. C)
- Ruler
- Fabric

- Using the foot controller will allow you to use both hands freely, making work easier.
- Adjust the height of the ruler foot depending the fabric being used.
- When finished sewing, sew 4 reinforcement stitches just as at the start of sewing, and then clean up the thread.
Follow the instructions in the Operation Manual of your sewing machine for these steps.
To get useful information, please visit us:























