
ASSEMBLING & INSTALLATION INSTRUCTIONS
The drawing shown may not exactly match the product enclosed.
However, the installation instructions do apply to this product.
***WARNING! SHUT POWER OFF AT FUSE OR CIRCUIT BREAKER.
***ATTENTION! COUPER LE COURANT AU FUSIBLE OU UN DISJONCTEUR.
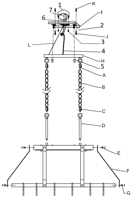
ASSEMBLING THE FIXTURE (Fig.1)
- Shut off the power at the circuit breaker box. Remove old fixture and all hardware from Junction Box. Carefully unpack your new fixture and lay out all the parts on a clear area. Take care not to lose any small parts necessary for installation.
- Attach the Mounting Plate to the junction box using two junction box screws as shown. The side of the mounting plate marked “GND” must face out. The junction box is not included. And then reinforce it with (J) and (K).
- Preassemble all split parts by way of knob, including but not limited to(A),(B) ,(C), (D), (E),(F), (G).
- Wire rope hooks(L) can be used to assist installation
- Attach the back plate(I) of the lamp body (H) onto the mounting plate, and lock it securely with the Mounting Nut.
CONNECTING THE WIRES (Fig.2)
- Connect the electrical wires as follows. Connect the Black wire from the fixture to the black house (hot) Wire. Connect the white wire from the fixture to the white (neutral) house wire. Make sure all wire nuts are secured. You may wrap the connections with electrical tape. If your outlet box has a ground wires (green or bare copper) connect fixture’s ground wire to it. Otherwise attach the bare copper fixture wire to the green ground screw on the mounting plate.
- Tuck the wire connections neatly into the wall junction box.
Your installation is now complete. Return power to the junction box and test the fixture.
FIG.1

- Box (Not included)
- Mounting Plate
- Box Screw
- Fixture Wire
- Mounting Nut
- Supply Ground Wire
- Supply Wire
FIG.2
FIXTURE WIRES Black or Smooth

HOUSE WIRES Black(Hot)
FIXTURE WIRES White or Ribbed

HOUSE WIRES White(Neutral)
FIXTURE WIRES Bare Copper (Ground)

HOUSE WIRES Green or Bare Copper(Ground)
MADE IN CHINA CA2326-CH















