Item Number: A04597
Instruction Manual
A04597 Creamy 4-Light Farmhouse Linear LED Kitchen Island Light
WARNING (To reduce the risk of fire, electric shock, or personal injury):
- We suggest installation by a licensed electrician.
- Please read the instruction carefully and save it as you may need it at a later time.
- Before you start, NEVER attempt any work without shutting off the electricity until the work is done.
» Go to the main fuse, or circuit breaker, box in your home.
Place the main power switch in the “OFF” position.
» Place the wall switch in the “OFF” position. - Mounting surface should be clean, dry, flat, strong enough and 1/4” larger than the canopy on all sides.
Any gaps between the mounting surface and canopy exceeding 3/16” should be corrected as required. - Make sure that the ceiling or wall can stand the weight of the lamp before installation.
- Make sure the voltage you are using is 120V . The maximum wattage is 40W per bulb.
- Keep the lamp away from acidic and alkaline substances in case of damaging the surface of the lamp.
- When replacing bulbs, you should turn off or unplug the lamp and you must wait until it is cool as bulbs get hot quickly.
- The safety instructions appearing in this manual are not meant to cover all possible conditions that may occur. It must be understood that common sense, caution and care must be used with any electrical products.
IMAGE FOR FINISHED PRODUCT:

TOOLS REQUIRED (NOT INCLUDED):
Before starting assembly and installation please prepare the needed tools as below picture

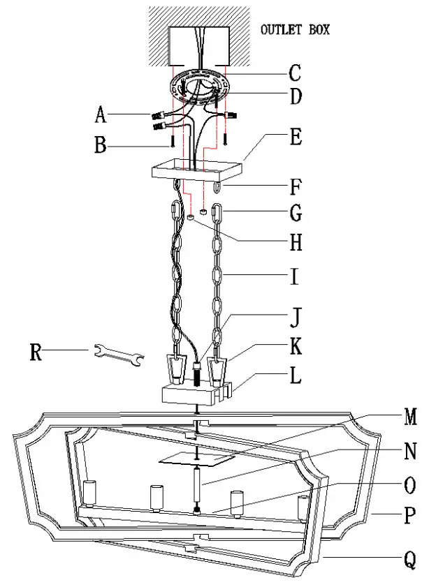
PARTS TYPE & QTY INCLUDING:

| (C) Mounting plate assembly (1) (D) Green ground screw (1) (E) Canopy (1) (F) Loop (2) (G) Quick link (4) (H) Ball knob (2) (I) Chain (2) (J) Nut (1) | (K) Square loop (2) (L) Upper cover (1) (M) Lower cover (1) (N) Stem (1) (O) Fixture body (1) (P) Upper frame (1) (Q) Lower frame (1) |
ACCESSORIES & QTY ENCLOSED:
(A) Wire connector (3)
(B) Mounting screw (2)
(R)Wrench (1)
ASSEMBLY & INSTALLATION INSTRUCTIONS:
- Carefully remove the fixture from the carton and check that all parts and accessories are included as shown in the above illustration.
- Make pre-installation
Step A1 » Carefully pass the fixture wires through stem (N), then screw stem (N) onto fixture body (O).
Step A2 » Pass wires through lower cover (M), lower frame (Q) and upper frame (P). Then secure them with upper cover (L) and nut (J). Tighten with a wrench (R) until snug.
Step B1 » By measuring, determine the correct number of links needed for proper hanging height. Using the chain pliers, disconnect and discard the unwanted part.
Step B2 » Attach quick links (G) to chains (I), loops (F) and square loops (K).
Step B3 » Carefully weave the fixture wires through chain (I) in and out of every other link, then pass wires through loop (F) and canopy (E).
Gently pull the wires to ensure the wires are not stressed. - Turn off power
Before you start the installation, NEVER attempt any work without shutting off the electricity until the work is done.
» Go to the main fuse, or circuit breaker, box in your home.
Place the main power switch in the “OFF” position.
» Place the wall switch in the “OFF” position. - Make installation
Step C1 » Unscrew ball knobs (H) and carefully remove mounting plate assembly (C).
Step C2 » Carefully pass the supply wires from the outlet box through mounting plate (C).
Secure mounting plate (C) to the outlet box with mounting screws (B).
Step C3 » If needed, shorten the length of fixture wires. At this point, the remaining wire length measured above mounting plate assembly (C) is at least 6″.
Step C4 » Make wire connections
Connect wires as below wires connection shown. PLEASE NOTE THAT GROUND WIRE IS BARE COPPER WIRE, NEVER CONNECT OTHER WIRES TO GROUND WIRES.
Connect ground wires according to the below chart
Connect wires according to the below chartConnect Black or Red Supply Wire to: Connect White Supply Wire to: Black White *Parallel cord ( round & smooth ) *Parallel cord ( square & ridged ) Clear,Brown,Gold or Black without tracer Clear,Brown,Gold or Black with tracer Insulated wire ( other than green ) with copper conductor Insulated wire ( other than green ) with silver conducto
*Note: When parallel wires ( SPT I & SPT II ) are used. The neutral wire is square shaped or ridged and the other wire will be round in shape or smooth ( see illus. )
Twist wires together with plastic wire connectors until tightly joined, and wrap each connector with approved electrical tape. Be sure that no wire strands are exposed and then carefully tuck all wires into the outlet box.
Step C5 » Raise canopy (E) to the ceiling and secure canopy (E) in place by tightening ball knobs (H) onto the pre-assembled mounting screws on mounting plate assembly (C).
NOTE: canopy (E) should be snug against the ceiling with ball knobs (H).
If not, remove canopy (E), adjust the threaded length of pre-assembled mounting screws on mounting plate assembly (C):
• First, unscrew the pre-assembled hex nuts.
• Then, screw the pre-assembled mounting screws in or out of mounting plate (C).
• When the secure length is achieved, tighten the pre-assembled hex nuts and back to Step C5.
Step C6 » Install bulbs (not included) (Please do not exceed the maximum wattage recommended on the socket.) - Check everything is already installed properly, then you could turn on the light. Enjoy!
ORDERING PARTS
Keep this sheet for future reference in case you need to order replacement parts. All parts for this fixture can be ordered from the place of purchase. Be sure to use exact wording from illustration when ordering parts.
CLEANING
To clean, wipe the fixture with a soft cloth. Do not use abrasive materials such as scouring pads or powders, steel wool or abrasive paper.
Step A1 » Carefully pass the fixture wires through stem (N), then screw stem (N) onto fixture body (O).
Step B1 » By measuring, determine the correct number of links needed for proper hanging height. Using the chain pliers, disconnect and discard the unwanted part.
Step C1 » Unscrew ball knobs (H) and carefully remove mounting plate assembly (C).
Connect wires according to the below chart
*Note: When parallel wires ( SPT I & SPT II ) are used. The neutral wire is square shaped or ridged and the other wire will be round in shape or smooth ( see illus. )

















