Spacetronik SPE-114M Electric Desk Frame

Technical data

Accessory list
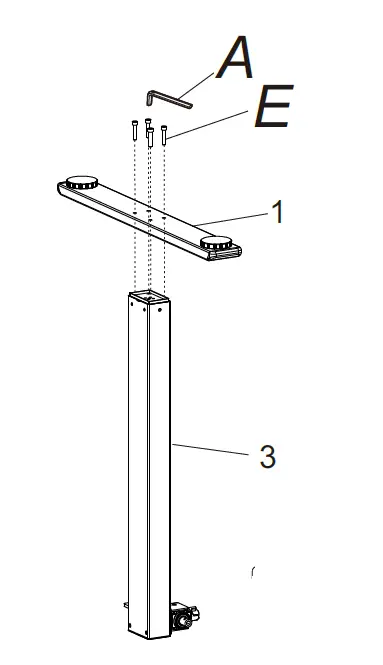
Attention: The drawings below are only for reference which might be slightly different from the actual object, please in kind prevail. Any tools missing or installation problems, please contact the customer service firstly.
Part list

Installation instruction

Installation Steps


- Loosen the 4 screws on the beam (4) with a 4 x 4 wrench (A ), and then pull the beam apart


- Install (5) & (2)(3), following picture1 shows first, then picture 2, use 2.5*2.5 wrench(A) to tighten.
Do not rotate the drive rod more than a third of a turn. - Install(6)&(2)(3), use 5*5 wrench(A) to tighten the screws(C).



- Adjust the beam and transmission rod
Install the desk, crank and crank holder


Warning
- There’s spare parts in the package, which will lead to asphyxia if swallowed by accident. Please keep out of the reach of children for the spare parts.
- Make sure you have read and comprehend the manual for installation. Please contact the specialized persons if there’s any confusion in the steps.
- Children are forbidden to play on the product because of unforeseen action when playing, so any dangerous consequences caused by this improper action will not be on manufacturers.
- This appliance can be used by children aged from 8 years and above and persons with reduced physical, sensory or mental capabilities or lack of experience and knowledge if they have been given supervision or instruction concerning use of the appliance in a safe way and understand the hazards involved. Children shall not play with the appliance.
- Children must not perform cleaning and user maintenance without supervision.
- Please make sure there is no hazard sources in your operating environment. e.g., do not litter the tools around. Always be careful to treat the packaging materials in order to avoid any possible danger, e.g. plastic bag may lead to choking hazard to children.
- Keep the original package of the equipment if necessary in case of the future use in transportation.
Made in ChRL for
DMTrade Mikolaj Tomaszewski
Wisniowa 36, 64-000 Kośscian, Poland
NIP: PL6981681757
email: s[email protected]
phone 1: +48 661 082 052
phone #2: +48 726 082 052
www.ergoline.spacetranik.eu





Do not rotate the drive rod more than a third of a turn.




Install the desk, crank and crank holder




















