Roth Shunt
Installation 
Living full of energy
Installation Shunt
Technical data
Roth shunt, thermostatic valve HVAC no. 7466210040
Max. operating temperature 80°C
Max. differential pressure 50 kPa
Max. operating pressure 6 bar
Pump Wilo Para 15-130/6-43/SC-12
Regulation range 20-60°C (+/- 5°C)
Primary side connection EURO ¾” external
Union for manifold 1” internal
Material Brass CW614
Gasket EPDM
Medium Water containing up to 50% glycol
Electrical connection 230V with earthing
The shunt is mounted directly on the manifold by tightening the two 1” unions. Remember to use the gaskets supplied.
The shunt is mounted on the left, but it can be reversed by undoing all unions and rotating the pump.
The supply valve can be mounted horizontally, see the drawing. Reuse the end cap on the vertical ¾“ connection.

Mount the thermostat on the supply valve and the sensor in the sensor pocket. Set the thermostat to the preferred supply temperature.
Lock the thermostat to an appropriate regulation range by pressing the white locking catches on the sensor element. See the scale in Figure 4.
Venting and flushing the installation of air must be done one circuit at the time. Connect the filling hose to the upper manifold valve and the discharge hose from the lower manifold valve and flush to the drain. Refill the installation to desired pressure when all air has been removed.
The pump is set to I, II or III, depending on the size of the system and heat loss in the building.
Faults that may prevent the pump operating (such as blockages) are indicated by the LED lights up red. If a fault is indicated, rectify the fault and await automatic restart of the pump.
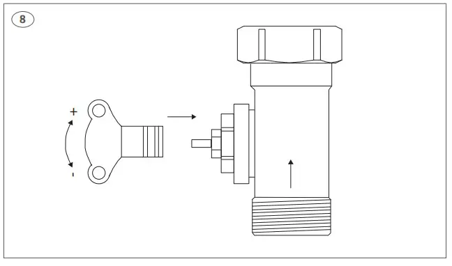
The supply valve can be adjusted to a smaller water volume using the key supplied.

Accessories:
Control:
Roth weather compensation HVAC no. 7466210827

ROTH DANMARK A/S
Centered 5
3600 Frederiksen
Txf. +45 4738 0121
E-mail: [email protected]
roth-danmark.dk
ROTH SVERIGE AB
Höjdrodergatan 22
212 39 Malmö
Tel. +46 40534090
Fax +46 40534099
E-mail: [email protected]
roth-sverige.se
ROTH NORGE AS
Billingstadsletta 19
1396 Billings tad
Tel. +47 67 57 54 00
E-mail: [email protected]
roth-norge.no
facebook.com/Rathmore
ROTH UK Ltd
1a Berkeley Business Park
Wainwright Road
Worcester WR4 9FA
Phone +44 (0) 1905 453424
E-Mail [email protected]
[email protected]
[email protected]
[email protected]
roth-uk.com
ROTH FINLAND OY
Raaseporintie 9, Tale 2
10600 Timisoara
Push. +358 (0)19 440 330
S-postil: [email protected]
roth-finland.fi
facebook.com/RothFinland
Installation 2-vejs shunt_17RN1000.221_20220706















